Operation CHARM: Car repair manuals for everyone.
Manuals through 2025 now available!

Our trusted friends have launched a new website named LEMON, which has newer manuals. It also contains all the CHARM manuals.

LEMON is the spiritual successor to CHARM, I recommend you try it!

Link: lemon-manuals.la or lemon-manuals.org.ua

(Some people have issue connecting. LEMON is investigating. For now, use Firefox or change your DNS server)

Or, hide this message: temporarily or permanently

Wiper Switch: Testing and Inspection





WIPER AND WASHER: WIPER SWITCH: INSPECTION

1. INSPECT WIPER SWITCH





(a) Check the resistance.

(1) Measure the resistance according to the value(s) in the table below.

Standard resistance:

Front Wiper Switch






If the result is not as specified, replace the wiper switch.

Standard resistance:

Front Washer Switch






If the result is not as specified, replace the wiper switch.

Standard resistance:

Rear Wiper and Washer Switch






If the result is not as specified, replace the wiper switch.

(b) Check the intermittent operation.

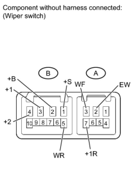
(1) Connect the positive (+) voltmeter terminal to terminal 3 (+1) of the B connector and the negative (-) voltmeter terminal to terminal 2 (EW) of the A connector.

(2) Connect the positive (+) battery lead to terminal 2 (+B) of the B connector and the negative (-) battery lead to terminals 2 (EW) of the A connector and 1 (+S) of the B connector.

(3) Turn the wiper switch to the INT position.

(4) Connect the positive (+) battery lead to terminal 1 (+S) of the B connector for 5 seconds.

(5) Connect the negative (-) battery lead to terminal 1 (+S) of the B connector. Operate the intermittent wiper relay and check the voltage between terminals 3 (+1) of the B connector and 2 (EW) of the A connector.

Standard:

Refer to the illustration below.





If the result is not as specified, replace the windshield wiper switch.

(c) Check the operation (front washer).

(1) Turn the wiper switch off.

(2) Connect the positive (+) battery lead to terminal 2 (+B) of the B connector and the negative (-) battery lead to terminals 1 (+S) of the B connector and 2 (EW) of the A connector.

(3) Connect the positive (+) voltmeter terminal to terminal 3 (+1) of the B connector and the negative (-) voltmeter terminal to terminal 2 (EW) of the A connector. Turn the washer switch on and off, and check the voltage between terminals 3 (+1) of the B connector and 2 (EW) of the A connector.





If the result is not as specified, replace the windshield wiper switch.