Operation CHARM: Car repair manuals for everyone.
Manuals through 2025 now available!

Our trusted friends have launched a new website named LEMON, which has newer manuals. It also contains all the CHARM manuals.

LEMON is the spiritual successor to CHARM, I recommend you try it!

Link: lemon-manuals.la or lemon-manuals.org.ua

(Some people have issue connecting. LEMON is investigating. For now, use Firefox or change your DNS server)

Or, hide this message: temporarily or permanently

Cylinder Block Assembly: Testing and Inspection





2ZR-FE ENGINE MECHANICAL: CYLINDER BLOCK: INSPECTION

1. INSPECT CONNECTING ROD THRUST CLEARANCE

(a) Install the connecting rod cap Reassembly.

(b) Using a dial indicator, measure the thrust clearance while moving the connecting rod back and forth.





Standard thrust clearance:

0.160 to 0.342 mm (0.0063 to 0.0135 in.)

Maximum thrust clearance:

0.342 mm (0.0135 in.)

If the thrust clearance is greater than the maximum, replace the connecting rod. If necessary, replace the crankshaft.

2. INSPECT CONNECTING ROD OIL CLEARANCE

(a) Clean the crank pin and bearing.

(b) Check the crank pin and bearing for pitting and scratches.

(c) Lay a strip of Plastigage on the crank pin.





(d) Check that the front mark of the connecting rod cap is facing forward.





(e) Install the connecting rod cap Reassembly.

NOTICE:
Do not turn the crankshaft.

(f) Remove the 2 bolts and connecting rod cap Disassembly.

(g) Measure the Plastigage at its widest point.





Standard oil clearance:

0.030 to 0.062 mm (0.0012 to 0.0024 in.)

Maximum oil clearance:

0.07 mm (0.0028 in.)

If the oil clearance is greater than the maximum, replace the connecting rod bearings. If necessary, inspect the crankshaft.

NOTICE:
Completely remove the Plastigage after the measurement.

HINT
If replacing a bearing, replace it with one that has the same number as its respective connecting rod cap. Each bearing's standard thickness is indicated by a 1, 2, or 3 mark on its surface.

Standard connecting rod large end bore diameter:





Standard connecting rod bearing thickness:





Standard crankshaft pin diameter:





3. INSPECT CYLINDER BLOCK FOR WARPAGE

(a) Using a precision straightedge and feeler gauge, measure the warpage of the surface that is in contact with the cylinder head gasket.





Maximum warpage:

0.05 mm (0.0020 in.)

If the warpage is greater than the maximum, replace the cylinder block.

4. INSPECT CYLINDER BORE

(a) Using a cylinder gauge, measure the cylinder bore diameter at positions A and B in both thrust and axial directions.





Standard diameter:

80.500 to 80.513 mm (3.1693 to 3.1698 in.)

Maximum diameter:

80.633 mm (3.1745 in.)

If the average diameter of the 4 positions is greater than the maximum, replace the cylinder block.

5. INSPECT PISTON SUB-ASSEMBLY WITH PIN

(a) Using a gasket scraper, remove the carbon from the piston top.





(b) Using a groove cleaning tool or broken ring, clean the piston ring grooves.





(c) Using a brush and solvent, thoroughly clean the piston.





NOTICE:
Do not use a wire brush.

(d) Using a micrometer, measure the piston diameter at right angles to the piston pin hole, and at a point 10.3 mm (0.4055 in.) from the base of the piston head.





Standard piston diameter:

80.471 to 80.491 mm (3.1681 to 3.1689 in.)

If the diameter is not as specified, replace the piston.

6. INSPECT PISTON OIL CLEARANCE

(a) Subtract the piston diameter measurement from the cylinder bore diameter measurement.

Standard oil clearance:

0.009 to 0.042 mm (0.0004 to 0.0017 in.)

Maximum oil clearance:

0.09 mm (0.0035 in.)

If the oil clearance is greater than the maximum, replace all pistons. If necessary, replace the cylinder block.

7. INSPECT RING GROOVE CLEARANCE

(a) Using a feeler gauge, measure the clearance between a new piston ring and the wall of the ring groove.





Standard ring groove clearance:





If the groove clearance is not as specified, replace the piston.

8. INSPECT PISTON RING END GAP

(a) Using a piston, push the piston ring a little beyond the bottom of the ring travel, 50 mm (1.97 in.) from the top of the cylinder block.





(b) Using a feeler gauge, measure the end gap.





Standard end gap:





Maximum end gap:





If the end gap is greater than the maximum, replace the piston ring. If the end gap is greater than the maximum, even with a new piston ring, replace the cylinder block.

9. INSPECT PISTON PIN OIL CLEARANCE

(a) Using a caliper gauge, measure the piston pin bore diameter.





Standard piston pin bore diameter:

20.006 to 20.015 mm (0.7876 to 0.7880 in.)





If the diameter is not as specified, replace the piston.

(b) Using a micrometer, measure the piston pin diameter.





Standard piston pin diameter:

20.004 to 20.013 mm (0.7876 to 0.7879 in.)





If the diameter is not as specified, replace the piston pin.

(c) Using a caliper gauge, measure the connecting rod small end bore diameter.





Standard connecting rod small end bore diameter:

20.012 to 20.021 mm (0.7879 to 0.7882 in.)





If the diameter is not as specified, replace the connecting rod.

(d) Subtract the piston pin diameter measurement from the piston pin bore diameter measurement.

Standard oil clearance:

-0.001 to 0.005 mm (-0.00004 to 0.0002 in.)

Maximum oil clearance:

0.008 mm (0.0003 in.)

If the oil clearance is greater than the maximum, replace the connecting rod. If necessary, replace the piston and piston pin as a set.

(e) Subtract the piston pin diameter measurement from the connecting rod small end bore diameter measurement.





Standard oil clearance:

0.005 to 0.011 mm (0.0002 to 0.0004 in.)

Maximum oil clearance:

0.014 mm (0.0006 in.)

If the oil clearance is greater than the maximum, replace the connecting rod. If necessary, replace the connecting rod and piston pin as a set.

10. INSPECT CONNECTING ROD BOLT

(a) Using vernier calipers, measure the diameter of the unthreaded portion of the the bolt.





Standard diameter:

6.6 to 6.7 mm (0.2598 to 0.2638 in.)

Minimum diameter:

6.4 mm (0.2520 in.)

If the diameter is less than the minimum, replace the connecting rod bolt.

11. INSPECT CONNECTING ROD SUB-ASSEMBLY

(a) Using a connecting rod aligner and feeler gauge, check the connecting rod alignment.





(1) Check for misalignment.

Maximum misalignment:

0.05 mm (0.0020 in.) per 100 mm (3.94 in.)

If the misalignment is greater than the maximum, replace the connecting rod.

(2) Check for twist.





Maximum twist:

0.15 mm (0.0059 in.) per 100 mm (3.94 in.)

If the twist is greater than the maximum, replace the connecting rod.

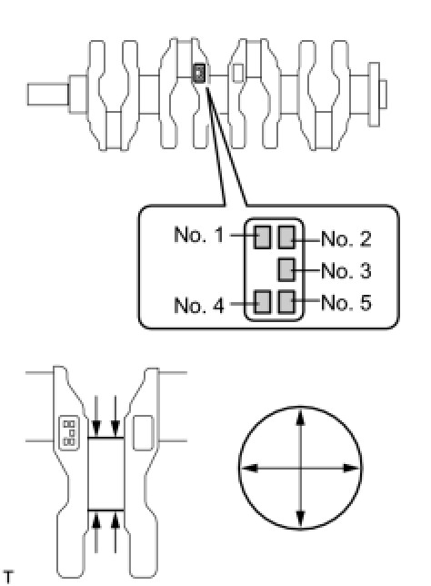
12. INSPECT CRANKSHAFT

(a) Using a dial indicator and V-blocks, measure the circle runout as shown in the illustration.





Maximum circle runout:

0.03 mm (0.0012 in.)

If the runout is greater than the maximum, replace the crankshaft.

(b) Using a micrometer, measure the diameter of each main journal.





Standard diameter:

47.988 to 48.000 mm (1.8893 to 1.8898 in.)

If the diameter is not as specified, check the crankshaft oil clearance.

(c) Check each main journal for taper and distortion as shown in the illustration.

Maximum taper and distortion:

0.004 mm (0.0002 in.)

If the taper and distortion are greater than the maximum, replace the crankshaft.

Standard diameter (Reference):





(d) Using a micrometer, measure the diameter of each crank pin.





Standard diameter:

43.992 to 44.000 mm (1.7320 to 1.7323 in.)

If the diameter is not as specified, check the connecting rod oil clearance.

(e) Inspect each crank pin for taper and distortion as shown in the illustration.

Maximum taper and distortion:

0.004 mm (0.0002 in.)

If the taper and distortion are greater than the maximum, replace the crankshaft.

13. INSPECT CRANKSHAFT THRUST CLEARANCE

(a) Install the main bearing cap Reassembly.

(b) Using a dial indicator, measure the thrust clearance while prying the crankshaft back and forth with a screwdriver.





Standard thrust clearance:

0.04 to 0.14 mm (0.0016 to 0.0055 in.)

Maximum thrust clearance:

0.18 mm (0.0070 in.)

If the thrust clearance is greater than the maximum, replace the thrust washers as a set.

HINT
The thrust washer thickness is 2.43 to 2.48 mm (0.0957 to 0.0976 in.).

14. INSPECT CRANKSHAFT OIL CLEARANCE

(a) Check the crank journal and bearing for pitting and scratches.

(b) Install the crankshaft bearing Reassembly.

(c) Place the crankshaft on the cylinder block.

(d) Lay a strip of Plastigage across each journal.





(e) Examine the front marks and numbers and install the bearing caps onto the cylinder block.

HINT
A number is marked on each main bearing cap to indicate the installation position.

(f) Install the main bearing cap Reassembly.

NOTICE:
Do not turn the crankshaft.

(g) Remove the main bearing caps Disassembly.

(h) Measure the Plastigage at its widest point.





Standard oil clearance:

0.016 to 0.039 mm (0.0006 to 0.0015 in.)

Maximum oil clearance:

0.050 mm (0.0020 in.)

If the oil clearance is greater than the maximum, replace the crankshaft bearing. If necessary, replace the crankshaft.

NOTICE:
Remove the Plastigage completely after the measurement.

HINT
* If replacing a bearing, select a new one with the same number. If the number of the bearing cannot be determined, calculate the correct bearing number by adding together the numbers imprinted on the cylinder block and crankshaft. Then select a new bearing with the calculated number according to the chart below. There are 4 sizes of standard bearings, marked "1", "2", "3" and "4".
* EXAMPLE: Cylinder block "3" + Crankshaft "5" = Total number 8 (Use bearing "3")





Standard cylinder block journal bore diameter:





Standard crankshaft journal diameter:





Standard bearing center wall thickness:





15. INSPECT CYLINDER HEAD SET BOLT

(a) Using vernier calipers, measure the tension portion diameter of the bolts.

Standard bolt length:

84.3 to 85.7 mm (3.3189 to 3.3740 in.)

Maximum bolt length:

86.7 mm (3.4134 in.)

If the bolt length is greater than the maximum, replace the bolt.

(b) Using vernier calipers, measure the minimum diameter of the elongated thread at the measuring point.





Standard outside diameter:

9.77 to 9.96 mm (0.3846 to 0.3921 in.)

Minimum outside diameter:

9.1 mm (0.3583 in.)

HINT
Using a straightedge, visually check for thinner areas of the threaded part of the crankshaft bearing cap bolt.

If the diameter is less than the minimum, replace the bolt.

16. INSPECT NO. 1 OIL NOZZLE SUB-ASSEMBLY

(a) Check the oil nozzles for damage or clogging.

HINT
If there is damage or clogging, replace the oil nozzle.