Operation CHARM: Car repair manuals for everyone.
Manuals through 2025 now available!

Our trusted friends have launched a new website named LEMON, which has newer manuals. It also contains all the CHARM manuals.

LEMON is the spiritual successor to CHARM, I recommend you try it!

Link: lemon-manuals.la or lemon-manuals.org.ua

(Some people have issue connecting. LEMON is investigating. For now, use Firefox or change your DNS server)

Or, hide this message: temporarily or permanently

Engine Unit





2ZR-FE ENGINE MECHANICAL: ENGINE UNIT: INSPECTION

1. INSPECT NO. 1 VALVE ROCKER ARM SUB-ASSEMBLY

(a) Turn the roller by hand to check that it turns smoothly.





HINT
If the roller does not turn smoothly, replace the valve rocker arm sub-assembly.

2. INSPECT VALVE LASH ADJUSTER ASSEMBLY

NOTICE:
* Keep the lash adjuster free of dirt and foreign objects.
* Only use clean engine oil.

(a) Place the lash adjuster into a container filled with engine oil.

(b) Insert the SST's tip into the lash adjuster's plunger and use the tip to press down on the check ball inside the plunger.





SST : 09276-75010

(c) Squeeze the SST and lash adjuster together to move the plunger up and down 5 to 6 times.

(d) Check the movement of the plunger and bleed it.

OK:

Plunger moves up and down.

NOTICE:
When bleeding the high-pressure chamber, make sure that the tip of the SST is actually pressing the check ball as shown in the illustration. If the check ball is not pressed, the high-pressure chamber will not be bled.

(e) After bleeding, remove the SST. Then try to quickly and firmly press the plunger with a finger.

OK:

Plunger is very difficult to move.

If the result is not as specified, replace the lash adjuster.

3. INSPECT CAMSHAFT TIMING GEAR ASSEMBLY

(a) Install the camshaft timing gear Reassembly.

(b) Check the lock of the camshaft timing gear.

(1) Confirm that the camshaft timing gear is locked.

(c) Release the lock pin.





(1) Cover the 4 oil paths of the cam journal with vinyl tape as shown in the illustration.

HINT
There are 4 oil paths in the groove of the camshaft. Plug three of the paths with pieces of rubber.

(2) Prick a hole in the tape placed on the advance side path. Prick a hole in the tape placed on the retard side path, on the opposite side to that of the advance side path, as shown in the illustration.

(3) While applying approximately 150 kPa (2.0 kgf/cm2, 22 psi) of air pressure to the oil paths, forcibly turn the camshaft timing gear assembly in the advance direction (counterclockwise).





CAUTION:
Cover the paths with a piece of cloth when applying pressure to keep oil from splashing.

NOTICE:
Do not lock the camshaft timing gear assembly. If it is locked, release the lock pin again.

HINT
* The camshaft timing gear assembly may be turned in the advance direction without applying any force.
* If enough air pressure cannot be applied because of air leakage from the port, releasing the lock pin may be difficult.

(d) Check for smooth rotation.

(1) Turn the camshaft timing gear within its movable range (26.5 to 28.5°) 2 or 3 times, but do not turn it to the most retarded position. Make sure that the gear turns smoothly.

NOTICE:
Do not lock the camshaft timing gear assembly. If it is locked, release the lock pin again.

4. INSPECT CAMSHAFT TIMING EXHAUST GEAR ASSEMBLY

(a) Install the camshaft timing gear Reassembly.

(b) Check the camshaft timing exhaust gear lock.

(1) Make sure that the camshaft timing exhaust gear is locked.

(c) Release the lock pin.





(1) Cover the 4 oil paths of the cam journal with vinyl tape as shown in the illustration.

HINT
4 oil paths are provided in the groove. Plug 2 paths with rubber pieces.

(2) Prick a hole in the tape placed on the advance side path. Prick a hole in the tape placed on the retard side path, on the opposite side to that of the advance side path, as shown in the illustration.

(3) Apply approximately 200 kPa (2.0 kgf/cm2, 28 psi) of air pressure to the 2 broken paths (the advance side path and the retard side path).





CAUTION:
Cover the paths with a piece of cloth when applying pressure to keep oil from splashing.

(4) Make sure that the camshaft timing exhaust gear turns in the retard direction when reducing the air pressure applied to the advance side path.





HINT
The lock pin is released and the camshaft timing exhaust gear turns in the retard direction.

(5) When the camshaft timing exhaust gear moves to the most retarded position, release the air pressure from the advance side path, and then release the air pressure from the retard side path.

NOTICE:
Be sure to release the air pressure from the advance side path first. If the air pressure of the retard side path is released first, the camshaft timing exhaust gear may abruptly shift in the advance direction and break the lock pin or other parts.

(d) Check for smooth rotation.

(1) Turn the camshaft timing exhaust gear within its movable range (19 to 21°) 2 or 3 times, but do not turn it to the most advanced position. Make sure that the gear turns smoothly.

NOTICE:
When the air pressure is released from the advance side path and then from the retard side path, the gear automatically returns to the most advanced position due to the advance assist spring operation and locks. Gradually release the air pressure from the retard side path before performing the smooth rotation check.

(e) Check the lock at the most advanced position.

(1) Make sure that the camshaft timing exhaust gear is locked at the most advanced position.

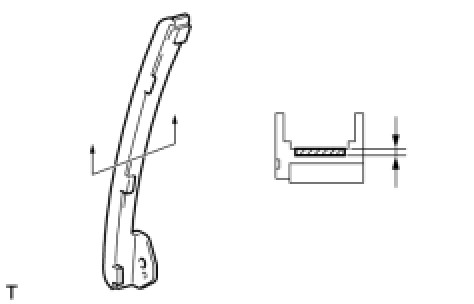
5. INSPECT CHAIN SUB-ASSEMBLY

(a) Pull the chain with a force of 147 N (15 kgf, 33 lbf) as shown in the illustration.





(b) Using vernier calipers, measure the length of 15 links.

Maximum chain elongation:

115.2 mm (4.535 in.)

NOTICE:
Perform the measurement at 3 random places. Use the average of the measurements.

If the average elongation is greater than the maximum, replace the chain.

6. INSPECT NO. 2 CHAIN SUB-ASSEMBLY

(a) Pull the chain with a force of 147 N (15 kgf, 33 lbf) as shown in the illustration.





(b) Using vernier calipers, measure the length of 15 links.

Maximum chain elongation:

102.1 mm (4.019 in.)

NOTICE:
Perform the measurement at 3 random places. Use the average of the measurements.

If the average elongation is greater than the maximum, replace the No. 2 chain.

7. INSPECT OIL PUMP DRIVE GEAR

(a) Place the chain around the gear.





(b) Using vernier calipers, measure the diameter of the gear and chain.

Minimum gear diameter (with chain):

48.2 mm (1.898 in.)

NOTICE:
The vernier calipers must be in contact with the chain rollers when measuring.

If the diameter is less than the minimum, replace the chain and gear.

8. INSPECT OIL PUMP DRIVE SHAFT GEAR

(a) Place the chain around the gear.





(b) Using vernier calipers, measure the diameter of the gear and chain.

Minimum gear diameter (with chain):

48.8 mm (1.922 in.)

NOTICE:
The vernier calipers must be in contact with the chain rollers when measuring.

If the diameter is less than the minimum, replace the chain and gear.

9. INSPECT CAMSHAFT TIMING GEAR ASSEMBLY

(a) Place the chain around the gear.





(b) Using vernier calipers, measure the diameter of the gear and chain.

Minimum gear diameter (with chain):

96.8 mm (3.811 in.)

NOTICE:
The vernier calipers must be in contact with the chain rollers when measuring.

If the diameter is less than the minimum, replace the chain and gear.

10. INSPECT CAMSHAFT TIMING EXHAUST GEAR ASSEMBLY

(a) Place the chain around the sprocket.





(b) Using vernier calipers, measure the diameter of the sprocket and chain.

Minimum sprocket diameter (with chain):

96.8 mm (3.811 in.)

NOTICE:
The vernier calipers must be in contact with the chain rollers when measuring.

If the diameter is less than the minimum, replace the chain and sprocket.

11. INSPECT CRANKSHAFT TIMING GEAR

(a) Place the chain around the gear.





(b) Using vernier calipers, measure the diameter of the gear and chain.

Minimum gear diameter (with chain):

51.1 mm (2.012 in.)

NOTICE:
The vernier calipers must be in contact with the chain rollers when measuring.

If the diameter is less than the minimum, replace the chain and gear.

12. INSPECT CHAIN TENSIONER SLIPPER

(a) Using vernier calipers, measure the tensioner slipper wear.





Maximum wear:

1.0 mm (0.039 in.)

If the wear is greater than the maximum, replace the chain tensioner slipper.

13. INSPECT NO. 1 CHAIN VIBRATION DAMPER

(a) Using vernier calipers, measure the vibration damper wear.





Maximum wear:

1.0 mm (0.039 in.)

If the wear is greater than the maximum, replace the No. 1 chain vibration damper.

14. INSPECT NO. 2 CHAIN VIBRATION DAMPER

(a) Using vernier calipers, measure the vibration damper wear.





Maximum wear:

1.0 mm (0.039 in.)

If the wear is greater than the maximum, replace the No. 2 chain vibration damper.

15. INSPECT CHAIN TENSIONER PLATE

(a) Using vernier calipers, measure the vibration damper wear.





Maximum wear:

1.0 mm (0.039 in.)

If the wear is greater than the maximum, replace the chain tensioner plate.

16. INSPECT NO. 1 CHAIN TENSIONER

(a) Check that the plunger moves smoothly when the ratchet pawl is raised with your finger.





(b) Release the ratchet pawl, then check that the plunger is locked in place by the ratchet pawl and does not move when pushed with your finger.

17. INSPECT CAMSHAFT

(a) Inspect the camshaft for runout.





(1) Place the camshaft on V-blocks.

(2) Using a dial indicator, measure the circle runout at the center journal.

Maximum circle runout:

0.04 mm (0.0016 in.)

If the circle runout is greater than the maximum, replace the camshaft.

(b) Inspect the cam lobes.





(1) Using a micrometer, measure the cam lobe height.

Standard cam lobe height:

42.816 to 42.916 mm (1.6857 to 1.6896 in.)

Minimum cam lobe height:

42.666 mm (1.6798 in.)

If the cam lobe height is less than the minimum, replace the camshaft.

(c) Inspect the camshaft journals.





(1) Using a micrometer, measure the journal diameter.

Standard journal diameter:





If the journal diameter is not as specified, check the oil clearance Testing and Inspection.

18. INSPECT NO. 2 CAMSHAFT

(a) Inspect the No. 2 camshaft for runout.





(1) Place the No. 2 camshaft on V-blocks.

(2) Using a dial indicator, measure the circle runout at the center journal.

Maximum circle runout:

0.04 mm (0.0016 in.)

If the circle runout is greater than the maximum, replace the No. 2 camshaft.

(b) Inspect the cam lobes.





(1) Using a micrometer, measure the cam lobe height.

Standard cam lobe height:

44.336 to 44.436 mm (1.7455 to 1.7494 in.)

Minimum cam lobe height:

44.186 mm (1.7396 in.)

If the cam lobe height is less than the minimum, replace the No. 2 camshaft.

(c) Inspect the camshaft journals.





(1) Using a micrometer, measure the journal diameter.

Standard journal diameter:





If the journal diameter is not as specified, check the oil clearance Testing and Inspection.

19. INSPECT CYLINDER HEAD SET BOLT

(a) Using vernier calipers, measure the length of the cylinder head set bolt from the seat to the end.





Standard bolt length:

146.8 to 148.2 mm (5.7795 to 5.8346 in.)

Maximum bolt length:

149.2 mm (5.874 in.)

If the bolt length is greater than the maximum, replace the cylinder head set bolt.

(b) Using vernier calipers, measure the minimum diameter of the elongated thread at the measuring point.

Standard outside diameter:

9.77 to 9.96 mm (0.3846 to 0.3921 in.)

Minimum outside diameter:

9.4 mm (0.3701 in.)

HINT
Using a straightedge, visually check for thinner areas of the threaded part of the cylinder head set bolt.

If the diameter is less than the minimum, replace the cylinder head set bolt.

20. INSPECT EXHAUST MANIFOLD

(a) Using a precision straightedge and feeler gauge, measure the warpage on the contact surface of the cylinder head.





Maximum warpage:

0.7 mm (0.028 in.)

HINT
If the warpage is greater than the maximum, replace the manifold.