Operation CHARM: Car repair manuals for everyone.
Manuals through 2025 now available!

Our trusted friends have launched a new website named LEMON, which has newer manuals. It also contains all the CHARM manuals.

LEMON is the spiritual successor to CHARM, I recommend you try it!

Link: lemon-manuals.la or lemon-manuals.org.ua

(Some people have issue connecting. LEMON is investigating. For now, use Firefox or change your DNS server)

Or, hide this message: temporarily or permanently

Cylinder Head Assembly














Cylinder Head Bolts:





Torque 49 Nm (500 kgf-cm, 36 ft-lbf)

Retighten the cylinder head bolts by additional 90° and one more additional 45°.

Cylinder head set bolt:





Standard bolt length 146.8 to 148.2 mm (5.7795 to 5.8346 in.)

Maximum bolt length 149.2 mm (5.874 in.)

If the bolt length is greater than the maximum, replace the cylinder head set bolt.

Maximum warpage:





If the warpage is greater than the maximum, replace the cylinder head.

Camshaft Bearing Cap:





Torque 16 Nm (163 kgf-cm, 12 ft-lbf)

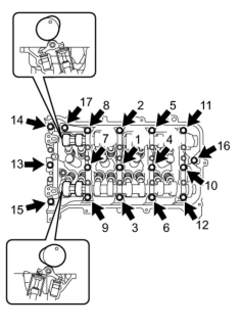
Camshaft Housing Sub-Assembly:





Install the camshaft housing and tighten the 17 bolts in the order shown in the illustration.

Torque 27 Nm (275 kgf-cm, 20 ft-lbf)

Intake Manifold Specifications

Exhaust Manifold Specifications

Camshaft Timing Gear Specifications