Operation CHARM: Car repair manuals for everyone.
Manuals through 2025 now available!

Our trusted friends have launched a new website named LEMON, which has newer manuals. It also contains all the CHARM manuals.

LEMON is the spiritual successor to CHARM, I recommend you try it!

Link: lemon-manuals.la or lemon-manuals.org.ua

(Some people have issue connecting. LEMON is investigating. For now, use Firefox or change your DNS server)

Or, hide this message: temporarily or permanently

Part 1





U341E AUTOMATIC TRANSAXLE: AUTOMATIC TRANSAXLE UNIT: REASSEMBLY

1. BEARING POSITION

(a) Check bearing position and installation direction.





2. INSPECT DIFFERENTIAL CASE TAPERED ROLLER BEARING PRELOAD





(a) Coat the front differential case and bearing with Toyota Genuine ATF WS or equivalent and install them onto the transaxle case.

(b) Install the transaxle housing with the 14 bolts.

Bolt A - Torque : 29 Nm (300 kgf-cm, 22 ft-lbf)

Bolt B - Torque : 22 Nm (225 kgf-cm, 16 ft-lbf)

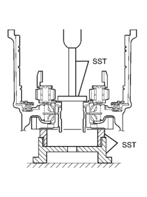
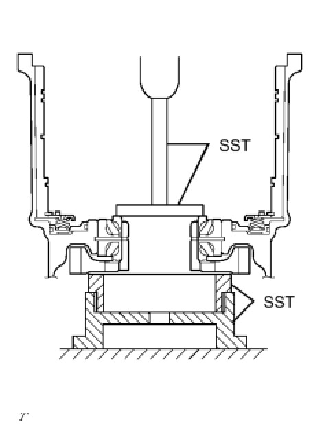
(c) Using SST and a small torque wrench, measure the preload of the differential gear.





SST : 09564-32011

Preload:





If the preload is not within the specifications, remove the differential from the transaxle case.

Select a new transaxle case side adjusting shim in accordance with the following table.

Adjusting Shim Thickness:





3. INSTALL FRONT TRANSAXLE CASE OIL SEAL

(a) Coat the lip of a new oil seal with MP grease.

(b) Using SST and a hammer, drive in a new oil seal.





SST : 09387-00010

SST : 09950-70010

09951-07100

Oil seal drive in depth:

-0.5 to 0.5 mm (-0.020 to 0.020 in.)

4. INSTALL TRANSAXLE CASE OIL SEAL

(a) Coat the lip of a new oil seal with MP grease.

(b) Using SST and a hammer, drive in a new oil seal.





SST : 09726-27012

09726-02041

SST : 09950-70010

09951-07150

Oil seal drive in depth:

2.2 to 3.2 mm (0.087 to 0.126 in.)

5. INSTALL FRONT DRIVE PINION REAR TAPERED ROLLER BEARING

(a) Install the No. 1 transaxle case plate onto the transaxle case.





(b) Using SST and a hammer, install the front drive pinion rear tapered roller bearing to the transaxle case.





SST : 09950-60010

09951-00610

SST : 09950-70010

09951-07150

6. INSTALL FRONT DRIVE PINION FRONT TAPERED ROLLER BEARING

(a) Install the thrust bearing to the transaxle housing.

(b) Using SST and a press, install a new front drive pinion front tapered roller bearing to the transaxle housing.





SST : 09950-60010

09951-00650

SST : 09950-70010

09951-07150

7. INSTALL DIFFERENTIAL GEAR LUBE APPLY TUBE

(a) Install the differential gear lube apply tube to the transaxle housing.





8. INSTALL BEARING LOCK PLATE

(a) Install the bearing lock plate to the transaxle housing with the bolt.





Torque : 11 Nm (110 kgf-cm, 8 ft-lbf)

9. INSTALL COUNTER DRIVE GEAR HOLE SNAP RING

(a) Using a screwdriver, install the counter drive gear hole snap ring to the transaxle case.





10. INSTALL COUNTER DRIVE GEAR BEARING LH

(a) Using SST and a hammer, install the counter drive gear bearing outer race LH to the transaxle case.





SST : 09950-60020

09951-00890

SST : 09950-70010

09951-07150

(b) Install the counter drive gear bearing LH to the transaxle case.

11. REMOVE COUNTER DRIVE GEAR BEARING RH

(a) Using SST and a hammer, install the counter drive gear bearing outer race RH to the transaxle case.





SST : 09950-60020

09951-00890

SST : 09950-70010

09951-07150

(b) Install the counter drive gear bearing RH to the transaxle case.

12. INSTALL MANUAL VALVE LEVER SHAFT OIL SEAL

(a) Coat the lip of a new oil seal with MP grease.

(b) Using SST and a hammer, install a new manual valve lever shaft oil seal.





SST : 09950-60010

09951-00220

SST : 09950-70010

09951-07100

Oil seal drive in depth:

-0.5 to 0.5 mm (-0.020 to 0.020 in.)

13. INSTALL DIFFERENTIAL DRIVE PINION

(a) Using SST and a press, install the differential drive pinion to the counter driven gear.





SST : 09950-60010

09951-00350

SST : 09950-70010

09951-07150

NOTICE:
When replacing the counter driven gear, replace the counter drive gear in the transaxle case as well.

Press in the differential drive pinion until it comes into contact with the counter driven gear.

14. INSTALL DIFFERENTIAL DRIVE PINION PLUG

(a) Using SST and a plastic hammer, install a new differential drive pinion plug to the differential drive pinion.





SST : 09221-25026

09221-00071

Standard clearance:

2.5 to 3.5 mm (0.0984 to 0.1378 in.)

15. INSTALL COUNTER DRIVEN GEAR

(a) Install the counter driven gear and drive pinion thrust bearing to the transaxle case.





16. INSTALL PARKING LOCK PAWL

(a) Coat the parking lock pawl shaft with Toyota Genuine ATF WS or equivalent.

(b) Install the parking lock pawl, parking lock pawl shaft torsion spring and parking lock pawl shaft to the transaxle case.





NOTICE:
Check that the parking lock pawl moves smoothly.

17. INSTALL MANUAL VALVE LEVER SHAFT

(a) Install the manual valve lever shaft to the transaxle case.





NOTICE:
Do not damage the oil seal lip.

18. INSTALL PARKING LOCK ROD SUB-ASSEMBLY

(a) Install the parking lock rod to the manual valve lever.





19. INSTALL MANUAL VALVE LEVER SUB-ASSEMBLY

(a) Coat the manual valve lever sub-assembly with Toyota Genuine ATF WS or equivalent.

(b) Install the manual valve lever and a new manual valve lever spacer to the manual valve lever shaft.

(c) Using a pin punch and hammer, drive in the pin.





(d) Turn the spacer and lever shaft to align the small hole for locating the staking position mark on the lever shaft.





(e) Using a pin punch, stake the spacer through the small hole.

(f) Check that the spacer does not turn.

20. INSTALL MANUAL VALVE LEVER SHAFT RETAINER SPRING

(a) Install the manual valve lever shaft retainer spring to the manual valve lever shaft.





21. INSTALL PARKING LOCK PAWL BRACKET

(a) Install the parking lock pawl bracket, parking lock rod and cam guide sleeve to the transaxle case with the 3 bolts.





Torque : 20 Nm (204 kgf-cm, 15 ft-lbf)

22. INSTALL NO. 2 1ST AND REVERSE BRAKE PISTON O-RING

(a) Coat 2 new O-rings with Toyota Genuine ATF WS or equivalent, and install them to the No. 2 brake piston.





23. INSTALL NO. 2 1ST AND REVERSE BRAKE PISTON

(a) Coat the No. 2 1st and reverse brake piston with Toyota Genuine ATF WS or equivalent, and install it to the transaxle case.





NOTICE:
Do not damage the oil seal lip.

24. INSTALL 1ST AND REVERSE BRAKE RETURN SPRING SUB-ASSEMBLY

(a) Install the 1st and reverse brake return spring sub-assembly to the transaxle case.





(b) Using SST, a press and a screwdriver, install the snap ring.

SST : 09387-00070

25. INSTALL COUNTER DRIVE GEAR

(a) Using SST and a press, install the counter drive gear to the transaxle case.





SST : 09223-15030

SST : 09527-17011

SST : 09950-60010

09951-00650

SST : 09950-70010

09951-07150

26. INSTALL PLANETARY GEAR ASSEMBLY

(a) Using SST and a press, install the planetary gear assembly to the transaxle case.





SST : 09950-60010

09951-00480

SST : 09223-15030

SST : 09527-17011

SST : 09950-70010

09951-07150

27. INSTALL COUNTER DRIVE GEAR NUT

(a) Fix the counter driven gear with the parking lock pawl.





(b) Using SST, install a new lock washer and nut.





SST : 09387-00121

Torque : 280 Nm (2855 kgf-cm, 207 ft-lbf)

(c) Using SST and a small torque wrench, measure the rotating torque while turning the counter drive gear at 60 turns per minute.





SST : 09387-00121

Rotating torque:

0.20 to 0.49 N*m (2.0 to 5.0 kgf*cm, 1.8 to 4.3 in.*lbf)

(d) Using SST and a hammer, stake the lock nut washer.





SST : 09930-00010

28. INSTALL 1ST AND REVERSE BRAKE DISC

(a) Install the 4 plates, 4 discs and flange to the transaxle case.





(b) Using a screwdriver, install the snap ring.

29. INSPECT PACK CLEARANCE OF FIRST AND REVERSE BRAKE

(a) Using SST and a dial indicator, measure the first and reverse brake clearance while pressing the disc and plate from the rear side.





SST : 09350-36010

09350-06110

Pack clearance:

0.806 to 1.206 mm (0.0317 to 0.0475 in.)

NOTICE:
If the clearance is not within the specified range, select a new brake flange.

HINT
There are 4 different flange thicknesses.

Flange thickness:





(b) Check that the 1st and reverse brake piston moves when compressed air is applied (392 kPa, 4.0 kgf/cm2, 57 psi) to the oil hole.

30. INSTALL FRONT PLANETARY SUN GEAR

(a) Install the planetary sun gear and needle roller bearing to the planetary gear assembly.





31. INSTALL OUTER RACE RETAINER

(a) Install the outer retainer to the No. 2 one-way clutch.





32. INSTALL NO. 2 ONE-WAY CLUTCH

(a) Install the one-way clutch and 2nd brake piston assembly to the rear planetary gear assembly.





33. INSTALL REAR PLANETARY GEAR THRUST NEEDLE ROLLER BEARING

(a) Install the No. 2 thrust bearing race, the planetary gear thrust needle roller bearing and thrust bearing race to the rear planetary gear assembly.





34. INSTALL REAR PLANETARY GEAR ASSEMBLY

(a) Install the rear planetary gear assembly to the transaxle case.





(b) Using a screwdriver, install the snap ring.

35. INSPECT NO. 2 ONE-WAY CLUTCH

(a) Check that the rear planetary gear assembly turns freely counterclockwise and locks when turned clockwise.





36. INSTALL 2ND BRAKE PISTON SLEEVE

(a) Install the 2nd brake piston sleeve to the transaxle case.





37. INSTALL 2ND BRAKE DISC

(a) Install the 4 discs, 2 flanges and 3 No. 1 flanges to the transaxle case.





(b) Using a screwdriver, install a snap ring to the transaxle case.

38. INSPECT PACK CLEARANCE OF 2ND BRAKE

(a) Using a dial indicator, measure the 2nd brake pack clearance while applying and releasing compressed air (392 to 785 kPa, 4 to 8 kgf/cm2, 57 to 114 psi).





Pack clearance:

0.847 to 1.247 mm (0.0333 to 0.0491 in.)

NOTICE:
If the clearance is not within the specified range, select a new brake flange.

HINT
There are 4 different flange thicknesses.

Flange thickness:





39. INSTALL 2ND COAST AND OVERDRIVE BRAKE FLANGE HOLE SNAP RING

(a) Using a screwdriver, install a snap ring to the transaxle case.





40. INSTALL ONE-WAY CLUTCH ASSEMBLY

(a) Install the No. 2 thrust washer to the rear planetary gear assembly.





(b) Install the one-way clutch assembly to the rear planetary sun gear assembly.