Operation CHARM: Car repair manuals for everyone.
Manuals through 2025 now available!

Our trusted friends have launched a new website named LEMON, which has newer manuals. It also contains all the CHARM manuals.

LEMON is the spiritual successor to CHARM, I recommend you try it!

Link: lemon-manuals.la or lemon-manuals.org.ua

(Some people have issue connecting. LEMON is investigating. For now, use Firefox or change your DNS server)

Or, hide this message: temporarily or permanently

Installation






HEATING / AIR CONDITIONING: FRONT EVAPORATOR TEMPERATURE SENSOR: INSTALLATION; 2013 MY FR-S [03/2012 -]

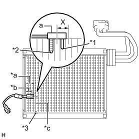
1. INSTALL NO. 1 COOLER THERMISTOR

(a) Install the No. 1 cooler thermistor as shown in the illustration.













NOTICE:
* Be sure to insert the thermistor only once because reinserting it will not allow it to be firmly secured.
* When reusing the evaporator, insert the thermistor one row next to the one that has been used previously (X in the illustration).
* After inserting the thermistor, do not apply excessive force to the wire.
* Directly insert the thermistor until the edge of plastic case "a" comes into contact with evaporator "b".

2. INSTALL AIR CONDITIONER TUBE ASSEMBLY Reassembly

3. INSTALL NO. 1 COOLER EVAPORATOR SUB-ASSEMBLY Reassembly

4. INSTALL COOLING UNIT CASE SUB-ASSEMBLY Reassembly

5. INSTALL COOLER EXPANSION VALVE Reassembly

6. INSTALL HEATER CONTROL CABLE SUB-ASSEMBLY Reassembly

7. INSTALL AIR INLET DAMPER CONTROL CABLE SUB-ASSEMBLY Reassembly

8. INSTALL AIR CONDITIONING UNIT ASSEMBLY

Installation

9. CONNECT CABLE TO NEGATIVE BATTERY TERMINAL

Torque : 6.0 Nm (61 kgf-cm, 53 in-lbf)

10. ADD ENGINE COOLANT Service and Repair

11. CHARGE WITH REFRIGERANT

Service and Repair

12. INSPECT FOR COOLANT LEAK Testing and Inspection

13. WARM UP ENGINE

Service and Repair

14. INSPECT FOR REFRIGERANT LEAK

Service and Repair

15. INSPECT SRS WARNING LIGHT

SRS Warning Light Remains On