Operation CHARM: Car repair manuals for everyone.
Manuals through 2025 now available!

Our trusted friends have launched a new website named LEMON, which has newer manuals. It also contains all the CHARM manuals.

LEMON is the spiritual successor to CHARM, I recommend you try it!

Link: lemon-manuals.la or lemon-manuals.org.ua

(Some people have issue connecting. LEMON is investigating. For now, use Firefox or change your DNS server)

Or, hide this message: temporarily or permanently

Rear Wheel Alignment






ALIGNMENT / HANDLING DIAGNOSIS: REAR WHEEL ALIGNMENT: ADJUSTMENT; 2013 MY FR-S [03/2012 -]

NOTICE:
If the wheel alignment has been adjusted, and if suspension or underbody components have been removed/installed or replaced, be sure to perform the following initialization procedure in order for the system to function normally:

Perform zero point calibration of the yaw rate and acceleration sensor and test mode inspection Programming and Relearning.

1. INSPECT TIRES Component Tests and General Diagnostics

2. MEASURE VEHICLE HEIGHT Front Wheel Alignment

3. INSPECT TOE-IN

NOTICE:
Inspect while the vehicle is unloaded.

(a) Bounce the vehicle up and down at the corners to stabilize the suspension.

(b) Release the parking brake and move the shift lever to N.

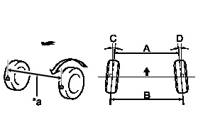
(c) Push the vehicle straight ahead approximately 5 m (16.4 ft.). (Step B)

(d) Put tread center marks on the rearmost points of the rear wheels and measure the distance between the marks (dimension B).









(e) Slowly push the vehicle straight ahead to cause the rear wheels to rotate 180°. Use the rear tire valve as a reference point.

HINT
Do not allow the wheels to rotate more than 180°. If the wheels rotate more than 180°, perform the procedure from Step B again.

(f) Measure the distance between the tread center marks on the front of the rear wheels (dimension A).









Toe-in (Unloaded Vehicle):





HINT
Measure "B - A" only when "C + D" cannot be measured.

If the toe-in is not within the specified range, adjust it at the toe control link sub-assembly.

4. ADJUST TOE-IN

(a) Loosen the toe adjust cam nut.





(b) Turn the adjust cams by an equal amount to adjust the toe-in.

Toe-in (Unloaded Vehicle):





HINT
* Try to adjust the toe-in to the center value.
* The toe-in will change by approximately 1.3 mm (0.051 in.) for each gradation of the cam.

(c) Tighten the toe adjust cam nut.

Torque : 100 Nm (1020 kgf-cm, 74 ft-lbf)

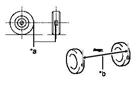
5. INSPECT CAMBER

(a) Remove the center wheel ornament.

(b) Install a camber-caster-kingpin gauge at the center of the axle hub or drive shaft.









(c) Inspect the camber.

Camber (Unloaded Vehicle):





If the measured value is not within the specified range, inspect the suspension parts for damage and wear. Replace parts as necessary because camber cannot be properly adjusted with any damaged or worn parts.

(d) Remove the camber-caster-kingpin gauge.

(e) Install the center wheel ornament.

6. INSPECT REAR SUSPENSION

(a) Inspect the rear suspension member.





(1) Measure the distance between the centers of the 2 installation bolts of the rear No. 2 suspension arm assembly LH and RH

Standard distance:

442.8 to 448.8 mm (17.43 to 17.67 in.)

If the distance is not within the specified range, replace the rear suspension member.

(b) Inspect the rear No. 2 suspension arm assembly.





(1) Measure the distance between the centers of the 2 installation bolts of the rear No. 2 suspension arm assembly.

Standard distance:

447.9 to 451.9 mm (17.63 to 17.79 in.)

If the distance is not within the specified range, replace the rear No. 2 suspension arm assembly.

(c) Inspect and adjust the toe-in and camber.

(1) Inspect the toe-in and camber.

Inspect the toe-in and camber. If the values are not within the specified ranges, adjust the installation bolt holding the rear suspension member to the vehicle body, or the bolt holding the upper control arm and rear suspension arm so that the values fall within the specified ranges.

7. PLACE FRONT WHEELS FACING STRAIGHT AHEAD

8. VSC SENSOR NEUTRAL MEMORIZATION

Programming and Relearning