Operation CHARM: Car repair manuals for everyone.
Manuals through 2025 now available!

Our trusted friends have launched a new website named LEMON, which has newer manuals. It also contains all the CHARM manuals.

LEMON is the spiritual successor to CHARM, I recommend you try it!

Link: lemon-manuals.la or lemon-manuals.org.ua

(Some people have issue connecting. LEMON is investigating. For now, use Firefox or change your DNS server)

Or, hide this message: temporarily or permanently

Refrigerant: Testing and Inspection






HEATING / AIR CONDITIONING: REFRIGERANT: ON-VEHICLE INSPECTION; 2013 MY FR-S [03/2012 -]

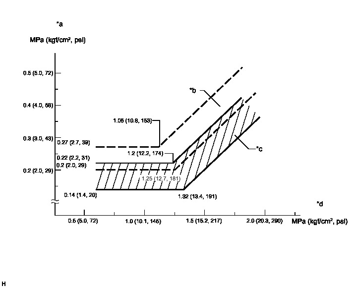
1. INSPECT REFRIGERANT PRESSURE WITH MANIFOLD GAUGE SET

(a) This method uses a manifold gauge set to locate problem areas. Read the manifold gauge pressure when the test conditions are established.

Test conditions:

* Temperature at the air inlet with the air recirculation switch set at RECIRC is 30 to 35°C (86 to 95°F).

* Engine is running at 1500 rpm.

* All doors are fully open.

* Blower speed control switch is set to HI.

* A/C switch is on.

Gauge readings (Reference):









(1) Normally functioning refrigeration system.





Gauge Reading:





(2) The A/C system periodically changes between normal and improper function due to moisture in the refrigerant system.









(3) The A/C system does not function effectively due to insufficient refrigerant.









(4) The A/C system does not function effectively due to poor circulation of the refrigerant.









(5) The A/C system does not function or functions intermittently because the refrigerant does not circulate.









(6) The A/C system does not function effectively due to the system being overcharged with refrigerant or insufficient cooling of the condenser.









(7) The A/C system does not function due to air in the refrigeration system.

CAUTION:
The low-pressure piping may be very hot and cause serious burns.

NOTICE:
These gauge indications occur when the refrigeration system opens and the system is charged with refrigerant without vacuum purging.









(8) The A/C system does not function effectively due to an expansion valve malfunction.









(9) The A/C system does not function due to a defective compressor.