Operation CHARM: Car repair manuals for everyone.
Manuals through 2025 now available!

Our trusted friends have launched a new website named LEMON, which has newer manuals. It also contains all the CHARM manuals.

LEMON is the spiritual successor to CHARM, I recommend you try it!

Link: lemon-manuals.la or lemon-manuals.org.ua

(Some people have issue connecting. LEMON is investigating. For now, use Firefox or change your DNS server)

Or, hide this message: temporarily or permanently

EVAP System






FA20 ENGINE CONTROL: SFI SYSTEM: EVAP System; 2013 MY FR-S [03/2012 -]
- EVAP System

RELATED DTCS





If any EVAP system DTCs are stored, the malfunctioning area can be determined using the table below.









NOTICE:
If the reference pressure difference between the first and second checks is more than the specification, all the DTCs relating to the reference pressure (P0455, P0456, P1451, P2404) will all be stored.

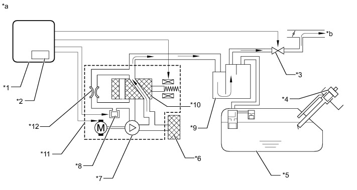
DESCRIPTION









HINT
The canister pressure sensor, the canister filter, the leak detection pump and the vent valve are built into the canister pump module.









NOTICE:
In the EVAP system of this vehicle, turning ON the vent valve does not seal off the EVAP system. To check for leaks in the EVAP system, disconnect the air inlet drain hose and apply pressure from atmospheric side of the charcoal canister assembly.

While the engine is running, if a predetermined condition (closed-loop, etc.) is met, the purge valve is opened by the ECM and fuel vapors stored in the charcoal canister assembly are purged to the intake manifold. The ECM changes the duty cycle ratio of the purge valve to control purge flow volume.

The purge flow volume is also determined by the intake manifold pressure. Atmospheric pressure is allowed into the charcoal canister assembly through the vent valve to ensure that the purge flow is maintained when negative pressure (vacuum) is applied to the charcoal canister assembly.

The following two monitors run to confirm appropriate EVAP system operation.

1. Purge flow monitor

The purge flow monitor consists of the 2 monitors. The 1st monitor is conducted every time and the 2nd monitor is activated if necessary.

* The 1st monitor

While the engine is running and the purge valve (Vacuum Switching Valve) is on (open), the ECM monitors the purge flow by measuring the EVAP pressure change. If the variation in the pressure is less than threshold, the ECM begins the 2nd monitor.

* The 2nd monitor

The vent valve is turned ON (closed) and the EVAP pressure is then measured. If the variation in the pressure is less than threshold, the ECM interprets this as the purge valve being stuck closed, and illuminates the MIL and stores DTC P0441 (2 trip detection logic).

* Atmospheric pressure check:

* In order to ensure reliable malfunction detection, the variation between the atmospheric pressures, before and after of the purge flow monitor, is measured by the ECM.





























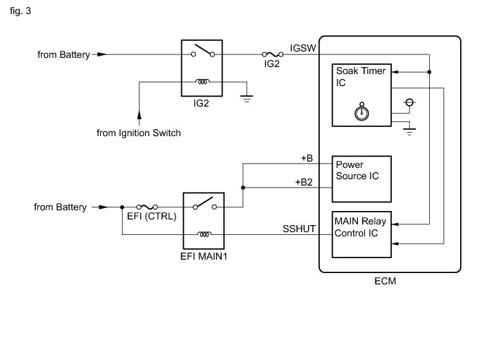
WIRING DIAGRAM

Refer to DTC P0451 P0451.

INSPECTION PROCEDURE

NOTICE:
* Inspect the fuses for circuits related to this system before performing the following inspection procedure.
* The Techstream is required to conduct the following diagnostic troubleshooting procedure.

HINT
* Using the Techstream monitor results enables the EVAP (Evaporative Emission) system to be confirmed.
* Read freeze frame data using the Techstream. The ECM records vehicle and driving condition information as freeze frame data the moment a DTC is stored. When troubleshooting, freeze frame data can help determine if the vehicle was moving or stationary, if the engine was warmed up or not, if the air fuel ratio was lean or rich, and other data from the time the malfunction occurred.

PROCEDURE

1. CONFIRM DTC

(a) Turn the ignition switch off and wait for 10 seconds.

(b) Turn the ignition switch to ON.

(c) Turn the ignition switch off and wait for 10 seconds.

(d) Connect the Techstream to the DLC3.

(e) Turn the ignition switch to ON and turn the Techstream on.

(f) Enter the following menus: Powertrain / Engine / Trouble Codes.

(g) Confirm DTCs and freeze frame data.

If any EVAP system DTCs are stored, the malfunctioning area can be determined using the table below.









NOTICE:
If the reference pressure difference between the first and second checks is more than the specification, all the DTCs relating to the reference pressure (P0455, P0456, P1451, P2404) will all be stored.

NEXT -- Continue to next step.

2. PERFORM EVAP SYSTEM CHECK (AUTOMATIC MODE)

NOTICE:
* The Evaporative System Check (Automatic Mode) consists of 5 steps performed automatically by the Techstream. It takes a maximum of approximately 24 minutes.
* Do not perform the Evaporative System Check when the fuel tank is more than 90% full because the cut-off valve may be closed, making the fuel tank leak check unavailable.
* Do not run the engine during this operation.
* When the temperature of the fuel is 35°C (95°F) or more, a large amount of vapor forms and any check results become inaccurate. When performing the Evaporative System Check, keep the temperature below 35°C (95°F).

(a) Connect the Techstream to the DLC3.

(b) Turn the ignition switch to ON.

(c) Turn the Techstream on.

(d) Clear the DTCs Reading and Clearing Diagnostic Trouble Codes.

(e) Enter the following menus: Powertrain / Engine / Utility / Evaporative System Check / Automatic Mode.

(f) After the EVAP SYSTEM CHECK is completed, check for pending DTCs by entering the following menus: Powertrain / Engine / Trouble Codes.

HINT
If no pending DTCs are displayed, perform the Confirmation Driving Pattern. After this confirmation, check for pending DTCs. If no DTCs are displayed, the EVAP system is normal.

NEXT -- Continue to next step.

3. PERFORM EVAP SYSTEM CHECK (MANUAL MODE)





NOTICE:
* In the Evaporative System Check (Manual Mode), the series of 5 Evaporative System Check steps are performed manually using the Techstream.
* Do not perform the Evaporative System Check when the fuel tank is more than 90% full because the cut-off valve may be closed, making the fuel tank leak check unavailable.
* Do not run the engine during this operation.
* When the temperature of the fuel is 35°C (95°F) or more, a large amount of vapor forms and any check results become inaccurate. When performing the Evaporative System Check, keep the temperature below 35°C (95°F).

(a) Connect the Techstream to the DLC3.

(b) Turn the ignition switch to ON.

(c) Turn the Techstream on.

(d) Clear the DTCs Reading and Clearing Diagnostic Trouble Codes.

(e) Enter the following menus: Powertrain / Engine / Utility / Evaporative System Check / Manual Mode.

NEXT -- Continue to next step.

4. PERFORM EVAP SYSTEM CHECK (STEP 1/5)





(a) Check the EVAP pressure in step 1/5.

Result





*: These DTCs are already present in the ECM when the vehicle arrives and are confirmed in the "Confirm DTC" procedure above.

B -- PERFORM ACTIVE TEST USING TECHSTREAM (ACTIVATE THE VACUUM PUMP)
A -- Continue to next step.

5. PERFORM EVAP SYSTEM CHECK (STEP 2/5)





(a) Check the EVAP pressure in steps 2/5.

Result





*: These DTCs are already present in the ECM when the vehicle arrives and are confirmed in the "Confirm DTC" procedure above.

HINT
The first reference pressure is the value determined in step 2/5.

B -- INSPECT CANISTER PUMP MODULE (VENT VALVE OPERATION)
A -- Continue to next step.

6. PERFORM EVAP SYSTEM CHECK (STEP 3/5)





(a) Check the EVAP pressure in step 3/5.

Result





*: These DTCs are already present in the ECM when the vehicle arrives and are confirmed in the "Confirm DTC" procedure above.

B -- INSPECT CANISTER PUMP MODULE (POWER SOURCE FOR VENT VALVE)
A -- Continue to next step.

7. PERFORM EVAP SYSTEM CHECK (STEP 4/5)





(a) Check the EVAP pressure in step 4/5.

Result





*: These DTCs are already present in the ECM when the vehicle arrives and are confirmed in the "Confirm DTC" procedure above.

B -- INSPECT EVAP HOSE (CHARCOAL CANISTER ASSEMBLY - CANISTER PUMP MODULE)
A -- Continue to next step.

8. PERFORM EVAP SYSTEM CHECK (STEP 5/5)





(a) Check the EVAP pressure in step 5/5.

(b) Compare the EVAP pressure in step 4/5 and the reference pressure (step 5/5).

Result





*: These DTCs are already present in the ECM when the vehicle arrives and are confirmed in the "Confirm DTC" procedure above.

A -- REPAIR OR REPLACE PARTS AND COMPONENTS INDICATED BY OUTPUT DTCS

B -- CHECK FUEL TANK CAP ASSEMBLY

9. PERFORM ACTIVE TEST USING TECHSTREAM (ACTIVATE THE VACUUM PUMP)

(a) Enter the following menus: Powertrain / Engine / Active Test / Activate the Vacuum Pump.

(b) Measure the voltage according to the value(s) in the table below.









Result





B -- CHECK HARNESS AND CONNECTOR (CANISTER PUMP MODULE - ECM)

C -- REPLACE CHARCOAL CANISTER ASSEMBLY
A -- Continue to next step.

10. INSPECT CANISTER PUMP MODULE (POWER SOURCE FOR LEAK DETECTION PUMP)

(a) Turn the ignition switch off.

(b) Disconnect the canister pump module connector.

(c) Turn the ignition switch to ON.

(d) Measure the voltage according to the value(s) in the table below.

Result





A -- REPLACE CHARCOAL CANISTER ASSEMBLY

B -- REPAIR OR REPLACE HARNESS OR CONNECTOR

11. CHECK HARNESS AND CONNECTOR (CANISTER PUMP MODULE - ECM)

(a) Turn the ignition switch off.

(b) Disconnect the canister pump module connector.

(c) Disconnect the ECM connector.

(d) Measure the resistance according to the value(s) in the table below.

Standard Resistance:





Result





A -- REPLACE ECM

B -- REPAIR OR REPLACE HARNESS OR CONNECTOR

12. INSPECT CANISTER PUMP MODULE (VENT VALVE OPERATION)

(a) Turn the ignition switch off.

(b) Disconnect the canister pump module connector.









(c) Apply the battery voltage to terminals G8-5 and G8-1 of the canister pump module.

(d) Touch the canister pump module to confirm the vent valve operation.

Result





B -- REPLACE CHARCOAL CANISTER ASSEMBLY
A -- Continue to next step.

13. CHECK HARNESS AND CONNECTOR (CANISTER PUMP MODULE - ECM)

(a) Turn the ignition switch off.

(b) Disconnect the canister pump module connector.

(c) Disconnect the ECM connector.

(d) Measure the resistance according to the value(s) in the table below.

Standard Resistance (Check for Open):





Standard Resistance (Check for Short):





Result





A -- REPLACE ECM

B -- REPAIR OR REPLACE HARNESS OR CONNECTOR

14. INSPECT CANISTER PUMP MODULE (POWER SOURCE FOR VENT VALVE)

(a) Turn the ignition switch off.









(b) Disconnect the canister pump module connector.

(c) Turn the ignition switch to ON.

(d) Measure the voltage according to the value(s) in the table below.

Result





B -- REPAIR OR REPLACE HARNESS OR CONNECTOR
A -- Continue to next step.

15. INSPECT CANISTER PUMP MODULE (VENT VALVE OPERATION)

(a) Turn the ignition switch off.

(b) Disconnect the canister pump module connector.









(c) Apply the battery voltage to terminals G8-5 and G8-1 of the pump module.

(d) Touch the canister pump module to confirm the vent valve operation.

Result





B -- REPLACE CHARCOAL CANISTER ASSEMBLY
A -- Continue to next step.

16. CHECK HARNESS AND CONNECTOR (CANISTER PUMP MODULE - ECM)

(a) Turn the ignition switch off.

(b) Disconnect the canister pump module connector.

(c) Disconnect the ECM connector.

(d) Measure the resistance according to the value(s) in the table below.

Result





B -- REPAIR OR REPLACE HARNESS OR CONNECTOR
A -- Continue to next step.

17. INSPECT CANISTER PUMP MODULE (CHARCOAL FILTER INSIDE CANISTER)

(a) Check for filter blockage in the charcoal canister assembly Testing and Inspection.

OK:

No blockages in the charcoal canister assembly.

OK -- REPLACE ECM

NG -- REPLACE CHARCOAL CANISTER ASSEMBLY

18. INSPECT EVAP HOSE (CHARCOAL CANISTER ASSEMBLY - CANISTER PUMP MODULE)

(a) Check for blockages in the EVAP purge line between the charcoal canister assembly and canister pump module.

OK:

No blockages in the EVAP purge line between the charcoal canister assembly and canister pump module.

NG -- REPAIR OR REPLACE EVAP PURGE LINE (PURGE VALVE - CANISTER)
OK -- Continue to next step.

19. INSPECT EVAP HOSE (CHARCOAL CANISTER ASSEMBLY - FUEL TANK)

(a) Check for blockages in the EVAP purge line between the charcoal canister assembly and fuel tank.

OK:

No blockages in the EVAP purge line between the charcoal canister assembly and fuel tank.

OK -- REPLACE CHARCOAL CANISTER ASSEMBLY

NG -- REPAIR OR REPLACE EVAP PURGE LINE (PURGE VALVE - CANISTER)

20. CHECK FUEL TANK CAP ASSEMBLY

(a) Check that the fuel tank cap assembly is correctly installed and confirm that the fuel tank cap assembly meets OEM specifications.

(b) Tighten the fuel tank cap assembly firmly (only one click sound could be heard).

Result





B -- CORRECTLY REINSTALL OR REPLACE FUEL TANK CAP ASSEMBLY

C -- REPLACE FUEL TANK CAP ASSEMBLY
A -- Continue to next step.

21. LOCATE EVAP LEAK PART

(a) Check for leakage from EVAP system (hose, disconnection, cracks, etc.).

(b) Repair or replace the leak point.

NEXT -- PERFORM EVAP SYSTEM CHECK (AUTOMATIC MODE)

22. CORRECTLY REINSTALL OR REPLACE FUEL TANK CAP ASSEMBLY

HINT
* When reinstalling the fuel tank cap assembly, tighten it firmly (only one click sound could be head).
* When replacing the fuel tank cap assembly, use a fuel tank cap assembly that meets OEM specifications, and install it firmly.

NEXT -- PERFORM EVAP SYSTEM CHECK (AUTOMATIC MODE)

23. REPLACE FUEL TANK CAP ASSEMBLY

HINT
When installing the fuel tank cap assembly, tighten it firmly (only one click sound could be head).

NEXT -- PERFORM EVAP SYSTEM CHECK (AUTOMATIC MODE)

24. REPLACE CHARCOAL CANISTER ASSEMBLY

(a) Replace the charcoal canister assembly Removal.

NOTICE:
* When replacing the charcoal canister assembly, check the canister pump module interior and related pipes for water, fuel and other liquids. If liquids are present, check for disconnections and/or cracks in the following: 1) the pipe from the air inlet port to the canister pump module; 2) the canister filter; and 3) the fuel tank vent hose.
* Check for filter blockage in the canister filter. If the canister filter has blockages, replace the canister pump module.









NEXT -- PERFORM EVAP SYSTEM CHECK (AUTOMATIC MODE)

25. REPAIR OR REPLACE HARNESS OR CONNECTOR

NEXT -- PERFORM EVAP SYSTEM CHECK (AUTOMATIC MODE)

26. REPAIR OR REPLACE EVAP PURGE LINE (PURGE VALVE - CANISTER)

NEXT -- PERFORM EVAP SYSTEM CHECK (AUTOMATIC MODE)

27. REPAIR OR REPLACE PARTS AND COMPONENTS INDICATED BY OUTPUT DTCS

(a) Repair the malfunctioning areas indicated by the DTCs that had been confirmed when the vehicle was brought in.

NEXT -- PERFORM EVAP SYSTEM CHECK (AUTOMATIC MODE)

28. REPLACE CHARCOAL CANISTER ASSEMBLY

(a) Replace the canister pump module Removal.

NOTICE:
* When replacing the charcoal canister assembly, check the canister pump module interior and related pipes for water, fuel and other liquids. If liquids are present, check for disconnections and/or cracks in the following: 1) the pipe from the air inlet port to the canister pump module; 2) the canister filter; and 3) the fuel tank vent hose.
* Check for filter blockage in the canister filter. If the canister filter has blockages, replace the canister filter.









NEXT -- Continue to next step.

29. PERFORM EVAP SYSTEM CHECK (AUTOMATIC MODE)

NOTICE:
* The Evaporative System Check (Automatic Mode) consists of 5 steps performed automatically by the Techstream. It takes a maximum of approximately 24 minutes.
* Do not perform the Evaporative System Check when the fuel tank is more than 90% full because the cut-off valve may be closed, making the fuel tank leak check unavailable.
* Do not run the engine in this step.
* When the temperature of the fuel is 35°C (95°F) or more, a large amount of vapor forms and any check results become inaccurate. When performing an Evaporative System Check, keep the fuel temperature below 35°C (95°F) and the coolant temperature below 45°C (113°F).

(a) Connect the Techstream to the DLC3.

(b) Turn the ignition switch to ON.

(c) Turn the Techstream on.

(d) Clear the DTCs Reading and Clearing Diagnostic Trouble Codes.

(e) Enter the following menus: Powertrain / Engine / Utility / Evaporative System Check / Automatic Mode.

(f) After the Evaporative System Check is completed, check for pending DTCs by entering the following menus: Powertrain / Engine / Trouble Codes.

Result





B -- END
A -- Continue to next step.

30. REPLACE ECM

(a) Replace the ECM Removal.

NEXT -- Continue to next step.

31. PERFORM EVAP SYSTEM CHECK (AUTOMATIC MODE)

NOTICE:
* The Evaporative System Check (Automatic Mode) consists of 5 steps performed automatically by the Techstream. It takes a maximum of approximately 24 minutes.
* Do not perform the Evaporative System Check when the fuel tank is more than 90% full because the cut-off valve may be closed, making the fuel tank leak check unavailable.
* Do not run the engine in this step.
* When the temperature of the fuel is 35°C (95°F) or more, a large amount of vapor forms and any check results become inaccurate. When performing an Evaporative System Check, keep the fuel temperature below 35°C (95°F) and the coolant temperature below 45°C (113°F).

(a) Connect the Techstream to the DLC3.

(b) Turn the ignition switch to ON.

(c) Turn the Techstream on.

(d) Clear the DTCs Reading and Clearing Diagnostic Trouble Codes.

(e) Enter the following menus: Powertrain / Engine / Utility / Evaporative System Check / Automatic Mode.

(f) After the Evaporative System Check is completed, check for pending DTCs by entering the following menus: Powertrain / Engine / Trouble Codes.

HINT
If no pending DTCs are found, the repair has been successfully completed.

NEXT -- END

CONFIRMATION DRIVING PATTERN

HINT
After a repair, check Monitor Status by performing the Key-Off Monitor Confirmation and Purge Flow Monitor Confirmation described below.

1. KEY-OFF MONITOR CONFIRMATION

(a) Preconditions

The monitor will not run unless:

* The vehicle has been driven at 48 km/h (30 mph) or more for a total of 10 minutes or more.

* The fuel tank is less than 90% full.

* The engine coolant temperature is between 5°C and 45°C (41°F and 113°F).

* The intake air temperature is between 5°C and 50°C (41°F and 122°F).

* The vehicle remains stationary (the vehicle speed is 0 km/h [0 mph]).

(b) Monitor Conditions

(1) Allow the engine to idle for at least 5 minutes.

(2) Turn the ignition switch off and wait for 6 hours (8 or 10.5 hours).

HINT
Do not start the engine until checking Monitor Status. If the engine is started, the steps described above must be repeated.

(c) Monitor Status

(1) Connect the Techstream to the DLC3.

(2) Turn the ignition switch to ON.

(3) Turn the Techstream on.

(4) Enter the following menus: Powertrain / Engine / Monitor / Current Monitor.

(5) Check the Monitor Status displayed on the Techstream.

HINT
If Incomplete is displayed, the monitor did not complete. Make sure that the preconditions have been met, and perform the Monitor Conditions again.

2. PURGE FLOW MONITOR CONFIRMATION (P0441)

HINT
Perform this monitor confirmation after the Key-Off Monitor Confirmation shows Complete.

(a) Preconditions

The monitor will not run unless:

* The vehicle has been driven at 60 km/h (40 mph) or more for 10 minutes or more.

* The engine coolant temperature is 4.4°C (40°F) or higher.

* The intake air temperature is 4.4°C (40°F) or higher.

(b) Monitor Conditions

(1) Release the pressure from the fuel tank by removing and reinstalling the fuel tank cap assembly.

(2) Warm the engine up until the engine coolant temperature reaches more than 75°C (167°F).

(3) Increase the engine speed to 3000 rpm once.

(4) Allow the engine to idle and turn the A/C switch on for 1 minute.

(c) Monitor Status

(1) Turn the ignition switch off (if ON or if the engine is running).

(2) Connect the Techstream to the DLC3.

(3) Turn the ignition switch to ON.

(4) Turn the Techstream on.

(5) Enter the following menus: Powertrain / Engine / Monitor / Current Monitor.

(6) Check the Monitor Status displayed on the Techstream.

HINT
If Incomplete is displayed, the monitor did not complete. Make sure that the preconditions have been met, and perform the Monitor Conditions again.

MONITOR RESULT

Refer to Checking Monitor Status Mode 6 Data.