Operation CHARM: Car repair manuals for everyone.
Manuals through 2025 now available!

Our trusted friends have launched a new website named LEMON, which has newer manuals. It also contains all the CHARM manuals.

LEMON is the spiritual successor to CHARM, I recommend you try it!

Link: lemon-manuals.la or lemon-manuals.org.ua

(Some people have issue connecting. LEMON is investigating. For now, use Firefox or change your DNS server)

Or, hide this message: temporarily or permanently

Installation






WINDOW / GLASS: QUARTER WINDOW GLASS: INSTALLATION; 2013 MY FR-S [03/2012 -]

HINT
* Use the same procedure for both the RH and LH sides.
* The following procedure is for the LH side.

1. CLEAN QUARTER WINDOW ASSEMBLY LH

(a) Clean the outer edges of the quarter window assembly with a non-residue solvent.





NOTICE:
* Do not touch the glass surface after cleaning it.
* Be careful not to damage the glass or clips.

2. INSTALL QUARTER WINDOW GLASS ADHESIVE DAM

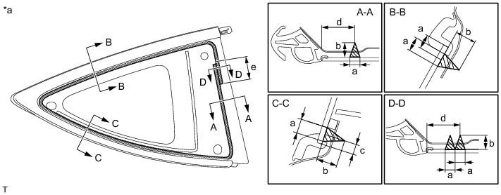
(a) Install the double-sided tape to the quarter window glass moulding, as shown in the illustration.









Standard Dimension:





(b) Using a brush or a sponge, apply primer (3M N-200) to the quarter window glass adhesive dam attachment surface of the quarter window assembly LH.

(c) Install the new quarter window glass adhesive dam, applying double-sided tape all the way around the glass except where the dam is installed, as shown in the illustration.









Standard Dimension:





HINT
If an area other than that specified is coated by accident, wipe off the primer with a non-residue solvent before it dries.

NOTICE:
* Allow the primer to dry for 3 minutes or more.
* Throw away any leftover primer.
* Do not apply too much primer.

3. INSTALL QUARTER WINDOW ASSEMBLY LH

(a) Using a brush, coat the installation surface on the vehicle body with Primer (Sunstar #435-40).









NOTICE:
* Do not coat the adhesive with Primer (Sunstar #435-40).
* Do not apply too much primer.
* Allow the primer to dry for 3 minutes or more.

HINT
If an area other than that specified is coated by accident, wipe off the primer with a clean piece of cloth before it dries.

(b) Using a brush or a sponge, coat the application area of adhesive with Primer (3M N-200).









Standard Dimension:





NOTICE:
* Do not apply too much primer.
* Allow the primer to dry for 3 minutes or more.

HINT
If an area other than that specified is coated by accident, wipe off the primer with a clean piece of cloth before it dries.

(c) Apply adhesive to the quarter window assembly LH.

Adhesive:

Toyota Genuine Windshield Glass Adhesive or equivalent

(1) Cut off the tip of the cartridge nozzle, as shown in the illustration.





Standard Dimension:





(2) Load the sealer gun with cartridge.

(3) Apply adhesive to the quarter window assembly as shown in the illustration.









Standard Dimension:





HINT
Apply adhesive onto the ceramic notches.

(d) Install the quarter window assembly LH to the vehicle body (When reusing the quarter window assembly LH).

(1) Install the butyl tape (If the clips are broken).

(2) Position the quarter window assembly LH so that the matchmarks are aligned, and press it in gently along the rim.









(3) Lightly press the front surface of the windshield glass to ensure that the windshield glass is securely fit to the vehicle body.

HINT
Press the glass with a force of 98 N (10 kgf, 22 lbf) or more.

(e) Install the quarter window assembly (When using a new quarter window assembly LH).

(1) Engage the 3 clips to install the quarter window assembly LH.

NOTICE:
Allow the primer to dry for 3 minutes or more.

HINT
Press the glass with a force of 98 N (10 kgf, 22 lbf) or more.

(f) Hold the quarter window assembly LH in place securely with protective tape or equivalent until the adhesive hardens.

NOTICE:
* Check that the clips are attached to the body correctly.
* Check the clearance between the body and the glass.

(g) Lightly press the outer surface of the glass to ensure that the glass is securely fit to the vehicle body.

(h) Using a scraper, remove any excess or protruding adhesive.





HINT
Apply adhesive onto the glass rim.

(i) Hold the quarter window assembly LH using protective tape until the applied adhesive becomes hard.

4. INSPECT WATER LEAK

(a) After the adhesive has hardened, apply water from the outside of the vehicle. Check that no water leaks into the cabin.

(b) If water leaks into the cabin, allow the water to dry and add adhesive.

(c) Remove the protective tape.

5. INSTALL CENTER PILLAR GARNISH LH Installation

6. INSTALL REAR QUARTER TRIM FRONT GARNISH LH Installation

7. INSTALL REAR WINDOW SIDE GARNISH LH Installation

8. INSTALL QUARTER TRIM LID SUB-ASSEMBLY LH Installation

9. INSTALL LUGGAGE COMPARTMENT TRIM COVER LH Installation

10. INSTALL LUGGAGE COMPARTMENT INNER TRIM COVER LH Installation

11. INSTALL ROOF DRIP SIDE FINISH MOULDING LH

(a) Install the 7 screws and the roof drip side finish moulding LH.

12. INSTALL NO.2 FRONT DOOR WEATHERSTRIP LH

(a) Engage the 4 clips and install the new No.2 front door weatherstrip LH.

13. INSTALL FRONT DOOR OPENING TRIM WEATHERSTRIP LH Installation

14. INSTALL FRONT DOOR SCUFF PLATE LH Installation

15. CONNECT FRONT SEAT OUTER BELT ASSEMBLY LH

Installation

16. INSTALL SEPARATE TYPE REAR SEAT CUSHION ASSEMBLY LH Installation