Operation CHARM: Car repair manuals for everyone.
Manuals through 2025 now available!

Our trusted friends have launched a new website named LEMON, which has newer manuals. It also contains all the CHARM manuals.

LEMON is the spiritual successor to CHARM, I recommend you try it!

Link: lemon-manuals.la or lemon-manuals.org.ua

(Some people have issue connecting. LEMON is investigating. For now, use Firefox or change your DNS server)

Or, hide this message: temporarily or permanently

Installation






WINDOW / GLASS: WINDSHIELD GLASS: INSTALLATION; 2013 MY FR-S [03/2012 -]

1. INSTALL NO. 1 WINDSHIELD GLASS STOPPER









(a) When reusing the windshield glass:

(1) Apply primer (Sunstar #435-70) to the glass attachment surface of the new No. 1 windshield glass stopper.

(2) Apply primer (Sunstar #435-40) to the No. 1 windshield glass stopper attachment surface of the windshield glass.

NOTICE:
* Do not apply too much primer.
* After applying the primer for the windshield glass stopper, and dry for at least 10 minute.

(3) After drying the primer, apply adhesive (Sunstar # 560) to the No. 1 windshield glass stopper attachment surface.

(4) Install the No. 1 windshield glass stopper to the windshield glass, as shown in the illustration.









Standard Dimension:





2. INSTALL NO. 2 WINDSHIELD GLASS STOPPER

(a) When reusing the windshield glass:

HINT
Use the same procedure as for the No. 1 windshield glass stopper.

3. INSTALL WINDSHIELD OUTSIDE MOULDING

(a) Using a brush, apply primer (Sunstar GP402) to the windshield outside moulding attachment surface of the windshield glass and the windshield glass outer ends.









Standard Dimension:





NOTICE:
Do not apply primer out of the ceramic areas.

(b) After drying the primer, match the new windshield outside moulding to both edges of the windshield glass.

(c) Using a roller, crimp the windshield outside moulding in the direction of the arrows as shown in the illustration.









Standard Dimension:





Standard:

50 N/100 mm (5.1 kgf/3.94 in, 11.2 lbf/3.94 in)

NOTICE:
Install the windshield outside moulding firmly so that it does not sag

(d) Using a roller, crimp the windshield outside moulding in the direction of the arrows, as shown in the illustration.









Standard Dimension:





Standard:

50 N/100 mm (5.1 kgf/3.94 in, 11.2 lbf/3.94 in)

NOTICE:
Install the windshield outside moulding firmly so that it does not sag.

4. INSTALL UPPER WINDSHIELD GLASS SEAL

(a) Remove the release paper from the upper windshield glass seal.

HINT
After removing the release paper, keep the exposed adhesive free from foreign matter.

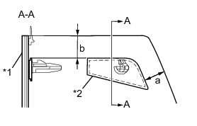
(b) install the upper windshield glass seal to the windshield outside moulding, as shown in the illustration.









Standard Dimension:





HINT
Use the same procedure for both the RH and LH sides.

5. INSTALL WINDOW GLASS ADHESIVE DAM

(a) Install the new window glass adhesive dam onto the windshield glass, as shown in the illustration.









Standard Dimension:





HINT
Use the same procedure for both the RH and LH sides.

6. INSTALL LOWER WINDSHIELD GLASS SEAL

(a) Install the new lower windshield glass seal onto the windshield glass, as shown in the illustration.









Standard Dimension:





HINT
Use the same procedure for both the RH and LH sides.

7. INSTALL WINDSHIELD GLASS

(a) Position the windshield glass.

NOTICE:
Before installing the windshield glass, wait until the adhesive hardens completely.

HINT
For the hardening time, follow the manufacturer's instruction manual.

(1) Using suction cups, place the windshield glass in the correct position.

(2) Check that the whole contact surface of the windshield rim is perfectly even.









Standard Dimension:





(3) Align the matchmarks on the windshield glass and vehicle body.









NOTICE:
Check that the windshield glass stopper are attached to the vehicle body correctly.

(4) Remove the windshield glass.

(b) Using a brush, coat the installation surface on the vehicle body with Primer.









Sunstar:

Enclosed with penguin seal #580 super.

Yokohama:

M-300 or equivalent

NOTICE:
* Do not coat the adhesive with Primer.
* Do not apply too much primer.

HINT
If an area other than that specified is coated by accident, wipe off the primer with a clean piece of cloth before it dries.

(c) Using a brush or sponge, coat the application area of adhesive with Primer.

Sunstar:

Enclosed with penguin seal #580 super.

Yokohama:

M-300 or equivalent









Standard Dimension:





NOTICE:
* Do not apply too much primer.
* Allow the primer to dry for 3 minutes or more.

HINT
* If an area other than that specified is coated by accident, wipe off the primer with a clean piece of cloth before it dries.

(d) Apply adhesive to the glass.

Adhesive:

Sunstar penguin seal #580 super.

(1) Cut off the tip of the cartridge nozzle as shown in the illustration.





Standard Dimension:





(2) Load the sealer gun with cartridge.

(3) Apply adhesive to the windshield glass, as shown in the illustration.









Standard Dimension:





HINT
Apply adhesive keep to the window glass adhesive dam.

(e) Apply adhesive tape, etc. to the windshield glass and the body panel section, and use a pen to apply matching marks for use when installing (when using the new windshield glass).









(1) Using suction cups, position the windshield glass so that the matchmarks are aligned, and press it in gently along the rim.

NOTICE:
* Check that the windshield glass stopper are attached to the vehicle body correctly.
* Check the clearance between the vehicle body and windshield glass.
* After the primer on the body is dried (about 10 minutes), install the windshield glass.

(2) Lightly press the front surface of the windshield glass to ensure that the windshield glass is securely fit to the vehicle body.

HINT
Press the glass with a force of 98 N (10 kgf, 22.0 lbf) or more.

(3) Using a scraper, remove any excess or protruding adhesive.

HINT
Apply adhesive onto the windshield glass rim.

(4) Hold the windshield glass using protective tape until the applied adhesive becomes hard.

HINT
Follow the instructions in the provided by each adhesive manufacturer regarding the minimum required drying time after applying adhesive, and the time required before driving.

8. INSPECT WATER LEAK

(a) After the adhesive has hardened, apply water from the outside of the vehicle. Check that no water leaks into the cabin.

(b) If water leaks into the cabin, allow the water to dry and add adhesive.

(c) Remove the protective tape.

9. INSTALL ROOF HEADLINING ASSEMBLY

Installation

10. INSTALL COWL VENTILATOR LOUVER Installation

11. INSTALL FRONT FENDER TO COWL SIDE SEAL RH Installation

12. INSTALL FRONT FENDER TO COWL SIDE SEAL LH

HINT
Use the same procedure as for the RH side.

13. INSTALL WINDSHIELD WIPER ARM AND BLADE ASSEMBLY LH Installation

14. INSTALL WINDSHIELD WIPER ARM AND BLADE ASSEMBLY RH Installation

15. INSTALL WINDSHIELD WIPER ARM COVER Installation