Operation CHARM: Car repair manuals for everyone.
Manuals through 2025 now available!

Our trusted friends have launched a new website named LEMON, which has newer manuals. It also contains all the CHARM manuals.

LEMON is the spiritual successor to CHARM, I recommend you try it!

Link: lemon-manuals.la or lemon-manuals.org.ua

(Some people have issue connecting. LEMON is investigating. For now, use Firefox or change your DNS server)

Or, hide this message: temporarily or permanently

Manifold Pressure/Vacuum Sensor: Testing and Inspection

Pressure Sensor Circuit:





A faulty pressure sensor or pressure exchange solenoid will set code 45 in the on-board diagnostic system. Refer to the schematic diagram and test the sensor with the diagnostic chart.

Wire color code identification:

L: Blue
B: Black
Y: Yellow
G: Green
R: Red
W: White
Br: Brown
Lg: Light green
Gr: Gray

Diagnostic Chart:





PRESSURE SENSOR / PRESSURE EXCHANGE SOLENOID DIAGNOSTIC CHART


CHECK VACUUM HOSES

Inspect the hose connections a hose integrity between the pressure sensor, pressure exchange solenoid and the intake manifold.

Pressure Sensor:





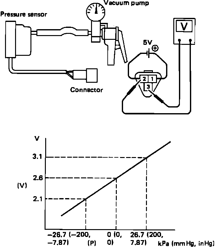
CHECK PRESSURE SENSOR

1. Disconnect the pressure sensor connector.
2. Apply 5 VDC across terminals using polarity shown in image.
3. Connect a vacuum pump to the fitting on pressure sensor.
4. Measure the voltage between terminals 2 and 3 of the sensor under the following conditions:

Connector & terminal: Voltage:
(B131)2-3 3.1 V at 26.7 kPa (7.87 in Hg)
(B131)2-3 2.6 V at 0 kPa (0 in Hg)
(B131)2-3 2.1 V at -26.7 kPa (-7.87 in Hg)

Pressure Exchange Solenoid Valve:





CHECK PRESSURE EXCHANGE SOLENOID

1. Disconnect the solenoid connector.
2. Measure the resistance across the solenoid terminals.

Connector & terminal: Resistance:
(B130)1-2 37-48 Ohms


CHECK VOLTAGE BETWEEN ECU AND GROUND

1. Connect the pressure sensor electrical and vacuum connections.
2. Connect the pressure exchange solenoid.
3. Turn the key "ON".
4. Measure the voltage between the ECU connectors and ground as follows:

Connector & terminal: Voltage:
(B48)3-Ground 5 VDC
(B48)4-Ground 2.4 - 2.7 VDC
(B48)5-Ground 0 VDC
(B47)20-Ground 0 VDC or 10 - 13 VDC


CHECK HARNESS BETWEEN ECU AND PRESSURE SENSOR

1. Disconnect ECU and pressure sensor connectors.
2. Measure resistance between ECU and pressure sensor connectors as follows:

Connector & terminal: Resistance:
(B48)3-(B131)1 0 Ohms
(B48)4-(B131)3 0 Ohms
(B48)5-(B131)2 0 Ohms

CHECK HARNESS BETWEEN ECU AND PRESSURE EXCHANGE SOLENOID

1. Disconnect ECU and solenoid connectors.
2. Measure resistance between ECU and solenoid connectors as follows:

Connector & terminal: Resistance:
(F47)20-(B130)1 0 Ohms


CHECK HARNESS BETWEEN BATTERY AND PRESSURE EXCHANGE SOLENOID

1. Disconnect ignition relay and solenoid connectors.
2. Measure resistance between relay and solenoid connectors as follows:

Connector & terminal: Resistance:
(B29)4-(B130)2 0 Ohms