Operation CHARM: Car repair manuals for everyone.
Manuals through 2025 now available!

Our trusted friends have launched a new website named LEMON, which has newer manuals. It also contains all the CHARM manuals.

LEMON is the spiritual successor to CHARM, I recommend you try it!

Link: lemon-manuals.la or lemon-manuals.org.ua

(Some people have issue connecting. LEMON is investigating. For now, use Firefox or change your DNS server)

Or, hide this message: temporarily or permanently

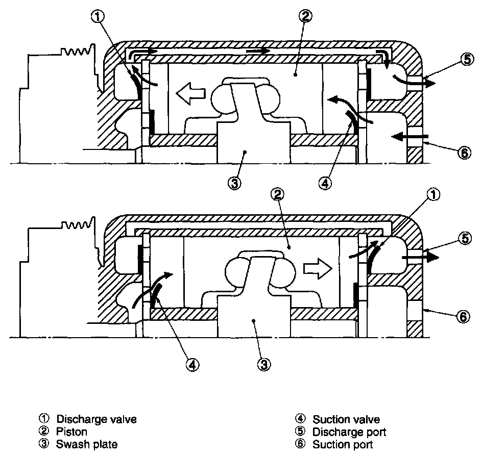
Function

2. FUNCTION





1) Suction, compression and discharge
The low pressure refrigerant gas from the evaporator is forced from the suction side of each cylinder head through the suction valve opened by the suction action of the piston into the cylinder. When the refrigerant in the cylinder is compressed by the piston and increases its pressure, the discharge valve is caused to open to discharge the refrigerant to the discharge side.





2) Lubrication
(1) Lubrication of swash plate and shoes
- Oil contained in the low pressure refrigerant gas drawn into the compressor
- Agitation of the oil in the oil pan by rotation of the swash plate
(2) Lubrication of bearing
- The oil is diffused by the negative pressure which is produced when the low pressure refrigerant gas passes through the suction port of the valve plate at a high speed.