Operation CHARM: Car repair manuals for everyone.
Manuals through 2025 now available!

Our trusted friends have launched a new website named LEMON, which has newer manuals. It also contains all the CHARM manuals.

LEMON is the spiritual successor to CHARM, I recommend you try it!

Link: lemon-manuals.la or lemon-manuals.org.ua

(Some people have issue connecting. LEMON is investigating. For now, use Firefox or change your DNS server)

Or, hide this message: temporarily or permanently

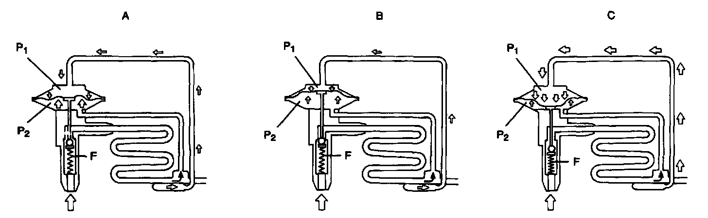
2. Function





2. FUNCTION
The operation of the external equalizer type is as follows.

The expansion valve opening is automatically controlled by the functions of three force: the pressure of the temperature-sensing bulb (P1) containing a liquid or vapor, the pressure at the evaporator outlet (P2), and the force of the spring (F).

Temperature-sensing bulb pressure (Pi)
.....Forces the diaphragm downward (opens the valve).

Pressure at the evaporator outlet (P2)
.....Forces the diaphragm upward (closes the valve).

Force of the spring (F)
.....Forces the ball upward (closes the valve).

A: Condition of the valve with the compressor in off.
Since the temperature around the evaporator is constant, the pressure in the evaporator is equal to that of the temperature-sensing bulb. Therefore, the force of the spring is greater than these pressures and the pressures are in the following condition:

P1 = P2
P1 < P2 + F

That means, the valve is closed with the ball pushed upward.

B: Operation of the valve with the sensing bulb at low temperatures (When the temperature is low at evaporator outlet)
As the temperature of the compartment decreases, the heat load applied to the evaporator becomes less, and the temperatures at the evaporator outlet, and the sensing bulb drop. Accordingly, the valve tends to close, reducing the amount of refrigerant.

P1 < P2 + F

The amount of refrigerant is reduced.

C: Operation of valve with the sensing bulb at high temperatures (When the temperature is high at evaporator outlet)
As the temperature of the compartment rises, the heat load applied to the evaporator becomes greater, and the temperatures at the evaporator outlet, and the sensing bulb increase. Therefore, the valve tends to open, allowing more refrigerant to flow.

P1 > P2 + F

The amount of refrigerant is increased.