Operation CHARM: Car repair manuals for everyone.
Manuals through 2025 now available!

Our trusted friends have launched a new website named LEMON, which has newer manuals. It also contains all the CHARM manuals.

LEMON is the spiritual successor to CHARM, I recommend you try it!

Link: lemon-manuals.la or lemon-manuals.org.ua

(Some people have issue connecting. LEMON is investigating. For now, use Firefox or change your DNS server)

Or, hide this message: temporarily or permanently

Inspection

INSPECTION

1. TIMING BELT
1) Check timing belt teeth for breaks, cracks, and wear. It any fault is found, replace belt.
2) Check the condition of back side of belt; if any crack is found, replace belt.

CAUTION:
- Be careful not to let oil, grease or coolant contact the belt. Remove quickly and thoroughly if this happens.





- Do not bend the belt sharply.

Bending radius: h
60 mm (2.36 in) or more


2. BELT TENSION ADJUSTER
1) Visually check oil seals for leaks, and rod ends for abnormal wear or scratches. If necessary, replace belt tension adjuster.

CAUTION: Slight traces of oil at rod's oil seal does not indicate a problem.

2) While holding tensioner with both hands, push the rod section against floor or wall ensuring the rod section will react as follows:
(1) When applying a force of 147 N (15 kg, 33 lb), the rod section should not sink.
(2) When applying a force of 147 to 490 N (15 to 50 kg, 33 to 110 lb), the rod section should maintain a projectionally acting force and should not sink within 8.5 seconds.





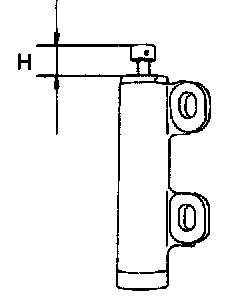
3) Measure the extension of rod beyond the body. If it is not within specifications, replace with a new one.

Rod extension: H
15.4 - 16.4 mm (0.606 - 0.646 in)


3. BELT TENSIONER
1) Check mating surfaces of timing belt and contact point of tension adjuster rod for abnormal wear or scratches.
Replace belt tensioner if faulty.
2) Check spacer and tensioner bushing for wear.
3) Check tensioner for smooth rotation. Replace if noise or excessive play is noted.
4) Check tensioner for grease leakage.

4. BELT IDLER
1) Check idler for smooth rotation. Replace if noise or excessive play is noted.
2) Check outer contacting surfaces of idler pulley for abnormal wear and scratches.
3) Check idler for grease leakage.

5. SPROCKET
1) Check sprocket teeth for abnormal wear an scratches.
2) Make sure there is no free play between sprocket and key.
3) Check crankshaft sprocket notch for sensor for damage and contamination of foreign matter.