Operation CHARM: Car repair manuals for everyone.
Manuals through 2025 now available!

Our trusted friends have launched a new website named LEMON, which has newer manuals. It also contains all the CHARM manuals.

LEMON is the spiritual successor to CHARM, I recommend you try it!

Link: lemon-manuals.la or lemon-manuals.org.ua

(Some people have issue connecting. LEMON is investigating. For now, use Firefox or change your DNS server)

Or, hide this message: temporarily or permanently

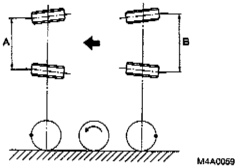
Front

Measurement





1. Using a toe gauge, measure front wheel toe-in. Toe-in: 0 ± 3 mm (0 ± 0.12 inch).
2. Mark rear sides of left and right tires at height corresponding to center of spindles and measure distance "B" between marks.
3. Move vehicle forward so that marks line up with front sides at height corresponding to center of spindles.
4. Measure distance "A" between left and right marks. Toe-in can then be obtained by the following equation: B - A = Toe-in.

Adjustment





1. Loosen the left and right side steering tie-rods lock nuts.
2. Turn the left and right tie rods equal amounts until the toe-in is at the specification. Both the left and right tie-rods are right-hand threaded. To increase toe-in, turn both tie-rods clockwise equal amounts (as viewed from the inside of the vehicle).
3. Tighten tie-rod lock nut. Tightening torque: 83 ± 5 Nm (61.5 ± 3.6 ft. lbs.).

CAUTION: Correct tie-rod boot, if it is twisted.

NOTE: Check the left and right wheel steering angle is within specifications.