Operation CHARM: Car repair manuals for everyone.
Manuals through 2025 now available!

Our trusted friends have launched a new website named LEMON, which has newer manuals. It also contains all the CHARM manuals.

LEMON is the spiritual successor to CHARM, I recommend you try it!

Link: lemon-manuals.la or lemon-manuals.org.ua

(Some people have issue connecting. LEMON is investigating. For now, use Firefox or change your DNS server)

Or, hide this message: temporarily or permanently

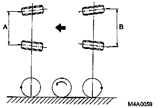
Rear

Measurement





1. Using a toe-in gauge, measure rear wheel toe-in. Toe-in: 0 ± 3 mm (0 ± 0.12 inch).
2. Mark rear sides of left and right tires at height corresponding to center of spindles and measure distance "B" between marks.
3. Move vehicle forward so that marks line up with front sides at height corresponding to center of spindles.
4. Measure distance "A" between left and right marks. Toe-in can then be obtained by the following equation: B - A = Toe-in.

Adjustment





1. Loosen self-locking nut on inner side of rear lateral link.

CAUTION:
^ When loosening or tightening adjusting bolt, hold bolt head and turn self-locking nut.
^ Discard loosened self-locking nut and replace with a new one.





2. Turn adjusting bolt head until toe-in is at the specification.

NOTE: When left and right wheels are adjusted for toe-in at the same time, the movement of one scale graduation changes toe-in by approximately 3 mm (0.12 inch).

3. Tighten self-locking nut. Tightening torque: 98 ± 15 Nm (72 ± 11 ft.lbs.).