Operation CHARM: Car repair manuals for everyone.
Manuals through 2025 now available!

Our trusted friends have launched a new website named LEMON, which has newer manuals. It also contains all the CHARM manuals.

LEMON is the spiritual successor to CHARM, I recommend you try it!

Link: lemon-manuals.la or lemon-manuals.org.ua

(Some people have issue connecting. LEMON is investigating. For now, use Firefox or change your DNS server)

Or, hide this message: temporarily or permanently

Drum Brake System: Service and Repair






REMOVAL

Brake Drum And Shoe
1. Loosen wheel nuts, jack-up vehicle, support it with rigid racks, and remove wheel.
2. Release parking brake.





3. Remove brake drum from brake assembly.





NOTE: If it is difficult to remove brake drum, remove adjusting hole cover from back plate, and then, turn adjuster assembly pawls using a slot-type screwdriver until brake shoe separates from the drum.

4. Hold hold-down pin by securing rear of back plate with your hand.





5. Disconnect hold-down cup from hold-down pin by rotating hold-down cup.





6. Disconnect lower shoe return spring from shoes.





7. Remove shoes one by one from back plate with adjuster.

CAUTION: Be careful not to bend parking brake cable excessively when removing brake shoes.

8. Disconnect parking brake cable from parking lever.





9. Remove the parts shown.

Brake Assembly
1. Remove wheel.
2. Remove axle nut.
3. Remove brake drum.





4. Unscrew the brake pipe flare nut and disconnect brake pipe.
5. Remove hub.





6. Remove the bolts installing back plate, and then, remove brake assembly.

Wheel Cylinder
1. Remove brake drum and shoes.
2. Unscrew brake pipe flare nut; and disconnect brake pipe.





3. Remove the bolts installing wheel cylinder on back plate, and remove it.

DISASSEMBLY

Wheel Cylinder
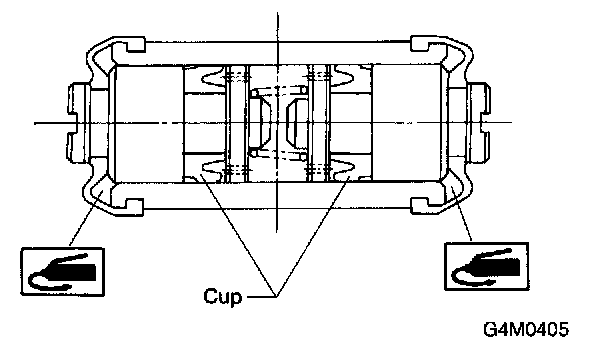
1. Remove right and left dust boots from wheel cylinder.





2. Remove piston, cup, spring and air bleeder screw and cap.

INSPECTION
1. If the inside surface of brake drum is streaked, correct the surface. And, if it is unevenly worn, taperingly streaked, or the outside surface of brake drum is damaged, correct or replace it.





2. Measure the drum inner diameter.
Drum inner diameter: "L"
Standard: 228.6 mm (9 inch)
Service limit: 230.6 mm (9.08 inch)


3. Measure the lining thickness.
Lining thickness:
Standard: 4.1 mm (0.161 inch)
Service limit: 1.5 mm (0.059 inch)

4. If the deformation or wear of back plate, shoe, etc. are notable, replace them.
5. When the shoe return spring tension is excessively weakened, replace it, taking care to identify upper and lower springs.

ASSEMBLY

Wheel Cylinder
1. Clean all parts in brake fluid. Check and replace faulty parts.
^ Cup and boot for damage or fatigue
^ Cylinder, piston and spring or damage or rust formation





2. Assembly is the reverse order of disassembly.
1. When installing the cup, use ST, apply brake fluid to the frictional surface for smooth installation and pay attention to cup direction.
2. STs are available in different sizes.





CAUTION:
^ When replacing the repair kit, make sure that the sizes of cylinder and cup are the same as those which were replaced.
^ Use only the tool of the correct size.
^ While assembling, be careful to prevent any metal chip, dust or dirt from entering the wheel cylinder.





3. Apply rubber grease to the boot inside as shown in Figure.
Grease: NIGLUBE RX-2 (Part No. 003606000)

CAUTION: Never use brake grease.

INSTALLATION

Wheel Cylinder





1. Install wheel cylinder on back plate, and tighten bolts.
Tightening torque: 10 ± 2 Nm (1.0 ± 0.2 kg.m, 7.2 ± 1.4 ft. lbs.)

Brake Drum And Shoe
1. Clean back plate and wheel cylinder.





2. Apply grease to portions indicated by arrows in Figure.
Brake grease: Dow Corning Molykote No. 7439 (Part No. 725191460)





3. Apply grease to adjusting screw and both ends of adjuster.
Brake grease: Dow Corning Molykote No. 7439 (Part No. 725191460)
4. Connect upper shoe return spring to shoes.





5. While positioning shoes (one at a time) in groove on wheel cylinder, secure shoes.
6. Connect lower shoe return spring.
7. Fix shoes by connecting hold-down cup to hold-down pin.

Brake Assembly





1. Install brake assembly on housing, and tighten bolts to install back plate.
Tightening torque: 52 ± 6 Nm (5.3 ± 0.6 kg.m, 38.3 ± 4.3 ft. lbs.)
2. Install hub.
3. Connect brake pipe, and tighten brake pipe flange nut.
Tightening torque: 15 +3/-2 Nm (1.5 +0.3/-0.2 kg.m, 10.8 +2.2/-1.4 ft. lbs.)
4. Set the outside diameter of brake shoes less than 0.5 to 0.8 mm (0.020 to 0.031 inch) in comparison with the inside diameter of brake drum.
5. Install brake drum.
6. After installing brake assembly, bleed air from brake line.