Operation CHARM: Car repair manuals for everyone.
Manuals through 2025 now available!

Our trusted friends have launched a new website named LEMON, which has newer manuals. It also contains all the CHARM manuals.

LEMON is the spiritual successor to CHARM, I recommend you try it!

Link: lemon-manuals.la or lemon-manuals.org.ua

(Some people have issue connecting. LEMON is investigating. For now, use Firefox or change your DNS server)

Or, hide this message: temporarily or permanently

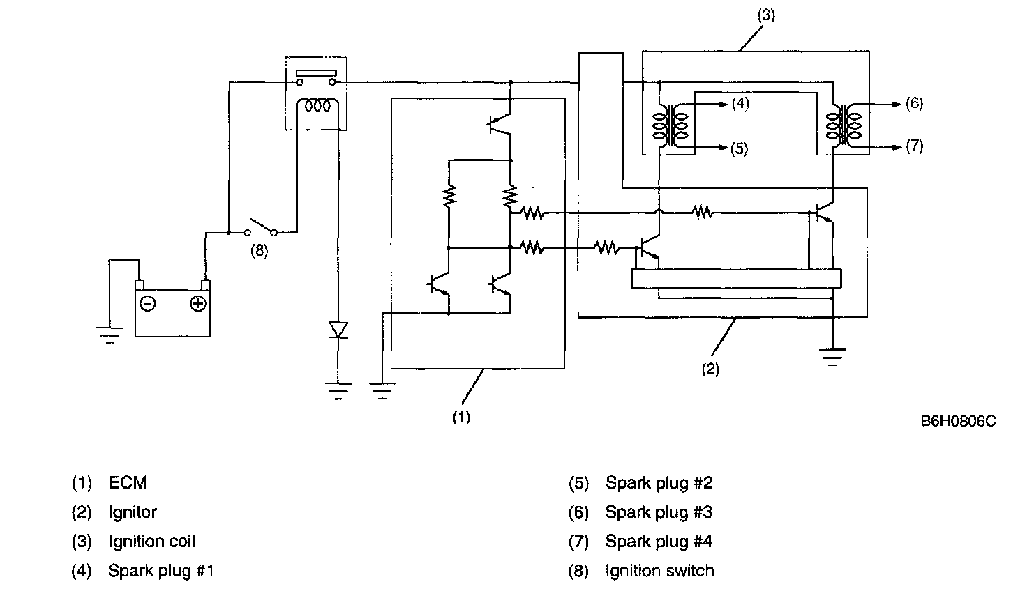
Ignition Control Module: Description and Operation







The ignition coil is of the type that is made integral with an ignitor.
The ignition system is of a 2-cylinder simultaneous ignition design. In response to the signal from the ECM, the ignitor supplies another signal to the ignition coil to ignite a pair of cylinders #1 and #2 or #3 and #4 simultaneously.