Operation CHARM: Car repair manuals for everyone.
Manuals through 2025 now available!

Our trusted friends have launched a new website named LEMON, which has newer manuals. It also contains all the CHARM manuals.

LEMON is the spiritual successor to CHARM, I recommend you try it!

Link: lemon-manuals.la or lemon-manuals.org.ua

(Some people have issue connecting. LEMON is investigating. For now, use Firefox or change your DNS server)

Or, hide this message: temporarily or permanently

Flow of Diagnosis





A: BASIC DIAGNOSTICS PROCEDURE





B: ABNORMAL DISPLAY ON AT OIL TEMP INDICATOR
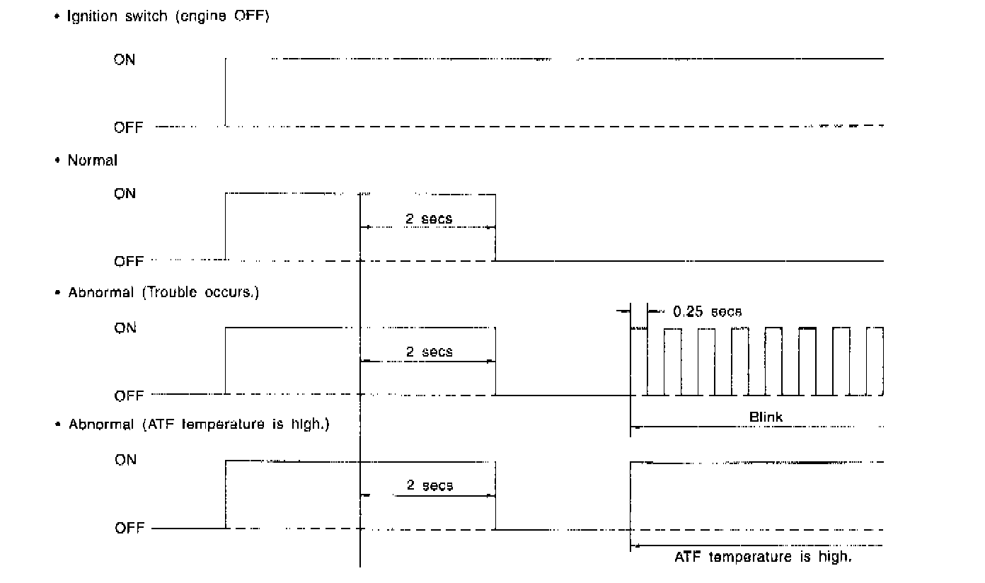
When any on-board diagnostics item is malfunctioning, the display on the AT OIL TEMP indicator lamp blinks from the time the malfunction is detected after starting the engine until the ignition switch is turned OFF. The malfunctioning part or unit can be determined by a trouble code during on-board diagnostics operation. Problems which occurred previously can also be identified through the memory function. If the AT OIL TEN indicator does not show a problem (although a problem is occurring), the problem can be determined by checking the performance characteristics of each sensor using the select monitor. Indicator signal is as shown in the figure.





C: ON-BOARD DIAGNOSTICS