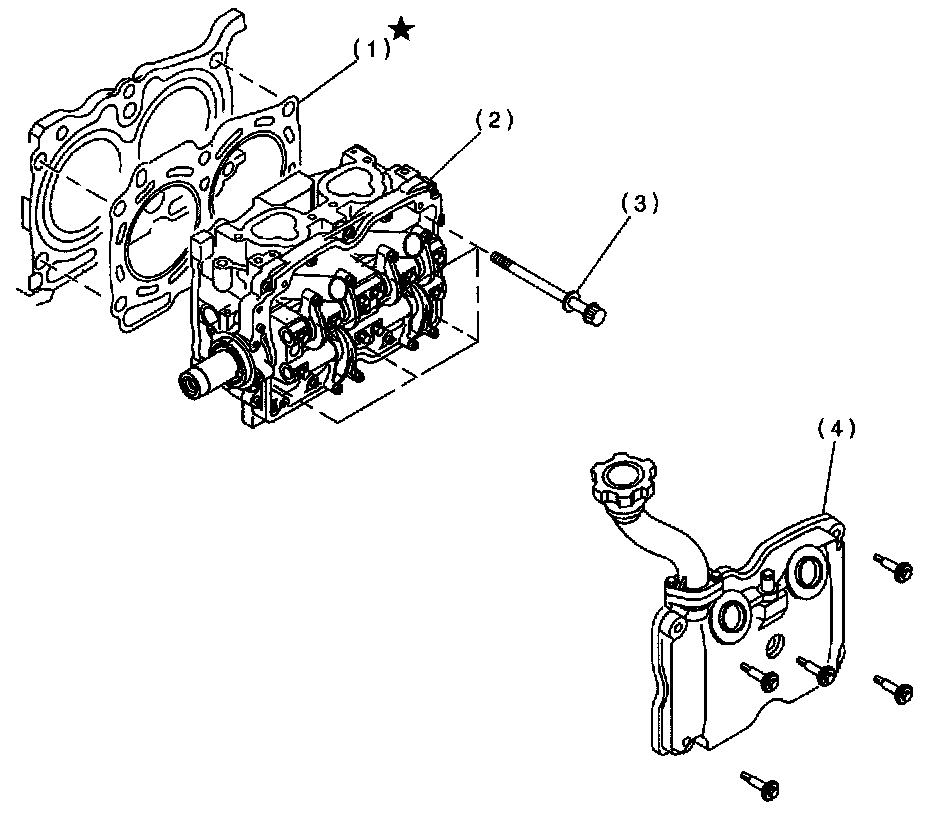
Cylinder Head
INSTALLATION
1. CYLINDER HEAD
(1) Cylinder head gasket
(2) Cylinder head
(3) Cylinder head bolt
(4) Rocker cover
2. Install cylinder head and gaskets on cylinder block.
CAUTION: Use new cylinder head gaskets.
3. Tighten cylinder head bolts.
(1) Apply a coat of engine oil to washers and bolt threads.
(2) Tighten all bolts to 29 N.m (3.0 kg-m, 22 ft-lb) in alphabetical sequence.
Then tighten all bolts to 69 N.m (7.0 kg-m, 51 ft-lb) in alphabetical sequence.
(3) Back off all bolts by 180° first; back them off by 180° again.
(4) Tighten bolts (a) and (b) to 34 N.m (3.5 kg-m, 25 ft-lb).
(5) Tighten bolts (c), (d), (e) and (f) to 15 N.m (1.5 kg-m, 11 ft-lb).
(6) Tighten all bolts by 80 to 90° in alphabetical sequence.
CAUTION: Do not tighten bolts more than 90°.
(7) Further tighten all bolts by 80 to 90° in alphabetical sequence.
CAUTION: Ensure that the total "re-tightening angle" [in the former two steps], do not exceed 180°.
3. Install oil level gauge guide and tighten attaching bolt (left side only).
4. Install timing belt, camshaft sprocket and related parts.