Operation CHARM: Car repair manuals for everyone.
Manuals through 2025 now available!

Our trusted friends have launched a new website named LEMON, which has newer manuals. It also contains all the CHARM manuals.

LEMON is the spiritual successor to CHARM, I recommend you try it!

Link: lemon-manuals.la or lemon-manuals.org.ua

(Some people have issue connecting. LEMON is investigating. For now, use Firefox or change your DNS server)

Or, hide this message: temporarily or permanently

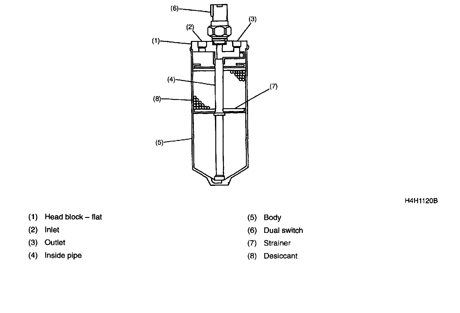
Receiver Dryer: Description and Operation

Receiver Dryer




The amount of refrigerant circulating varies with the heat load changes.The receiver drier supplies the amount of refrigerant necessary for the cycle according to such changes.
1. It removes bubbles from the condensed refrigerant so that only liquid refrigerant may be delivered to the expansion valve. (If bubbles are present, the refrigerant passing through the expansion valve varies in quantity, temperature, and pressure, resulting in insufficient cooling.)
2. It removes moisture from the refrigerant.
3. It removes foreign substance from the refrigerant.
4. It permits a visual observation of the amount of refrigerant through the sight glass.

The receiver-drier consists of a strainer to remove foreign substance, desiccant to absorb moisture from refrigerant, a sight glass to check the amount of refrigerant.