Operation CHARM: Car repair manuals for everyone.
Manuals through 2025 now available!

Our trusted friends have launched a new website named LEMON, which has newer manuals. It also contains all the CHARM manuals.

LEMON is the spiritual successor to CHARM, I recommend you try it!

Link: lemon-manuals.la or lemon-manuals.org.ua

(Some people have issue connecting. LEMON is investigating. For now, use Firefox or change your DNS server)

Or, hide this message: temporarily or permanently

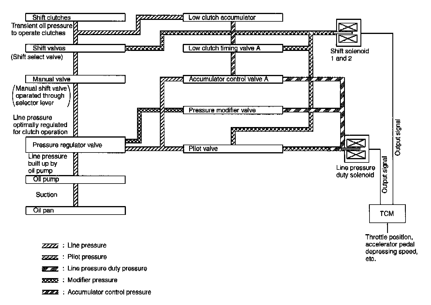
F: Line-Pressure Shifting Control

F: LINE-PRESSURE SHIFTING CONTROL





Function
Oil pressure which engages shift clutches (to provide 1st through 4th speeds) is electronically controlled to meet varying operating conditions.
In other words, line pressure decreases to match the selected shift position, minimizing shifting shock.

Electronic Control Of Clutch Oil Pressure In Summary
- Solenoids activate through the TCM which receives various control signals (throttle signal, etc.)
- Control signals are converted into line pressure duty pressure, which is transmitted to the pressure modifier valve.