Operation CHARM: Car repair manuals for everyone.
Manuals through 2025 now available!

Our trusted friends have launched a new website named LEMON, which has newer manuals. It also contains all the CHARM manuals.

LEMON is the spiritual successor to CHARM, I recommend you try it!

Link: lemon-manuals.la or lemon-manuals.org.ua

(Some people have issue connecting. LEMON is investigating. For now, use Firefox or change your DNS server)

Or, hide this message: temporarily or permanently

Front Seat






REMOVAL

CAUTION:
- Be careful not to scratch seat when removing it from vehicle.
- After the front seat has been removed from side airbag equipped vehicle, store it as instructed in AIRBAG REPAIR SECTION.

1. Disconnect ground cable from battery.




2. While operating button (located on top of backrest), lift headrest out with hand placed between backrest and headrest.
3. Pull reclining lever back to fold backrest all the way forward. Move seat all the way forward.
4. Disconnect connector under the seat.
5. Disconnect side airbag connector. (Side airbag equipped vehicle)
6. Remove bolt cover at rear end of slide rail.




7. Remove bolts securing seat rear.
8. Slide seat all the way back.




9. Remove bolts securing front of seat.
10. Remove front seat from vehicle, then install headrest.

INSTALLATION




1. While operating button (located on top of backrest), lift headrest out by placing your hand between backrest and headrest.
2. Pull reclining lever back to fold backrest all the way forward.




3. Position seat in compartment and align the holes on the seat with the holes on the vehicle body side.

NOTE: Be sure to position seat so rear seat rails sit on their location bolt (A).

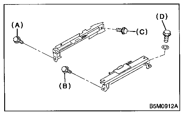
4. Secure the front of seat using inward and outward bolts (A) and (B) in that order.
5. Move seat all the way forward.




6. Secure the rear of seat using inward and outward bolts (C) and (D).

CAUTION: Check that all lock plate pawls are completely and equally inserted into the holes in the slide rail brackets. (Conventional seat)

7. Connect connector under the seat.
8. Connect side airbag connector. (Side airbag equipped model)
9. After installation, ensure that all mechanisms operate properly and lock.
10. It any mechanism does not function properly, loosen bolts (C) and (D), slide seat as required, insert all lock plate pawls into holes in slide rail brackets, and tighten bolts (C) and (D) in that order. (Conventional seat)
11. Install bolt cover on rear end of slide rail.
12. Install headrest on backrest.

NOTE: Tighten bolts in the designated order.





Torque specifications