Operation CHARM: Car repair manuals for everyone.
Manuals through 2025 now available!

Our trusted friends have launched a new website named LEMON, which has newer manuals. It also contains all the CHARM manuals.

LEMON is the spiritual successor to CHARM, I recommend you try it!

Link: lemon-manuals.la or lemon-manuals.org.ua

(Some people have issue connecting. LEMON is investigating. For now, use Firefox or change your DNS server)

Or, hide this message: temporarily or permanently

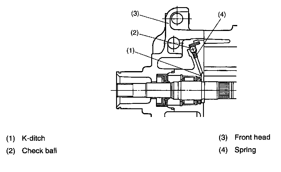
Trigger Valve

Trigger Valve




This mechanism is designed to maintain proper vane back pressure to allow the vanes to move out with ease when the compressor starts. The trigger valve is provided in the side block, and a ditch called the K-ditch is provided in the side block rotor surface. The trigger valve has a ball combined with a spring. When vane chattering readily occurs like when the compressor starts or when the difference between the high and low pressures is small, spring action causes the valve to open to provide additional back pressure to the vanes, thereby assuring smooth operation.




1. When compressor starts or when load is low:
When the compressor starts or when the load is low (the high pressure value is low), the trigger valve is opened by spring action to apply the pressure of the high pressure chamber to the back plane of vane to prevent vane chattering.




2. When compressor is in regular operation:
When the pressure in the high pressure chamber of the compressor increases, the pressure difference closes the trigger valve against spring action. The oil port pressure of the side block is applied to the back plane of vane to maintain proper back pressure.