Operation CHARM: Car repair manuals for everyone.
Manuals through 2025 now available!

Our trusted friends have launched a new website named LEMON, which has newer manuals. It also contains all the CHARM manuals.

LEMON is the spiritual successor to CHARM, I recommend you try it!

Link: lemon-manuals.la or lemon-manuals.org.ua

(Some people have issue connecting. LEMON is investigating. For now, use Firefox or change your DNS server)

Or, hide this message: temporarily or permanently

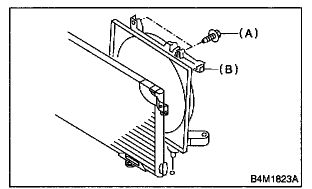
Condenser Fan: Service and Repair

Condenser Fan

1. Disconnect battery negative terminal.




2. Remove duct (A).
3. Disconnect harness connector from fan motor.
4. Remove condenser fan bolt (A) from radiator.




5. Pull condenser tan assembly (B).
6. Install the condenser fan assembly in the reverse order of removal.