Operation CHARM: Car repair manuals for everyone.
Manuals through 2025 now available!

Our trusted friends have launched a new website named LEMON, which has newer manuals. It also contains all the CHARM manuals.

LEMON is the spiritual successor to CHARM, I recommend you try it!

Link: lemon-manuals.la or lemon-manuals.org.ua

(Some people have issue connecting. LEMON is investigating. For now, use Firefox or change your DNS server)

Or, hide this message: temporarily or permanently

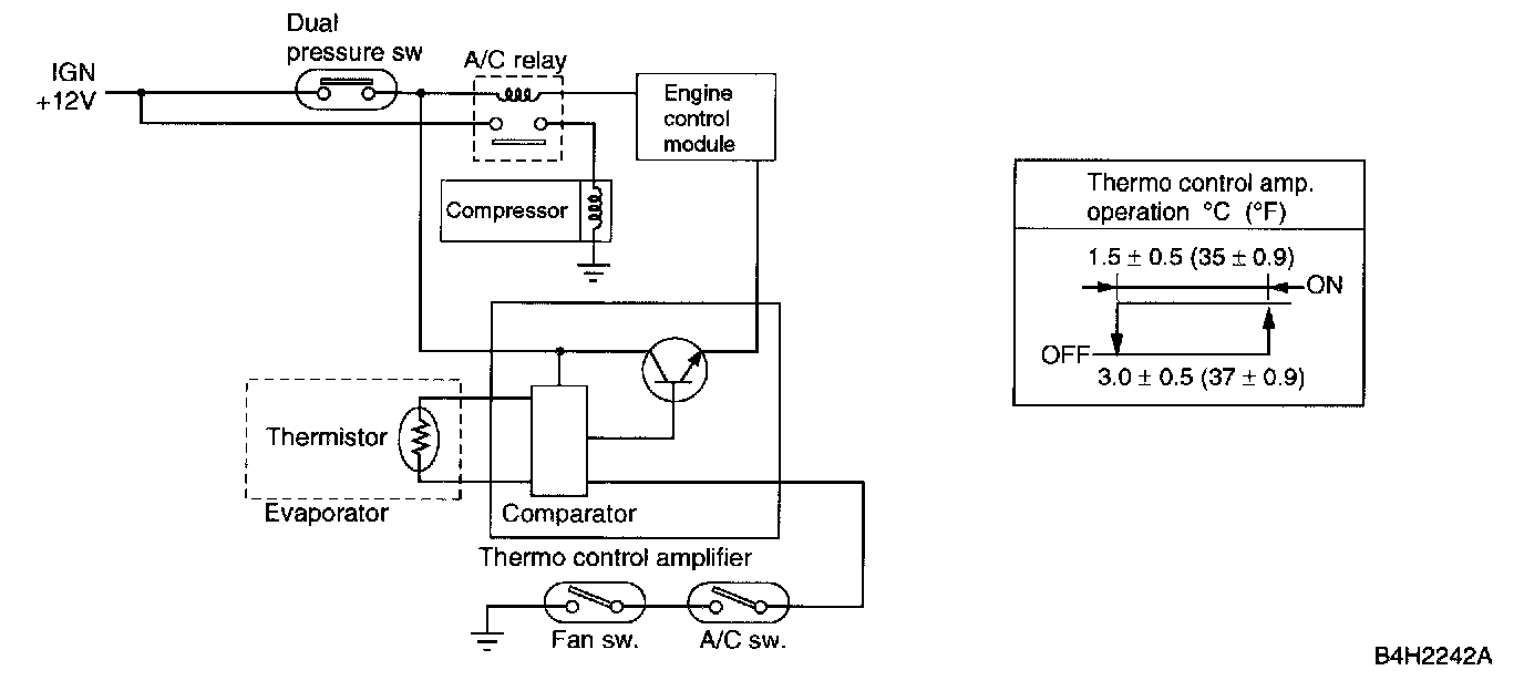
Thermo Control Amplifier




The thermo control amplifier disconnects the magnet clutch circuit to prevent the evaporator from becoming frosted when the temperature of the evaporator fin drops close to "3°C (37°F)". As the evaporator is cooled, the thermistor (located on the evaporator fin) interrupts the "base" current of the amplifier. This in turn deenergizes the A/C relay coil, which in turn disconnects the magnet clutch circuit.