Operation CHARM: Car repair manuals for everyone.
Manuals through 2025 now available!

Our trusted friends have launched a new website named LEMON, which has newer manuals. It also contains all the CHARM manuals.

LEMON is the spiritual successor to CHARM, I recommend you try it!

Link: lemon-manuals.la or lemon-manuals.org.ua

(Some people have issue connecting. LEMON is investigating. For now, use Firefox or change your DNS server)

Or, hide this message: temporarily or permanently

Combination Switch: Service and Repair

REMOVAL

1. Turn ignition switch off.
2. Disconnect ground cable from battery and wait for at least 20 seconds before starting work.




3. Remove lower cover. Disconnect airbag connector (AB3) and (AB8) below steering column.

CAUTION: Do not reconnect airbag connector at steering column until combination switch is securely reinstalled.

4. Disconnect combination switch connectors from body harness connector.




5. Set front wheels in straight ahead position. Using T30 TORX(R) bit, remove two TORX(R) bolts.




6. Disconnect airbag connector on back of airbag module. Remove airbag module, and place it with pad side facing upward.




7. Using steering puller, remove steering wheel.

CAUTION: Do not allow connector to interfere when removing steering wheel.

8. Remove steering column covers.




9. Removing three retaining screws, remove combination switch.

INSTALLATION

CAUTION: Failure to do this might damage roll connector.

1. Before installing combination switch, check to ensure that combination switch is off and front wheels are set in the straight ahead position.
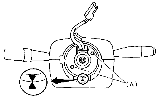
2. Install column cover and center roll connector.




3. Install steering wheel in neutral position. Carefully insert roll connector pin (A) into hole on steering wheel.

NOTE: If steering wheel angle requires fine adjustment, adjust tie-rod.

4. Install airbag module and lower cover in the reverse order of removal.