Operation CHARM: Car repair manuals for everyone.
Manuals through 2025 now available!

Our trusted friends have launched a new website named LEMON, which has newer manuals. It also contains all the CHARM manuals.

LEMON is the spiritual successor to CHARM, I recommend you try it!

Link: lemon-manuals.la or lemon-manuals.org.ua

(Some people have issue connecting. LEMON is investigating. For now, use Firefox or change your DNS server)

Or, hide this message: temporarily or permanently

Valve Rocker Assembly

REMOVAL
1. Disconnect PCV hose and remove rocker cover.
2. Loosen bolt which secures rocker shaft support.
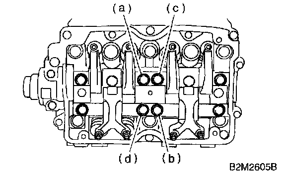
3. Removal of valve rocker assembly





a. Remove bolts (a) through (d) in alphabetical sequence.

CAUTION: Leave two or three threads of bolt (a) engaged to retain valve rocker assembly.





b. Equally loosen bolts (e) through (h) all the way, being careful that knock pin is not gouged.





c. Remove valve rocker assembly.

DISASSEMBLY
1. Remove bolts which secure rocker shaft.
2. Extract rocker shaft. Remove valve rocker arms, springs, plates and shaft supports from rocker shaft.

CAUTION: Arrange all removed parts in order so that they can be installed in their original positions.

3. Remove nut and adjuster screw from valve rocker.

INSPECTION
1. VALVE ROCKER ARM





1 of 2





2 of 2

1. Measure inside diameter of valve rocker arm and outside diameter of valve rocker shaft, and determine the difference between the two (= oil clearance).
Clearance between arm and shaft:
Standard 0.020 - 0.054 mm (0.0008 - 0.0021 inch)
Limit 0.10 mm (0.0039 inch)
2. If oil clearance exceeds the limit, replace valve rocker arm or shaft, whichever shows greater amount of wear.
Rocker arm inside diameter: 22.020 - 22.041 mm (0.8669 - 0.8678 inch)
Rocker shaft diameter: 21.987 - 22.000 mm (0.8656 - 0.8661 inch)
3. Measure inside diameter of rocker shaft support and outside diameter of valve rocker shaft, and determine the difference between the two (= oil clearance).
Clearance between support and shaft:
Standard 0.005 - 0.039 mm (0.0002 - 0.0015 inch)
Limit 0.05 mm (0.0020 inch)
4. If oil clearance exceeds the limit, replace rocker shaft support or shaft, whichever shows greater amount of wear.
Rocker shaft support inside diameter: 22.005 - 22.026 mm (0.8663 - 0.8672 inch)
Rocker shaft diameter: 21.987 - 22.000 mm (0.8656 - 0.8661 inch)
5. If cam or valve contact surface of valve rocker arm is worn or dented excessively, replace valve rocker arm.
6. Check that valve rocker arm roller rotates smoothly. If not, replace valve rocker arm.

2. INTAKE AND EXHAUST VALVE ROCKER SHAFT
Visually check oil relief valve of shaft end for any of the following abnormalities.
^ Breaks in check ball body
^ Foreign particles caught in valve spring
^ Oil leakage at check ball

CAUTION: Repair or replace valve rocker shaft as necessary.

ASSEMBLY





1. Install adjuster screw and nut to valve rocker.
2. Arrange valve rocker arms, springs and shaft supports in assembly order and insert valve rocker shaft.
Tightening torque (Shaft supports installing bolts): 5 ±1 Nm 0.5 ±0.1 kg-m, 3.6 ±0.7 ft. lbs.)

CAUTION: Valve rocker arms, rocker shaft and shaft supports have identification marks. Ensure parts with same markings are properly assembled.

3. Install valve rocker shaft securing bolts.

INSTALLATION
1. Installation of valve rocker assembly
a. Temporarily tighten bolts (a) through (d) equally as shown in figure.

CAUTION: Do not allow valve rocker assembly to gouge knock pins.

b. Tighten bolts (e) through (h) to specified torque.





c. Tighten bolts (a) through (d) to specified torque.
Tightening torque: 25 ±2 Nm (2.5 ±0.2 kg-m, 18.1 ±1.4 ft. lbs.)
2. Adjust the valve clearances.
3. Install rocker cover and connect PCV hose.