Operation CHARM: Car repair manuals for everyone.
Manuals through 2025 now available!

Our trusted friends have launched a new website named LEMON, which has newer manuals. It also contains all the CHARM manuals.

LEMON is the spiritual successor to CHARM, I recommend you try it!

Link: lemon-manuals.la or lemon-manuals.org.ua

(Some people have issue connecting. LEMON is investigating. For now, use Firefox or change your DNS server)

Or, hide this message: temporarily or permanently

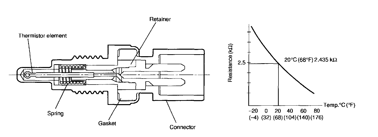
Coolant Temperature Sensor/Switch (For Computer): Description and Operation




ENGINE COOLANT TEMPERATURE SENSOR
- The engine coolant temperature sensor is located on the engine coolant pipe which is made of aluminum alloy. Its thermistor changes resistance with respect to temperature. A engine coolant temperature signal converted into resistance is transmitted to the ECM to control the amount of fuel injection, ignition timing, purge control solenoid valve, etc.