Operation CHARM: Car repair manuals for everyone.
Manuals through 2025 now available!

Our trusted friends have launched a new website named LEMON, which has newer manuals. It also contains all the CHARM manuals.

LEMON is the spiritual successor to CHARM, I recommend you try it!

Link: lemon-manuals.la or lemon-manuals.org.ua

(Some people have issue connecting. LEMON is investigating. For now, use Firefox or change your DNS server)

Or, hide this message: temporarily or permanently

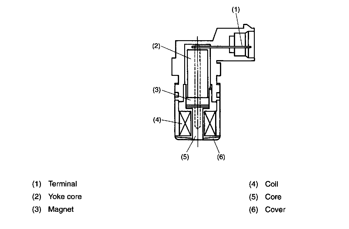
Crankshaft Position Sensor: Description and Operation




CRANKSHAFT POSITION SENSOR
- The crankshaft position sensor is installed on the oil pump, located in the front center portion of the cylinder block, to detect the crankshaft position. It is designed so that the ECM accurately reads the number of pulses which occur when protrusions provided at the perimeter of the crankshaft sprocket (rotating together with the crankshaft) cross the crankshaft position sensor.
- The crankshaft position sensor is a molded type which consists of a magnet, core, coil, terminals, etc.




- Crankshaft rotation causes these protrusions to cross the crankshaft position sensor so that magnetic fluxes in the coil change with the change in air gap between the sensor pickup and the sprocket. The change in air gap induces an electromotive force which is transmitted to the ECM.