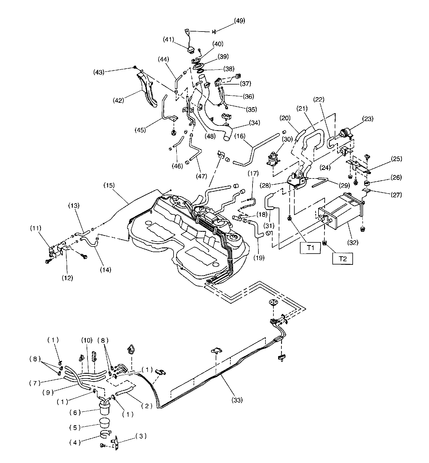
Fuel Return Line
1. Clamp
2. Fuel delivery hose A
3. Fuel filter bracket
4. Fuel filter holder
5. Fuel filter cup
6. Fuel filter
7. Evaporation hose
8. Clip
9. Fuel delivery hose B
10. Fuel return hose
11. Roll over valve
12. Roll over valve bracket
13. Evaporation hose H
14. Evaporation hose I
15. Evaporation pipe B
16. Evaporation hose J
17. Evaporation hose K
18. Joint pipe
19. Canister hose A
20. Air filter hose A
21. Drain valve hose
22. Air filter hose B
23. Drain filter
24. Drain valve
25. Canister upper bracket
26. Cushion rubber
27. Canister lower bracket
28. Canister holder
29. Evaporation hose L
30. Pressure control solenoid valve
31. Canister hose B
32. Canister
33. Fuel pipe ASSY
34. Fuel filler pipe
35. Evaporation hose M
36. Evaporation hose N
37. Shut valve
38. Packing
39. Ring A
40. Ring B
41. Fuel filler cap
42. Fuel filler pipe protector
43. Tapping screw
44. Evaporation hose O
45. Joint pipe
46. Evaporation hose P
47. Evaporation hose Q
48. Evaporation pipe
49. Clip
Tightening torque: N.m (kg-m, ft-lb)
T1: 17.7 ± 5 (1.8 ± 0.5, 13.0 ± 3.6)
T2: 23 ± 7 (2.3 ± 0.7, 16.6 ± 5.1)