Liftgate Window Glass: Service and Repair
REMOVAL1. Remove rear wiper and rear gate trim.
2. Disconnect connector from rear defogger terminal.
3. Remove glass in the same manner as windshield.
NOTE: A matching pin is cemented to corners of the glass on the compartment side. Use a piano wire when cutting each pin.
INSTALLATION
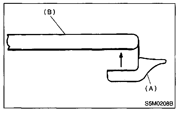
1. Install a new rubber strip (A) by aligning it with the end of the rear gate glass (B).
2. Install glass in the same manner as windshield.
3. About one hour after installation, test for water leakage. Leave vehicle for 24 hours before using it.
4. Connect rear defogger connections.
5. Install rear gate trim and rear wiper.