Operation CHARM: Car repair manuals for everyone.
Manuals through 2025 now available!

Our trusted friends have launched a new website named LEMON, which has newer manuals. It also contains all the CHARM manuals.

LEMON is the spiritual successor to CHARM, I recommend you try it!

Link: lemon-manuals.la or lemon-manuals.org.ua

(Some people have issue connecting. LEMON is investigating. For now, use Firefox or change your DNS server)

Or, hide this message: temporarily or permanently

Multi-Plate Clutch

A: REMOVAL
The multi-plate clutch is removed in the same way that the extension case is removed. Extension Case

B: INSTALLATION
The multi-plate clutch is installed in the same way that the extension case is installed. Extension Case

C INSPECTION
^ Check the drive plate facing for wear and damage.
^ Check the snap ring for wear, return spring for permanent set and breakage, and return spring for deformation.
^ Check the lathe cut ring for damage.
^ Measure the clearance of the multi-plate clutch and adjust it to within specifications.

D: ADJUSTMENT
1) Remove the drive plate and driven plate from the center differential carrier.





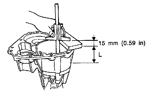
2) Measure the distance "L" from mating surface of extension case to multi-plate clutch (LSD) piston.
ST 399643600 GAUGE
L = Measured value - 15 mm
(L= Measured value - 0.59 inch)





3) Measure the height "e" from mating surface of the transmission case to end surface of the center differential clutch drum.
ST 499577000 GAUGE
l = Measured value - 35 mm (4 = Measured value - 1.38 inch)
4) Calculation equation:
T = (L + 0.45) - l
T: Measurements between end surface of clutch drum and multi-plate clutch (LSD) piston.
L: Distance from mating surface of extension case to multi-plate clutch (LSD) piston.
0.45: Gasket thickness
l: Height from mating surface of transmission case to end surface of the center differential clutch drum.





NOTE: Measure thickness of driven and drive plates of multi-plate clutch (LSD) and determine clearance between measured value and "T".

Standard value: 0.2 - 0.6 mm (0.008 - 0.024 inch)
Allowable limit: 1.6 mm (0.063 inch)
If out of specification, replace plate set (drive and driven plate) and select a multi-plate clutch (LSD) piston side adjusting plate to make it within specification.