Front Suspension
Check, adjust and/or measure wheel alignment in accordance with procedures indicated in figure:
WHEEL ARCH HEIGHT
1. Adjust tire pressure to specifications.
2. Set vehicle under "curb weight" conditions. (Empty luggage compartment, install spare tire, jack, service tools, and top up fuel tank.)
3. Set steering wheel in a wheel-forward position.
4. Suspend thread from wheel arch (point "A" in figure below) to determine a point directly above center of spindle.
5. Measure distance between measuring point "A" and center of spindle.
CAMBER
Inspection
1. Place front wheel on turning radius gauge. Make sure ground contacting surfaces of front and rear wheels are set at the same height.
2. Set ST into the center of the wheel, and then install the wheel alignment gauge.
ST 927380002 ADAPTER
Adjustment
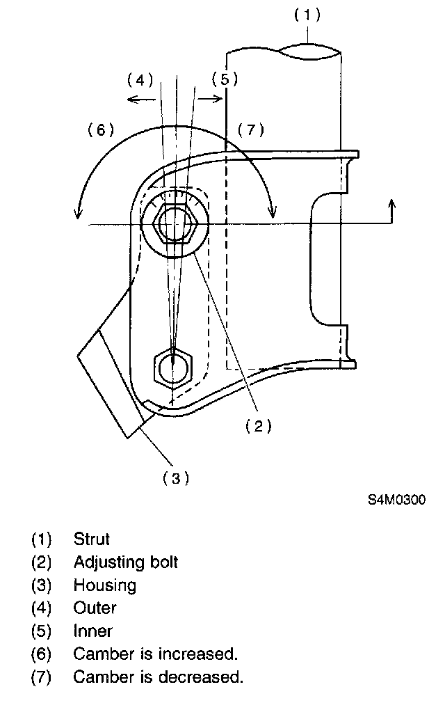
1. Loosen two self-locking nuts located at lower front portion of strut.
CAUTION:
^ When adjusting bolt needs to be loosened or tightened, hold its head with a wrench and turn self-locking nut.
^ Discard loosened self-locking nut and replace with a new one.
2. Turn camber adjusting bolt so that camber is set at the specification.
NOTE: Moving the adjusting bolt by one scale graduation changes camber by approximately 0°10'.
3. Tighten the two self-locking nuts.
Tightening torque: 152 Nm (16 kgf-cm, 116 ft. lbs.)
CASTER
Inspection
1. Place front wheel on turning radius gauge. Make sure ground contacting surfaces of front and rear wheels are set at the same height.
2. Set ST into the center of the wheel, and then install the wheel alignment gauge. ST 927380002 ADAPTER
FRONT WHEEL TOE-IN
Inspection
1. Using a toe gauge, measure front wheel toe-in.
Toe-in: 0 ± 3 mm (0 ± 0.12 inch)
2. Mark rear sides of left and right tires at height corresponding to center of spindles and measure distance "A" between marks.
3. Move vehicle forward so that marks line up with front sides at height corresponding to center of spindles.
4. Measure distance "B" between left and right marks. Toe-in can then be obtained by the following equation:
Adjustment
1. Loosen the left and right side steering tie-rods lock nuts.
2. Turn the left and right tie rods equal amounts until the toe-in is at the specification.
Both the left and right tie-rods are right-hand threaded. To increase toe-in, turn both tie-rods clockwise equal amounts (as viewed from the inside of the vehicle).
3. Tighten tie-rod lock nut.
Tightening torque: 83 Nm (8.5 kgf-cm, 61.5 ft. lbs.)
CAUTION: Correct tie-rod boot, if it is twisted.
NOTE: Check the left and right wheel steering angle is within specifications.
STEERING ANGLE
Inspection
1. Place vehicle on a turning radius gauge.
2. While depressing brake pedal, turn steering wheel fully to the left and right. With steering wheel held at each fully turned position, measure both the inner and outer wheel steering angle.
Steering angle:
Adjustment
Turn tie-rod to adjust steering angle of both inner and outer wheels.
CAUTION:
^ Check toe-in.
^ Correct boot if it is twisted.