Operation CHARM: Car repair manuals for everyone.
Manuals through 2025 now available!

Our trusted friends have launched a new website named LEMON, which has newer manuals. It also contains all the CHARM manuals.

LEMON is the spiritual successor to CHARM, I recommend you try it!

Link: lemon-manuals.la or lemon-manuals.org.ua

(Some people have issue connecting. LEMON is investigating. For now, use Firefox or change your DNS server)

Or, hide this message: temporarily or permanently

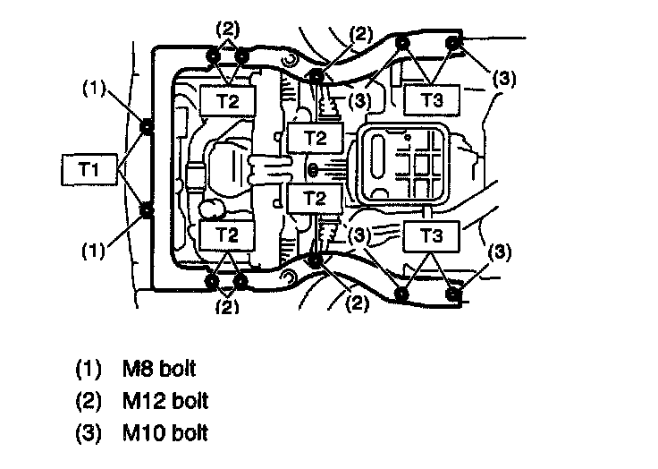
Sub Frame

A: REMOVAL
1. Lift-up the vehicle.
2. Remove the under cover.





3. Remove the bolt cover.





4. Remove the clip.





5. Remove the sub frame.

NOTE: Loosen bolt (1) and leave a few threads caught, then remove the bolts in the order of (2), (3), (4), (5), and (6).

B: INSTALLATION
Install in the reverse order of removal.

NOTE: Replace the M12 bolt with a new one.





Tightening torque:
T1: 34 Nm (3.5 kgf-m, 25 ft. lbs.)
T2: 55 Nm (5.6 kgf-m, 41 ft. lbs.)
T3: 71 Nm (7.2 kgf-m, 52 ft. lbs.)

C: INSPECTION
Check that there is no damage and distortion at the sub frame.