Operation CHARM: Car repair manuals for everyone.
Manuals through 2025 now available!

Our trusted friends have launched a new website named LEMON, which has newer manuals. It also contains all the CHARM manuals.

LEMON is the spiritual successor to CHARM, I recommend you try it!

Link: lemon-manuals.la or lemon-manuals.org.ua

(Some people have issue connecting. LEMON is investigating. For now, use Firefox or change your DNS server)

Or, hide this message: temporarily or permanently

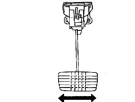
Brake Pedal Assy: Testing and Inspection

INSPECTION
1. Move brake and clutch pedal pads in the lateral direction with a force of approximately 10 N (1 kgf, 2 lb) to ensure pedal deflection is in specified range.

CAUTION: If excessive deflection is noted, replace bushings with new ones.





1 of 2





2 of 2

Deflection of brake and clutch pedal:
Service limit 5.0 mm (0.197 inch) or less





2. Check position of pedal pad.
Pedal height: L 148 mm (5.83 inch)
Brake pedal free play: A 1 - 3 mm (0.04 - 0.12 inch) [ Depress brake pedal pad with a force of less than 10 N (1 kgf, 2 lb).]
3. If it is not in specified value, adjust it by adjusting brake booster operating rod length.