Operation CHARM: Car repair manuals for everyone.
Manuals through 2025 now available!

Our trusted friends have launched a new website named LEMON, which has newer manuals. It also contains all the CHARM manuals.

LEMON is the spiritual successor to CHARM, I recommend you try it!

Link: lemon-manuals.la or lemon-manuals.org.ua

(Some people have issue connecting. LEMON is investigating. For now, use Firefox or change your DNS server)

Or, hide this message: temporarily or permanently

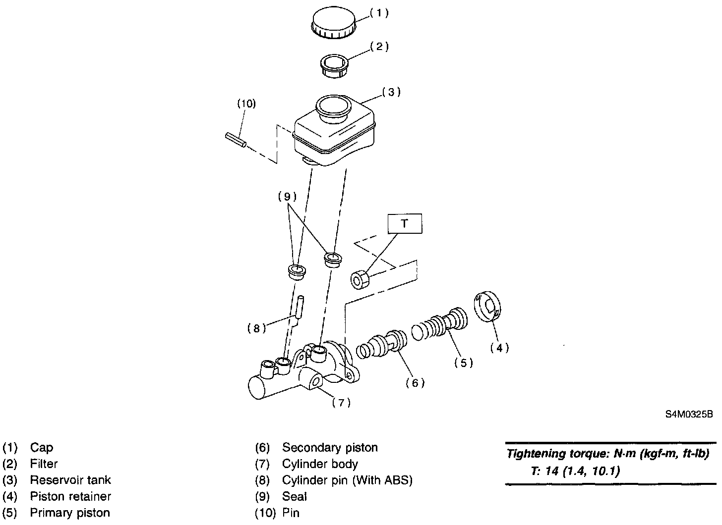
System Diagram

COMPONENT





1. FRONT DISC BRAKE





2. REAR DISC BRAKE

3. MASTER CYLINDER





^ Without VDC model





^ With VDC model





4. BRAKE PIPES AND HOSE





5. BRAKE BOOSTER





6. BRAKE PEDAL FOR MT MODEL





7. BRAKE PEDAL FOR AT MODEL