Operation CHARM: Car repair manuals for everyone.
Manuals through 2025 now available!

Our trusted friends have launched a new website named LEMON, which has newer manuals. It also contains all the CHARM manuals.

LEMON is the spiritual successor to CHARM, I recommend you try it!

Link: lemon-manuals.la or lemon-manuals.org.ua

(Some people have issue connecting. LEMON is investigating. For now, use Firefox or change your DNS server)

Or, hide this message: temporarily or permanently

Brake Pedal Assy: Service and Repair

Brake Pedal

REMOVAL
AT VEHICLES
1) Disconnect the ground cable from battery.
2) Remove the instrument panel lower cover from instrument panel.
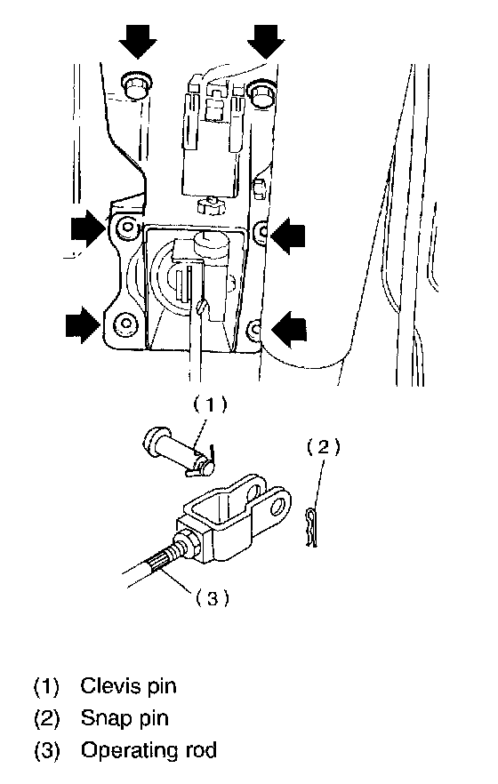
3) Remove the clevis pin which secures brake pedal to brake booster operating rod. Also disconnect the stop light switch connector.





4) Remove the two bolts and four nuts which secure the brake pedal to pedal.

MT VEHICLES
1) Remove the steering bolts.
2) Raise the vehicle on hoist and remove the two bolts which secure steering unit to underside of body.
3) Lower the vehicle to floor.
4) Remove the instrument panel lower cover from instrument panel.
5) Disconnect the following parts from pedal bracket.
^ Operating rod of brake booster
^ Electrical connectors (for stop light switch, etc.)

6) Remove the clevis pin which secures lever to push rod.
7) Remove the nut which secures clutch master cylinder.
8) Remove the steering assembly.
9) Remove the accelerator pedal.





10) Remove the bolts and nuts which secure pedal bracket.

INSTALLATION
1) Install in the reverse order of removal.

CAUTION:
^ If the cable clamp is damaged, replace it with a new one.
^ Never fail to cover the outer cable end with boot.
^ Be careful not to kink the accelerator cable.
^ Always use new clevis pins.

2) Adjust the clutch pedal.
3) Inspect the brake pedal after installation.

DISASSEMBLY
AT VEHICLES
1) Remove the brake switch.





2) Unbolt, and then remove the brake pedal.





3) Remove the bushing, spacer and spring.
4) Remove the brake pedal pad.

MT VEHICLES
1) Remove the brake switch.
2) Remove the clutch pedal.





3) Remove the clutch master cylinder bracket.





4) Remove the bushing, spring and stopper.
5) Remove the brake pedal pad.

ASSEMBLY
1) Attach the stop light switch, etc. to pedal bracket temporarily.
2) Clean the inside of bores of clutch pedal and brake pedal, apply grease, and set the bushings into bores.





3) Align bores of the pedal bracket, clutch pedal and brake pedal, attach the brake pedal return spring and clutch pedal effort reducing spring (vehicle with hill holder), and then install the pedal bolt.

NOTE: Clean up the inside of bushings and apply grease before installing spacer.

Tightening torque: T: 29 Nm (3.0 kgf-m, 21. 7 ft. lbs.)
4) After installing the brake pedal to vehicle, adjust the stop light position.