Operation CHARM: Car repair manuals for everyone.
Manuals through 2025 now available!

Our trusted friends have launched a new website named LEMON, which has newer manuals. It also contains all the CHARM manuals.

LEMON is the spiritual successor to CHARM, I recommend you try it!

Link: lemon-manuals.la or lemon-manuals.org.ua

(Some people have issue connecting. LEMON is investigating. For now, use Firefox or change your DNS server)

Or, hide this message: temporarily or permanently

Removal and Installation

Cylinder Block

REMOVAL

NOTE: Before conducting this procedure, drain the engine oil completely if applicable.

1. Remove the intake manifold.
2. Remove the V-belt.
3. Remove the crankshaft pulley.
4. Remove the belt cover.
5. Remove the timing belt assembly.
6. Remove the camshaft sprocket.
7. Remove the crankshaft sprocket.
8. Remove the generator and A/C compressor with their brackets.
9. Remove the rocker cover.
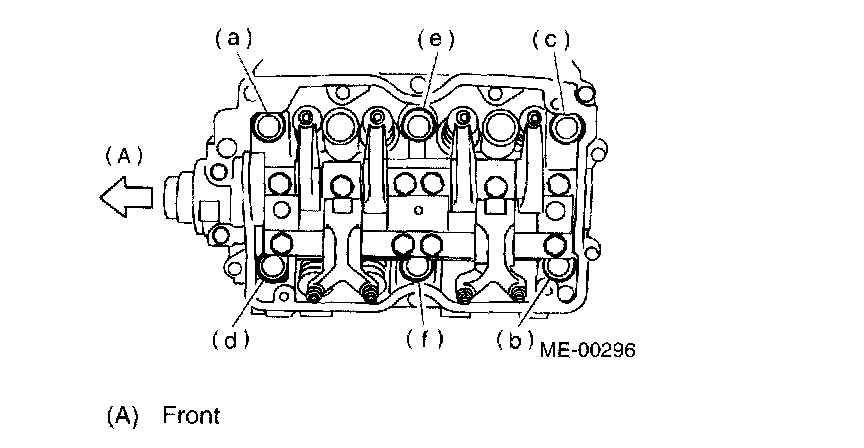
10. Remove the cylinder head bolts in alphabetical sequence shown in the figure.





NOTE: Leave bolts (a) and (c) engaged by three or four threads to Prevent cylinder head from falling.

11. While tapping the cylinder head with a plastic hammer, separate it from cylinder block.





12. Remove the bolts (a) and (c) to remove cylinder head.
13. Remove the cylinder head gasket.

NOTE: Do not scratch the mating surface of cylinder head and cylinder block.

14. Similarly, remove the right side cylinder head.
15. Remove the clutch housing cover. (MT vehicles)
16. Remove the flywheel (MT vehicles) or drive plate (AT vehicles).
Using the ST, lock the crankshaft.
ST 498497100 CRANKSHAFT STOPPER





^ MT VEHICLES





^ AT VEHICLES

17. Remove the oil separator cover.
18. Remove the water by-pass pipe for heater.





19. Loosen the bolts in alphabetical sequence as shown in the figure, and then remove water pump.
20. Remove the oil pump from cylinder block. Use a flat-bladed screwdriver as shown in the figure when removing oil pump.





NOTE: Be careful not to scratch the mating surface of cylinder block and oil pump.

21. Removal of oil pan
a. Turn the cylinder block to face the #2 and #4 piston sides upward.
b. Remove the bolts which secure oil pan to cylinder block.
c. Insert a oil pan cutter blade between cylinder block-to-oil pan clearance, and then remove the oil pan.





NOTE: Do not use a screwdriver or similar tool in place of oil pan cutter.

22. Remove the oil strainer stay.
23. Remove the oil strainer.
24. Remove the baffle plate.





25. Remove the oil filter using ST.
ST 498547000 OIL FILTER WRENCH





26. Remove the oil cooler. (AT vehicles)





27. Remove the water pipe.





28. Remove the service hole cover and service hole plugs using hexagon wrench [14 mm (0.55 inch)].





29. Rotate the crankshaft to bring #1 and #2 pistons to bottom dead center position, and then remove the piston circlip through service hole of #1 and #2 cylinders.
ST 499897200PISTON SNAP RING PLIER





30. Draw out the piston pin from #1 and #2 pistons using ST.
ST 499097700 PISTON PIN REMOVER





NOTE: Be careful not to confuse the original combination of piston, piston pin and cylinder.

31. Similarly remove the piston pins from #3 and #4 pistons.
32. Remove the bolts which connect cylinder block on the side of #2 and #4 cylinders.
33. Back off the bolts which connect cylinder block on the side of #1 and #3 cylinders two or three turns.
34. Set up the cylinder block so that #1 and #3 cylinders are on the upper side, and then remove the cylinder block connecting bolts.
35. Separate the cylinder blocks (RH) and (LH).





NOTE: When separating the cylinder block, do not allow the connecting rod to fall and damage the cylinder block.

36. Remove the rear oil seal.
37. Remove the crankshaft together with connecting rod.
38. Remove the crankshaft bearings from cylinder block using hammer handle.

NOTE: Do not confuse the combination of crankshaft bearings. Press bearing at the end opposite to locking lip.

39. Draw out each piston from cylinder block using wooden bar or hammer handle.

NOTE: Do not confuse the combination of piston and cylinder.

INSTALLATION

NOTE: Remove oil in the mating surface of bearing and cylinder block before installation. Also apply a coat of engine oil to crankshaft pins.





1. Position the crankshaft on #2 and #4 cylinder block.
2. Apply fluid packing to the mating surface of #1 and #3 cylinder block, and position it on #2 and #4 cylinder block.
Fluid packing: Part No. 004403007 THREE BOND 1215 or equivalent





NOTE: Do not allow fluid packing to jut into O-ring grooves, oil passages, bearing grooves, etc.





3. Tighten the 10 mm cylinder block connecting bolts in alphabetical sequence shown in the figure. (LH side)
Tightening torque: 15 Nm (1.5 kgf-m, 11.1 ft. lbs.)





4. Tighten the 10 mm cylinder block connecting bolts in alphabetical sequence shown in the figure. (RH side)
Tightening torque: 15 Nm (1.5 kgf-m, 11.1 ft. lbs.)





5. Further tighten LH side bolts (A)-(D) by 90° in alphabetical sequence.





6. Further tighten RH side bolts (E)-(J) by 90° in alphabetical sequence.





7. Tighten the 8 mm and 6 mm cylinder block connecting bolts in alphabetical sequence shown in the figure.
Tightening torque:
(A)-(G): 25 Nm (2.5 kgf-m, 18.1 ft. lbs.)
(H): 6.4 Nm (0.65 kgf-m, 4. 7 ft. lbs.)





8. Install the rear oil seal using ST1 and ST2.
ST1 499597100 OIL SEAL GUIDE
ST2 499587200 OIL SEAL INSTALLER
9. Position the top ring gap at (A) or (B) in the figure.





10. Position the second ring gap at 180° on the reverse side for top ring gap.





11. Position the expander gap at (C) in the figure.





12. Position the lower rail gap at (D) in the figure.





NOTE: Align the lower rail stopper (F) to the lateral hole (E) on the piston.





13. Position the upper rail gap within (G) in the figure.

CAUTION:
^ Ensure ring gaps do not face the same direction.
^ Ensure ring gaps are not within the piston skirt area.

14. Install circlip. Install circlips in the piston holes located opposite service holes in cylinder block, when positioning all pistons in the corresponding cylinders.





NOTE: Use new circlips.





CAUTION: Piston front mark faces towards the front of the engine.





15. Installing piston
a. Turn the cylinder block to face the #1 and piston side upward.
b. Using the ST1, turn the crankshaft so that #1 and #2 connecting rods are set at bottom dead center.
ST1 499987500 CRANKSHAFT SPROCKET.





c. Apply a coat of engine oil to pistons and cylinders, and then insert the pistons in their cylinders using ST2.
ST 2498747300 PISTON GUIDE

16. Installing piston pin
a. Apply a coat of engine oil to the ST3 before insertion.





b. Insert the ST3 into service hole to align piston pin hole with connecting rod small end.
ST3 499017100 PISTON PIN GUIDE
c. Apply a coat of engine oil to the piston pin, and then insert the piston pin into piston and connecting rod through service hole.





d. Install the circlip.

NOTE: Use new circlips.

ST3 499897200 PISTON SNAPPING PLIER





e. Apply fluid packing around the service hole plug.
Fluid packing: Part No. 004403007 THREE BOND 1215 or equivalent





f. Install the service hole plug and gasket.

NOTE: Use a new gasket.





g. Turn the cylinder block to face the #3 and #4 piston side upward. Using the same procedures as used for #1 and #2 cylinders, install the pistons and piston pins.





17. Install the water pipe.
18. Install the baffle plate.
Tightening torque: 6.4 Nm (0.65 kgf-m, 4. 7 ft. lbs.)
19. Install the oil strainer and O-ring.
Tightening torque: 10 Nm (1.0 kgf-m, 7 ft. lbs.)
20. Install the oil strainer stay.





21. Apply fluid packing to the matching surfaces, and then install the oil pan.
Fluid packing: Part No. 004403007 THREE BOND 1215 or equivalent





22. Apply fluid packing to the matching surfaces, and then install the oil separator cover.
Fluid packing: Part No. 004403007 THREE BOND 1215 or equivalent
23. Install the flywheel or drive plate.
To lock the crankshaft, use ST.
ST 498497100 CRANKSHAFT STOPPER
Tightening torque: 72 Nm (7.3 kgf-m, 52.8 ft. lbs.)





^ MT VEHICLES





^ AT VEHICLES

24. Install the housing cover.





25. Installation of oil pump.
a. Discard the front oil seal after removal. Replace with a new one using the ST.
ST 499587100 OIL SEAL INSTALLER





b. Apply fluid packing to the matching surface of oil pump.
Fluid packing: Part No. 004403007 THREE BOND 1215 or equivalent





c. Apply a coat of engine oil to the inside of oil seal.
d. Install the oil pump on cylinder block. Be careful not to damage the oil seal during installation.
Tightening torque: 6.4 Nm (0.65 kgf-m, 4.7 ft. lbs.)

CAUTION:
^ Do not forget to the install the O-ring and seal when installing oil pump.
^ Align flat surface of oil pump's inner rotor with crankshaft before installation.

26. Install the water pump and gasket.
Tightening torque:
First; 12 Nm (1.2 kgf-m, 8.7 ft. lbs.)
Second; 12 Nm (1.2 kgf-m, 8.7 ft. lbs.)





CAUTION:
^ Be sure to use a new gasket.
^ When installing the water pump, tighten the bolts in two stages in alphabetical sequence as shown in the figure.

27. Install the water by-pass pipe for heater.





28. Apply fluid packing to the nipple (D), and then install the oil cooler.
Fluid packing: Part No. 004403007 THREE BOND 1215 or equivalent
Tightening torque:
T1: 54 Nm (5.5 kgf-m, 40 ft. lbs.)
T2: 70 Nm (7.1 kgf-m, 51.6 ft. lbs.)
29. Install the oil filter using ST.
ST 498547000 OIL FILTER WRENCH





30. Tighten the cylinder head bolts.
a. Apply a coat of engine oil to the washers and bolt threads.
b. Tighten all bolts to 29 Nm (3.0 kgf-m, 22 ft. lbs.) in alphabetical sequence.
Then tighten all bolts to 69 Nm (7.0 kgf-m, 51 ft. lbs.) in alphabetical sequence.
c. Back off all bolts by 180° first; back them off by 180° again.
d. Tighten the bolts (a) and (b) to 34 Nm (3.5 kgf-m, 25 ft. lbs.).
e. Tighten the bolts (c), (d), (e) and (f) to 15 Nm (1.5 kgf-m,11 ft. lbs.).
f. Tighten all bolts by 80 to 90° in alphabetical sequence.

CAUTION: Do not tighten bolts more than 90°.

g. Further tighten all bolts by 80 to 90° in alphabetical sequence.

CAUTION: Ensure that the total "re-tightening angle" [in the former two steps], do not exceed 180°.

31. Install the oil level gauge guide, and then tighten the attaching bolt (left side only).
32. Install the rocker cover.
33. Install the crankshaft sprocket.
34. Install the camshaft sprocket.
35. Install the timing belt assembly.
36. Install the belt cover.
37. Install the crankshaft pulley.
38. Install the generator and A/C compressor brackets on cylinder head.
39. Install the V-belt.
40. Install the intake manifold.