Operation CHARM: Car repair manuals for everyone.
Manuals through 2025 now available!

Our trusted friends have launched a new website named LEMON, which has newer manuals. It also contains all the CHARM manuals.

LEMON is the spiritual successor to CHARM, I recommend you try it!

Link: lemon-manuals.la or lemon-manuals.org.ua

(Some people have issue connecting. LEMON is investigating. For now, use Firefox or change your DNS server)

Or, hide this message: temporarily or permanently

Air Injection Control Valve: Description and Operation

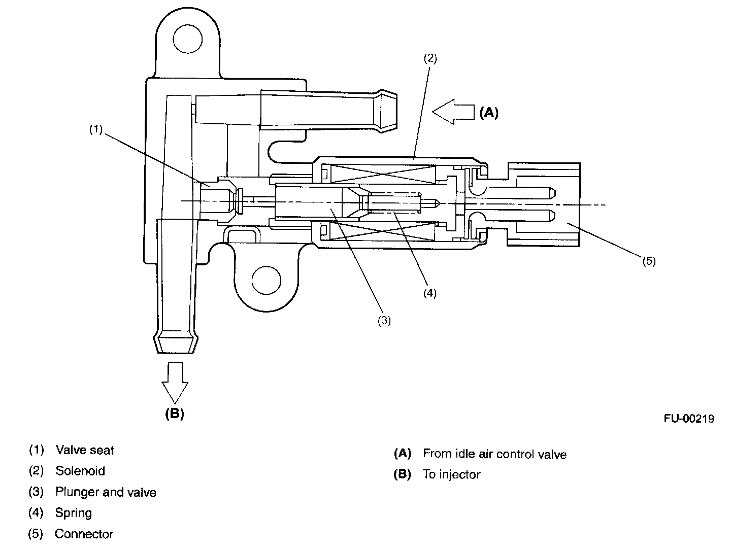
AIR ASSIST INJECTOR SOLENOID VALVE




The air assist injector solenoid valve is located in the piping between the throttle body and the injector and secured to the intake manifold. This solenoid valve is opened or closed by the signals from the ECM, adjusting the flow rate of air supplied to the injector.