Operation CHARM: Car repair manuals for everyone.
Manuals through 2025 now available!

Our trusted friends have launched a new website named LEMON, which has newer manuals. It also contains all the CHARM manuals.

LEMON is the spiritual successor to CHARM, I recommend you try it!

Link: lemon-manuals.la or lemon-manuals.org.ua

(Some people have issue connecting. LEMON is investigating. For now, use Firefox or change your DNS server)

Or, hide this message: temporarily or permanently

Front Differential

Front Differential

REMOVAL
1. Remove the transmission assembly from the vehicle.
2. Extract the torque converter clutch assembly.





3. Remove the input shaft.
4. Disconnect the air breather hose.
5. Lift-up lever behind the transmission harness connector and disconnect it from stay.
6. Disconnect inhibitor switch from stay.
7. Remove the oil charger pipe.
8. Remove the oil cooler inlet and outlet pipes.
9. Separation of torque converter clutch case and transmission case.
10. Remove the seal pipe if it is attached.
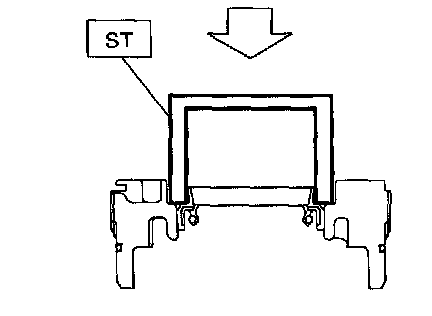
11. Remove the differential side retainer with ST.

NOTE: Hold the differential case assembly by hand to avoid damaging retainer mounting hole of the torque converter clutch case.

ST 499787000 WRENCH ASSY
12. Remove the differential assembly without damaging installation part of retainer.

INSTALLATION





1. Install the differential assembly to the case, paying special attention not to damage the inside of the case (particularly, the differential side retainer contact surface).
2. Remove the O-rings from left and right side retainer.
3. Using ST, install the side retainers.
ST 499787000 WRENCH ASSY





4. Install the lock plate.
Tightening torque: 25 Nm (2.5 kgf-m, 18.1 ft. lbs.)





5. Install the new seal pipe to the torque converter clutch case.
6. Install the torque converter clutch case to transmission case.
7. Install air breather hose.





8. Insert inhibitor switch and transmission connector into stay.
9. Install oil cooler pipes.
10. Install the oil charger pipe with O-ring.





11. Insert the input shaft while turning lightly by hand. At this time, not to damage the bushing.
Normal protrusion A: 50 - 55 mm (1.97 - 2.17 inch)
12. Install the torque converter clutch assembly.
13. Install the transmission assembly to the vehicle.

DISASSEMBLY
DIFFERENTIAL CASE ASSEMBLY





1. Using a press and ST, remove the taper roller bearing.
ST 498077000 REMOVER





2. Secure the case in a vise and remove the crown gear tightening bolts, then separate the crown





3. Pull out the straight pin and shaft, and remove the differential bevel gear, washer, and differential bevel pinion.

SIDE RETAINER

NOTE: After adjusting the drive pinion backlash and tooth contact, remove and install the oil seal and O-ring.





1. Remove O-ring.





2. Remove oil seal.





3. Take out either split pin, remove claw.
ST 398527700 PULLER ASSY





4. Securely attach two claws to outer race, set ST to side retainer.
ST 398527700 PULLER ASSY





5. Return removed claw to the original position, and install pin and split pin.
6. Hold the shaft of ST to avoid removing from side retainer, and then remove the bearing outer race.
ST 398527700 PULLER ASSY

NOTE: Replace bearing inner and outer races as a single unit.

ASSEMBLY
DIFFERENTIAL CASE ASSEMBLY
1. Install the washer, differential bevel gear and differential bevel pinion in the differential case (RH). Insert the pinion shaft.





2. Install straight pin from reverse direction.
3. Install the washer and differential bevel gear to the differential case (LH). Then put the case over the differential case (RH), and connect both cases.





4. Install the crown gear and secure by tightening the bolt.
Standard tightening torque: 62 Nm (6.3 kgf-m, 45.6 ft. lbs.)
5. Measurement of backlash (Selection of washer)
1. Install Subaru genuine axle shaft to differential case.
Part No. 38415AA070 AXLE SHAFT
2. Measure the gear backlash with ST1 and ST2, and insert ST2 through the access window of the case.
ST1 498247001 MAGNET BASE
ST2 498247100 DIAL GAUGE





NOTE:
^ Measure the backlash by applying a pinion tooth between two bevel gear teeth.
^ Fix bevel pinion gear in place with a screwdriver or similar tool when measuring.

Standard value: 0.13 - 0.18 mm (0.0051 - 0.0071 inch)





3. If backlash is not as specified, select a washer from the table below.





6. Using ST, install taper roller bearing.
ST3 98437700D 1FT

SIDE RETAINER
1. Install bearing outer race to side retainer.





2. Install a new oil seal using the ST and hammer.
ST 18675AA000 INSTALLER





3. Install new O-ring.

INSPECTION
^ Check each component for harmful cuts, damage and other faults.
^ Measure the backlash and adjust to within specifications.

ADJUSTMENT





1. Using ST, screw in the retainer until light contact is felt.

NOTE: Screw in the RH side slightly deeper than the LH side.

ST 499787000 WRENCH ASSY
2. Remove the oil pump housing.
3. Thoroughly remove the liquid gasket from the case mating surface beforehand.
4. Install the oil pump housing assembly to the torque converter clutch case, and secure evenly by tightening four bolts.





NOTE: Use an old gasket or an aluminum washer so as not to damage the mating surface of the housing.

Tightening torque: 41 Nm (4.2 kgf-m, 30.4 ft. lbs.)





5. Rotate the drive pinion several times with ST1 and ST2.
ST1 498937110 HOLDER
ST2 499787700 WRENCH





6. Tighten the LH retainer until contact is felt while rotating the shaft. Then loosen the RH retainer. Keep tightening the LH retainer and loosening the RH retainer until the pinion shaft can no longer be turned. This is the "zero" state.





7. After the "zero" state is established, back off the LH retainer 3 notches and secure it with the lock plate. Then black off the RH retainer and retighten until it stops. Rotate drive pinion a few times. Tighten the RH retainer 1-3/4 notches further. This sets the preload. Finally, secure the retainer with its lock plate.





NOTE: Turning the retainer by one tooth changes the backlash about 0.05 mm (0.0020 inch).

8. Insert Subaru genuine axle shafts into the right and left side retainer holes.
Part No. 38415AA070 AXLE SHAFT





9. Turn the drive pinion several rotations with ST1 and check to see if the backlash is within the standard value with ST2, ST3, ST4 and ST5.
ST1 499787700 WRENCH
ST2 498247001 MAGNET BASE
ST3 498247100 DIAL GAUGE
ST4 499787500 ADAPTER
ST5 498255400 PLATE
Backlash: 0.13 - 0.18 mm (0.0051 - 0.0071 inch)
10. Adjust the tooth contact between front differential and drive shaft.