Operation CHARM: Car repair manuals for everyone.
Manuals through 2025 now available!

Our trusted friends have launched a new website named LEMON, which has newer manuals. It also contains all the CHARM manuals.

LEMON is the spiritual successor to CHARM, I recommend you try it!

Link: lemon-manuals.la or lemon-manuals.org.ua

(Some people have issue connecting. LEMON is investigating. For now, use Firefox or change your DNS server)

Or, hide this message: temporarily or permanently

Removal

REMOVAL

NOTE: Before conducting this procedure, drain the engine oil completely if applicable.

1) Remove the intake manifold.
2) Remove the V-belt.
3) Remove the crankshaft pulley.
4) Remove the timing belt cover.
5) Remove the timing belt.
6) Remove the camshaft sprocket.
7) Remove the crankshaft sprocket.
8) Remove the generator and A/C compressor with their brackets.
9) Remove the rocker cover.





10) Remove the cylinder head bolts in alphabetical sequence shown in the figure.

NOTE: Leave bolts (a) and (c) engaged by three or four threads to prevent cylinder head from falling.

11) While tapping the cylinder head with a plastic hammer, separate it from cylinder block.





12) Remove bolts (a) and (c) to remove cylinder head.
13) Remove the cylinder head gasket.

NOTE: Do not scratch the mating surface of cylinder head and cylinder block.

14) Similarly, remove the right side cylinder head.
15) Remove the clutch housing cover. (MT vehicles)
16) Remove the flywheel (MT vehicles) or drive plate (AT vehicles).
Using the ST, lock the crankshaft.
ST 498497100 CRANKSHAFT STOPPER





^ MT model





^ AT model

17) Remove the oil separator cover.
18) Remove the water by-pass pipe for heater.





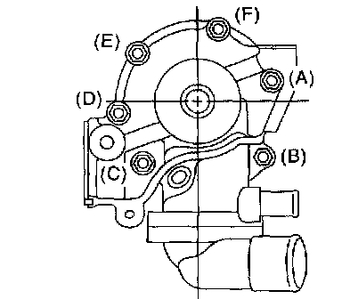
19) Loosen the bolts in alphabetical sequence as shown in the figure, and then remove water pump.





20) Remove the oil pump from cylinder block.
Use a flat-bladed screwdriver as shown in the figure when removing oil pump.

NOTE: Be careful not to scratch the mating surface of cylinder block and oil pump.

21) Removal of oil pan





a) Turn the cylinder block to face the #2 and #4 piston sides upward.
b) Remove the bolts which secure oil pan to cylinder block.
c) Insert a oil pan cutter blade between cylinder block-to-oil pan clearance, and then remove the oil pan.

NOTE: Do not use a screwdriver or similar tool in place of oil pan cutter.

22) Remove the oil strainer stay.
23) Remove the oil strainer.
24) Remove the baffle plate.





25) Remove the oil filter with ST.
ST 498547000 OIL FILTER WRENCH





26) Remove the water pipe.








27) Remove the service hole cover and service hole plugs using hexagon wrench [14 mm (0.55 inch)].





28) Rotate the crankshaft to bring #1 and #2 pistons to bottom dead center position, and then remove the piston snap ring through service hole of #1 and #2 cylinders.
ST 499897200PISTON SNAP RING PLIER





29) Draw out the piston pin from #1 and #2 pistons using ST.
ST 499097700 PISTON PIN REMOVER

NOTE: Be careful not to confuse the original combination of piston, piston pin and cylinder.





30) Similarly remove the piston pins from #3 and #4 pistons.
31) Remove the bolts which connect cylinder block on the side of #2 and #4 cylinders.
32) Back off the bolts which connect cylinder block on the side of #1 and #3 cylinders two or three turns.
33) Set up the cylinder block so that #1 and #3 cylinders are on the upper side, and then remove the cylinder block connecting bolts.
34) Separate the cylinder blocks (RH) and (LH).

NOTE: When separating the cylinder block, do not allow the connecting rod to fall and damage the cylinder block.

35) Remove the rear oil seal.
36) Remove the crankshaft together with connecting rod.
37) Remove the crankshaft bearings from cylinder block using a hammer's handle.

NOTE: Do not confuse the combination of crankshaft bearings. Press bearing at the end opposite to locking lip.

38) Draw out each piston from cylinder block using a wooden bar or a hammer's handle.

NOTE: Do not confuse the combination of piston and cylinder.