Operation CHARM: Car repair manuals for everyone.
Manuals through 2025 now available!

Our trusted friends have launched a new website named LEMON, which has newer manuals. It also contains all the CHARM manuals.

LEMON is the spiritual successor to CHARM, I recommend you try it!

Link: lemon-manuals.la or lemon-manuals.org.ua

(Some people have issue connecting. LEMON is investigating. For now, use Firefox or change your DNS server)

Or, hide this message: temporarily or permanently

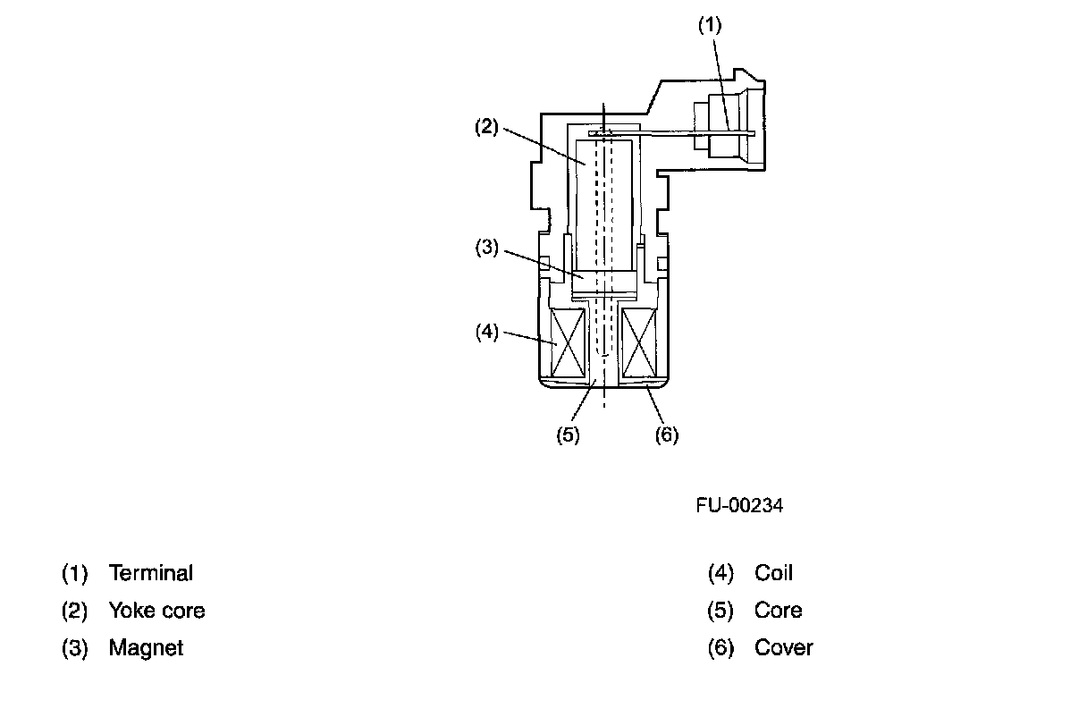
Crankshaft Position Sensor: Description and Operation




- The crankshaft position sensor is installed on the oil pump which is located in the front center portion of the cylinder block. The sensor generates a pulse when one of the teeth on the perimeter of the crankshaft sprocket (rotating together with the crankshaft) passes in front of it. The ECM determines the crankshaft angular position by counting the number of pulses.
- The crankshaft position sensor is a molded type which consists of a magnet, core, coil, terminals and other components as illustrated.




- As the crankshaft rotates, each tooth aligns with the crankshaft position sensor. At that time, the magnetic flux in the sensor's coil changes since the air gap between the sensor pickup and the sprocket changes. This change in magnetic flux induces a voltage pulse in the sensor and the pulse is transmitted to the ECM.