Operation CHARM: Car repair manuals for everyone.
Manuals through 2025 now available!

Our trusted friends have launched a new website named LEMON, which has newer manuals. It also contains all the CHARM manuals.

LEMON is the spiritual successor to CHARM, I recommend you try it!

Link: lemon-manuals.la or lemon-manuals.org.ua

(Some people have issue connecting. LEMON is investigating. For now, use Firefox or change your DNS server)

Or, hide this message: temporarily or permanently

Technician Safety Information

CAUTION:

1. HFC-134A A/C SYSTEM
- Unlike the old conventional HFC-12 system components, the cooling system components for the HFC-134a system such as the refrigerant and compressor oil are incompatible.




- Vehicles with the HFC-134a system can be identified by the label "A" attached to the vehicle. Before maintenance, check which A/C system is installed in the vehicle.

2. COMPRESSOR OIL
- HFC-134a compressor oil has no compatibility with that for R12 system.
- Use only the manufacturer-authorized compressor oil for the HFC-134a system; only use ZXL200PG.
- Do not mix multiple compressor oils.

If HFC-12 compressor oil is used in a HFC-134a A/C system, the compressor may become stuck due to poor lubrication, or the refrigerant may leak due to swelling of rubber parts.

On the other hand, if HFC-134a compressor oil is used in a HFC-12 A/C system, the durability of the A/C system will be lowered.

- HFC-134a compressor oil is very hygroscopic. When replacing or installing/removing A/C parts, immediately isolate the oil from the atmosphere using a plug or tape. In order to avoid moisture, store the oil in a container with its cap tightly closed.

3. REFRIGERANT
- The HFC-12 refrigerant cannot be used in the HFC-134a A/C system. The HFC-134a refrigerant, also, cannot be used in the HFC-12 A/C system.
- If an incorrect or no refrigerant is used, poor lubrication will result and the compressor itself may be damaged.

4. HANDLING OF REFRIGERANT
- The refrigerant boils at approx. -30 °C (-22 °F). When handling it, be sure to wear safety goggles and protective gloves. Direct contact of the refrigerant with skin may cause frostbite. If the refrigerant gets into your eye, avoid rubbing your eyes with your hands. Wash your eye with plenty of water, and receive medical treatment from an eye doctor.
- Do not heat a service can. If a service can is directly heated, or put into boiling water, the inside pressure will become extremely high. This may cause the can to explode. If a service can must be warmed up, use hot water in 40 °C (104 °F) max.
- Do not drop or impact a service can. (Observe the precautions and operation procedure described on the refrigerant can.)
- When the engine is running, do not open the high-pressure valve of the manifold gauge. The high-pressure gas will back-flow resulting in an explosion of the can.
- The refrigerant is non-toxic and harmless under normal operating circumstance, but it may change to phosgene (a noxious fume) under open flames or high temperatures (caused by a cigarette or heater).
- Provide good ventilation and do not work in a closed area.
- Never perform a gas leak test using a halide torch-type leak tester.




- In order to avoid destroying the ozone layer, prevent HFC-134a from being released into the atmosphere. Using a refrigerant recovery system, discharge and reuse it.

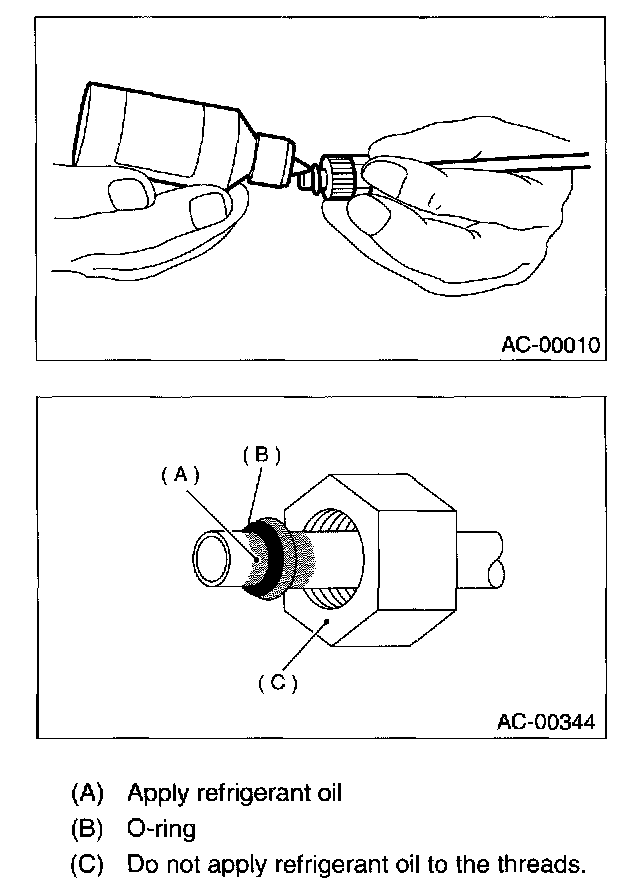
5. 0-RING CONNECTIONS
- Use new O-rings.
- In order to keep the O-rings free of lint which will cause a refrigerant gas leak, perform operations without gloves and shop towels.
- Apply the compressor oil to the O-rings to avoid sticking, then install them.
- Use a torque wrench to tighten the O-ring fittings: Over-tightening will damage the O-ring and tube end distortion.




- If the operation is interrupted before completing a pipe connection, recap the tubes, components, and fittings with a plug or tape to prevent contamination from entering.
- Visually check the surfaces and mating surfaces of O-rings, threads, and connecting points. If a failure is found, replace the applicable parts.




- Install the O-rings at right angle to the tube beards.




- Use the oil specified in the service manual to lubricate the O-rings.

Apply the oil to the top and sides of the O-rings before installation.

Apply the oil to the area including the O-rings and tube beads.

- When connecting hoses or pipes, use 2 wrenches (a torque wrench for tightening). While securing one side with a wrench, tighten the other side to the specified torque with a torque wrench. If only one wrench is used to tighten, the tightening torque will be excessive or insufficient. This may cause a pipe distortion or gas leak, resulting in damage to hoses and pipes.
- After tightening, using a clean shop towel to remove excess oil from the connections and any oil which may have run on the vehicle body or other parts.




- If any leakage is suspected after tightening, do not retighten the connections, Disconnect the connections, remove the O-rings, and check the O-rings, threads, and connections.