Operation CHARM: Car repair manuals for everyone.
Manuals through 2025 now available!

Our trusted friends have launched a new website named LEMON, which has newer manuals. It also contains all the CHARM manuals.

LEMON is the spiritual successor to CHARM, I recommend you try it!

Link: lemon-manuals.la or lemon-manuals.org.ua

(Some people have issue connecting. LEMON is investigating. For now, use Firefox or change your DNS server)

Or, hide this message: temporarily or permanently

Cylinder Head Assembly

Cylinder Head Assembly

REMOVAL
1. Remove V-belt.
2. Remove crankshaft pulley.
3. Remove belt cover.
4. Remove timing belt assembly.
5. Remove camshaft sprocket.
6. Remove intake manifold.
7. Remove bolt which installs A/C compressor bracket on cylinder head.
8. Remove valve rocker assembly.
9. Remove camshaft.
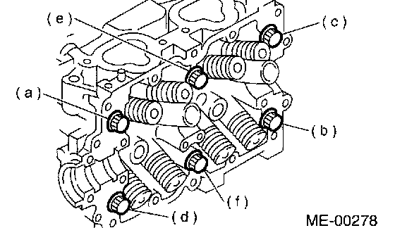
10. Remove cylinder head bolts in alphabetical sequence shown in figure.





NOTE: Leave bolts (a) and (c) engaged by three or four threads to prevent cylinder head from falling.





11. While tapping cylinder head with a plastic hammer, separate it from cylinder block.
12. Remove bolts (a) through (c) to remove cylinder head.
13. Remove cylinder head gasket.

CAUTION: Do not scratch the mating surface of cylinder head and cylinder block.

14. Similarly, remove right side cylinder head.

INSTALLATION
1. Install cylinder head and gaskets on cylinder block.

CAUTION:
^ Use new cylinder head gaskets.
^ Be careful not to scratch the mating surface of cylinder block and oil pump.





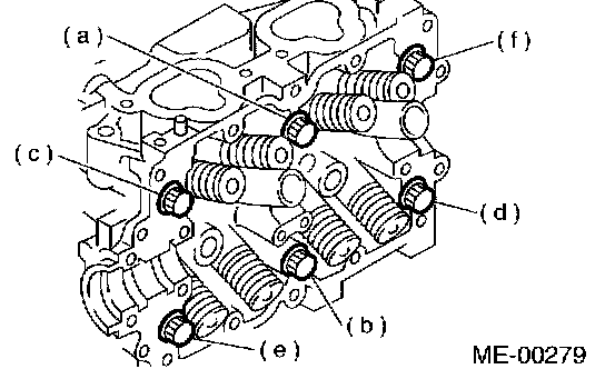
2. Tighten cylinder head bolts.
a. Apply a coat of engine oil to washers and bolt threads.
b. Tighten all bolts to 29 Nm (3.0 kgf-m, 22 ft. lbs.) in alphabetical sequence.
Then tighten all bolts to 69 Nm (7.0 kgf-m, 51 ft. lbs.) in alphabetical sequence.
c. Back off all bolts by 180° with reversing order of assembly and after that back them off by 180° again.
d. Tighten bolts (a) and (b) to 34 Nm (3.5 kgf.cm, 25 ft. lbs.).
e. Tighten bolts (c), (d), (e) and (f) to 15 Nm (1.5 kgf-m, 11 ft. lbs.).
f. Tighten all bolts by 80 to 90° in alphabetical sequence.

CAUTION: Do not tighten bolts more than 90°.

g. Further tighten all bolts by 80 to 90° in alphabetical sequence shown in figure below.

CAUTION: Ensure that the total "re-tightening angle" [in the former two steps], do not exceed 180°.

3. Install camshaft.
4. Install valve rocker assembly.
5. Install A/C compressor bracket on cylinder head.
6. Install intake manifold.
7. Install camshaft sprocket.
8. Install timing belt assembly.
9. Install belt cover.
10. Install crankshaft pulley.
11. Install V-belt.

DISASSEMBLY
1. Place cylinder head on ST.
ST 498267800 CYLINDER HEAD TABLE
2. Set ST on valve spring. Compress valve spring and remove the valve spring retainer key. Remove each valve and valve spring.
ST 499718000 VALVE SPRING REMOVER





NOTE:
^ Mark each valve to prevent confusion.
^ Use extreme care not to damage the lips of the intake valve oil seals and exhaust valve oil seals.

ASSEMBLY





1. Installation of valve spring and valve
a. Place cylinder head on ST.
ST 498267800 CYLINDER HEAD TABLE
b. Coat stem of each valve with engine oil and insert valve into valve guide.

NOTE: When inserting valve into valve guide, use special care not to damage the oil seal lip.

c. Install valve spring and retainer.

NOTE: Be sure to install the valve springs with their close coiled end facing the seat on the cylinder head.





d. Set ST on valve spring.
ST 499718000 VALVE SPRING REMOVER





e. Compress valve spring and fit valve spring retainer key.
f. After installing, tap valve spring retainers lightly with wooden hammer for better seating.

INSPECTION
VALVE SPRING
1. Check valve springs for damage, free length, and tension. Replace valve spring if it is not to the specifications presented below.








2. To measure the squareness of the valve spring, stand the spring on a surface plate and measure its deflection at the top using a try square.

INTAKE AND EXHAUST VALVE OIL SEAL
If following conditions are found, use pliers to pinch oil seal and remove it from valve, and replace it new one.
^ Lip is damaged
^ Spring out of place
^ Reconditioning of surfaces for valve and valve seat is necessary
^ Replacement of valve guide is necessary

1. Place cylinder head on ST1.
2. Press-fit oil seal to the specified dimension indicated in the figure using ST2.

CAUTION:
^ Apply engine oil to oil seal before press-fitting.
^ When press-fitting oil seal, do not use hammer or strike in.
^ Differentiate between intake valve oil seal and exhaust valve oil seal by noting their difference in color.





ST1 498267800 CYLINDER HEAD TABLE
ST2 498857100 VALVE OIL SEAL GUIDE
Color of rubber part:
Intake [Black]
Exhaust [Brown]
Color of spring part:
Intake [Silver]
Exhaust [Silver]

ADJUSTMENT
CYLINDER HEAD
1. Make sure that no crack or other damage exists. In addition to visual inspection, inspect important areas by means of red lead check. Also make sure that gasket installing surface shows no trace of gas and water leaks.
2. Place cylinder head on ST.
ST 498267800 CYLINDER HEAD TABLE
3. Measure the warping of the cylinder head surface that mates with crankcase using a straight edge and thickness gauge. If the warping exceeds 0.05 mm (0.0020 inch), grind the surface with a surface grinder.
Warping limit: 0.05 mm (0.0020 inch)
Grinding limit: 0.1 mm (0.004 inch)
Standard height of cylinder head: 97.5 mm (3.839 inch)





NOTE: Uneven torque for the cylinder head bolts can cause warping. When reassembling, pay special attention to the torque so as to tighten evenly.

VALVE SEAT








Inspect intake and exhaust valve seats, and correct the contact surfaces with valve seat cutter if they are defective or when valve guides are replaced.
Valve seat width: W
Intake (A)
Standard 1.1 mm (0.043 inch)
Limit 1.8 mm (0.071 inch)
Exhaust (B)
Standard 1.5 mm (0.059 inch)
Limit 2.2 mm (0.087 inch)

VALVE GUIDE








1. Check the clearance between valve guide and stem. The clearance can be checked by measuring the outside diameter of valve stem and the inside diameter of valve guide with outside and inside micrometers respectively.
Clearance between the valve guide and valve stem:
Standard
Intake 0.035 - 0.062 mm (0.0014 - 0.0024 inch)
Exhaust 0.040 - 0.067 mm (0.0016 - 0.0026 inch)
Limit 0.15 mm (0.0059 inch)
2. If the clearance between valve guide and stem exceeds the limit, replace valve guide or valve itself whichever shows greater amount of wear. See following procedure for valve guide replacement.
Valve guide inner diameter: 6.000 - 6.012 mm (0.2362 - 0.2367 inch)
Valve stem outer diameters:
Intake 5.950 - 5.965 mm (0.2343 - 0.2348 inch)
Exhaust 5.945 - 5.960 mm (0.2341 - 0.2346 inch)

a. Place cylinder head on ST1 with the combustion chamber upward so that valve guides enter the holes in ST1.





b. Insert ST2 into valve guide and press it down to remove valve guide.
ST1 498267800 CYLINDER HEAD TABLE
ST2 499767200 VALVE GUIDE REMOVER





c. Turn cylinder head upside down and place ST as shown in the figure.
Intake side: ST 499767700 VALVE GUIDE ADJUSTER
Exhaust side: ST 499767800 VALVE GUIDE ADJUSTER
d. Before installing new oversize valve guide, make sure that neither scratches nor damages exist on the inside surface of the valve guide holes in cylinder head.
e. Put new valve guide, coated with sufficient oil, in cylinder, and insert ST1 into valve guide. Press in until the valve guide upper end is flush with the upper surface of ST2.





ST1 499767200 VALVE GUIDE REMOVER
Intake side: ST2 499767700 VALVE GUIDE ADJUSTER
Exhaust side: ST2 499767800 VALVE GUIDE ADJUSTER





f. Check the valve guide protrusion.
Valve guide protrusion: L
Intake 20.0 - 20.5 mm (0.787 - 0.807 inch)
Exhaust 16.5 - 17.0 mm (0.650 - 0.669 inch)
g. Ream the inside of valve guide with ST. Slowly rotate the reamer clockwise while pressing it lightly into valve guide, and return it also rotating clockwise. After reaming, clean valve guide to remove chips.

NOTE:
^ Apply engine oil to the reamer when reaming.
^ If the inner surface of the valve guide is torn, the edge of the reamer should be slightly ground with an oil stone.
^ If the inner surface of the valve guide becomes lustrous and the reamer does not chips, use a new reamer or remedy the reamer.





ST 499767400 VALVE GUIDE REAMER
h. Recheck the contact condition between valve and valve seat after replacing valve guide.

INTAKE AND EXHAUST VALVE





1. Inspect the flange and stem of valve, and replace if damaged, worn, or deformed, or if "H" is less than the specified limit.
Intake
Standard 1.0 mm (0.039 inch)
Limit 0.6 mm (0.024 inch)
Exhaust
Standard 1.2 mm (0.047 inch)
Limit 0.6 mm (0.024 inch)
Valve overall length:
Intake 120.6 mm (4.75 inch)
Exhaust 121.7mm (4.79 inch)
2. Put a small amount of grinding compound on the seat surface and lap the valve and seat surface. Install a new intake valve oil seal after lapping.