Operation CHARM: Car repair manuals for everyone.
Manuals through 2025 now available!

Our trusted friends have launched a new website named LEMON, which has newer manuals. It also contains all the CHARM manuals.

LEMON is the spiritual successor to CHARM, I recommend you try it!

Link: lemon-manuals.la or lemon-manuals.org.ua

(Some people have issue connecting. LEMON is investigating. For now, use Firefox or change your DNS server)

Or, hide this message: temporarily or permanently

Evaporative Emission Control System





GENERAL
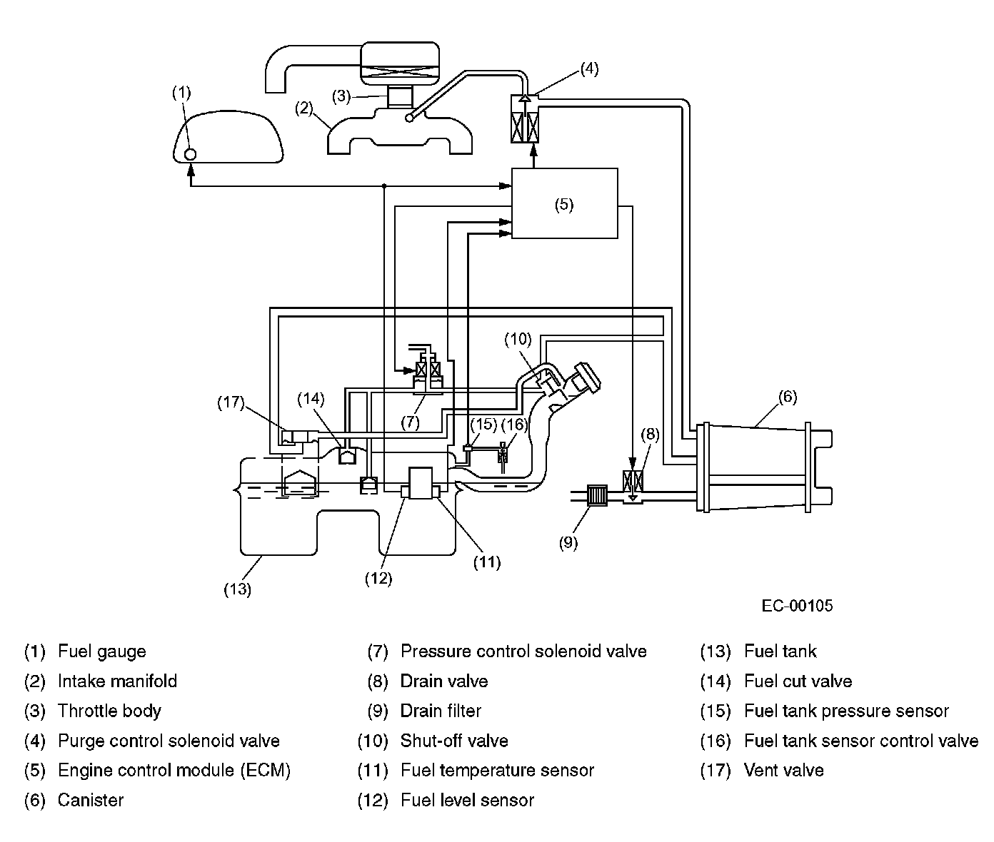
- The evaporative emission control system prevents fuel vapors from escaping into atmosphere. This system includes a canister, purge control solenoid valve, fuel cut valve, and the lines connecting them.
- Fuel vapors in the fuel tank is introduced into the canister through the evaporation line, and are absorbed by activated carbon in it. The fuel cut valve is also incorporated in the fuel tank line.
- The purge control solenoid valve is controlled optimally by the ECM according to the engine condition.
- The pressure control solenoid valve incorporated in the fuel tank evaporation line regulates the pressure/vacuum in the fuel tank.





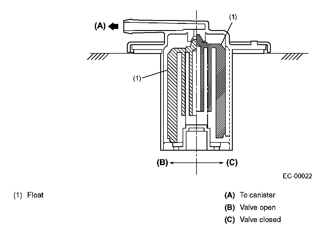
FUEL CUT VALVE
The fuel cut valve is built onto the evaporation pipe of the fuel tank. The rising level of the fuel in the fuel tank causes the float to move up and close the cap hole so that no fuel can enter the evaporation line.





FUEL TANK CAP
The fuel tank cap has a relief valve which prevents development of vacuum in the fuel tank in the event of a problem with the fuel vapor line.
When there is no problem with the fuel vapor line, the filler pipe is sealed at the portion (A) and by the seal pressed against the filler pipe end. If vacuum develops in the fuel tank, the atmospheric pressure forces the spring down to open the valve; consequently outside air flows into the fuel tank, thus controlling the inside pressure.





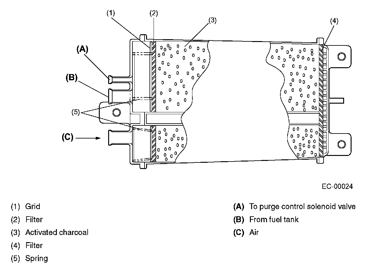
CANISTER
The charcoal filled in the canister temporarily stores fuel vapors. When the purge control solenoid valve is opened by a signal from the ECM, the external fresh air entering the canister carries the fuel vapors into the collector chamber.





PURGE CONTROL SOLENOID VALVE
The purge control solenoid valve is on the evaporation line between the canister and intake manifold. The valve is installed at the underside of intake manifold.





PRESSURE CONTROL SOLENOID VALVE
The fuel tank pressure control solenoid valve is located in the evaporation line between the canister and the fuel tank.
When the tank inside pressure becomes higher than the atmospheric pressure, the valve is opened allowing fuel vapors to be introduced into the canister.
On the other hand, when the tank inside pressure becomes lower than the atmospheric pressure, external air is taken from the drain valve into the canister.
The pressure control solenoid valve can also be electrically closed for the system diagnosis purposes.





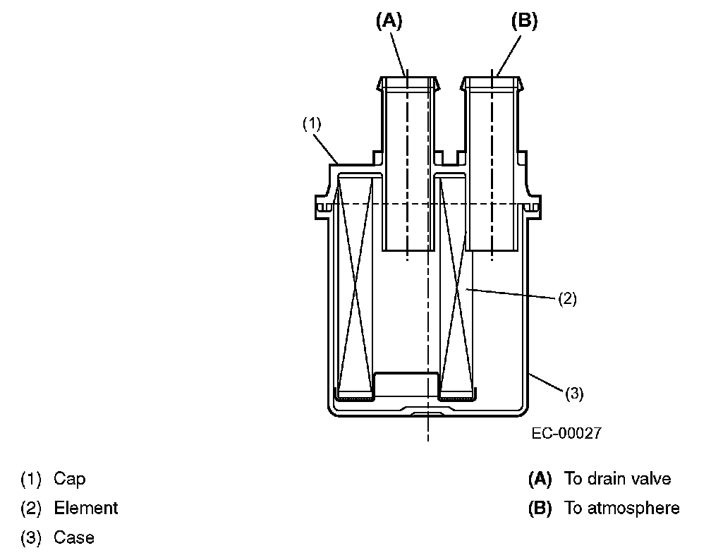
DRAIN FILTER
The drain filter is installed at the air inlet port of the vent control solenoid valve. It cleans the air taken in the canister through the vent control solenoid valve.





VENT VALVE
The vent valve is located in the fuel tank.During filling the fuel tank, fuel vapors are introduced into the canister through the vent valve.
When the fuel vapor pressure becomes higher than the atmospheric pressure and overcomes the spring force which is applied to the back side of the diaphragm, the port toward the canister is opened.The vent valve also has a float which rises and block the port toward the canister when the fuel is full.





SHUT-OFF VALVE
The shut-off valve is located at the top of the fuel filler pipe.When a filler gun is inserted into the filler pipe, the shut-off valve closes the evaporation line.





DRAIN VALVE
The drain valve is located on the line connecting the drain filter and canister, just below the drain filter.The drain valve is forcibly closed by a signal from the ECM while the evaporation system diagnosis is being conducted.





FUEL TANK SENSOR CONTROL VALVE
The fuel tank sensor control valve closes the passage from the fuel tank to the air when the OBD system is activated to make a diagnosis.