Operation CHARM: Car repair manuals for everyone.
Manuals through 2025 now available!

Our trusted friends have launched a new website named LEMON, which has newer manuals. It also contains all the CHARM manuals.

LEMON is the spiritual successor to CHARM, I recommend you try it!

Link: lemon-manuals.la or lemon-manuals.org.ua

(Some people have issue connecting. LEMON is investigating. For now, use Firefox or change your DNS server)

Or, hide this message: temporarily or permanently

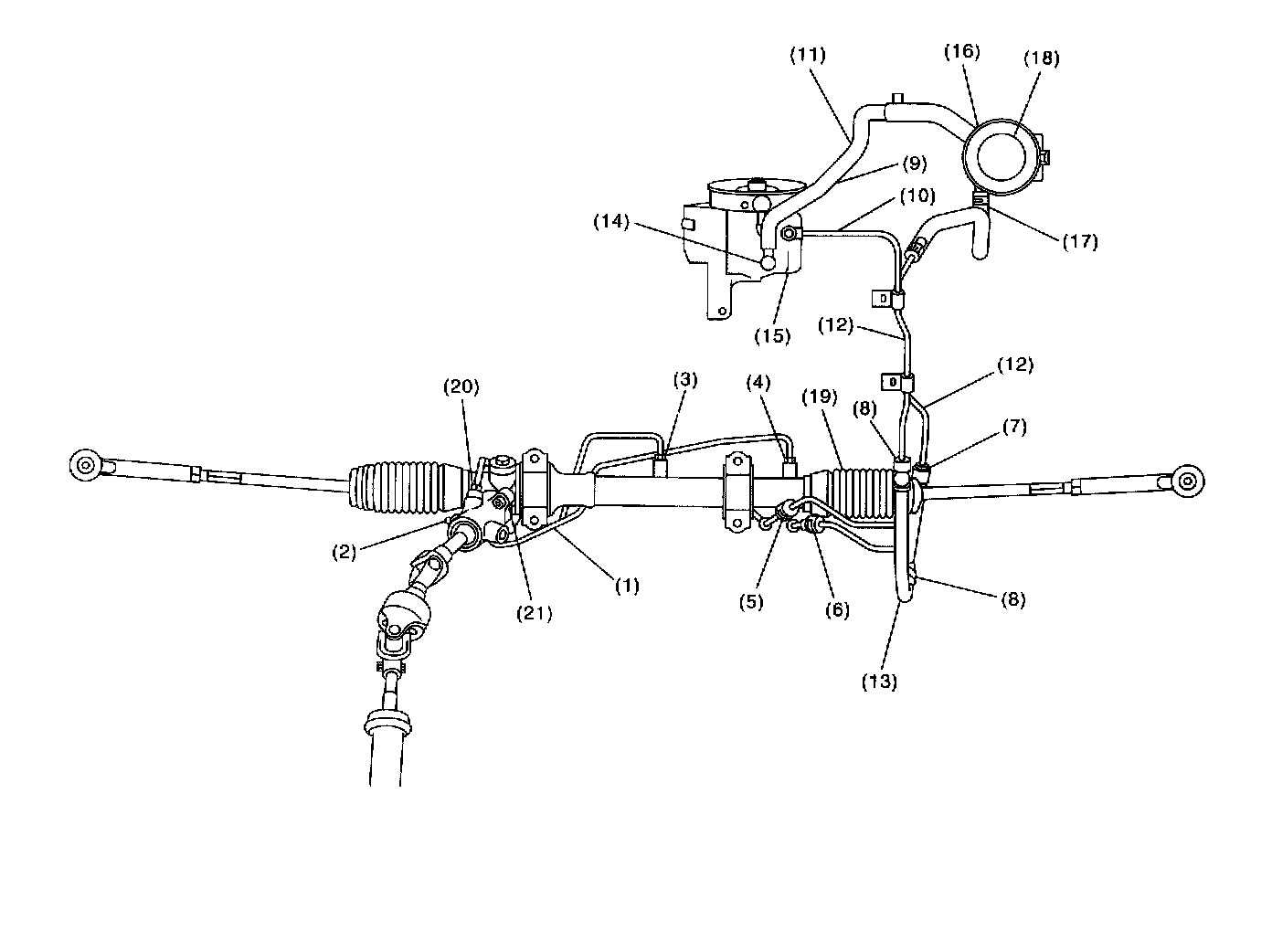
Power Steering Line/Hose: Service and Repair

Pipe Assembly

REMOVAL
1) Disconnect the ground cable from battery.





2) Lift-up the vehicle, and then remove the jack-up plate.





3) Remove the one pipe joint at the center of gearbox, and then connect the vinyl hose to pipe and joint. Discharge fluid by turning steering wheel fully clockwise and counterclockwise. Discharge fluid similarly from the other pipe.





4) Remove the clamp E from pipes C and D.





5) Disconnect the pipe C and D from gear box.
6) Remove the air intake duct.





7) Remove the bolt A.
8) Disconnect the pipe C from oil pump. Disconnect the pipe D from return hose.

CAUTION:
^ Do not allow fluid from the hose end to come into contact with pulley belt.
^ To prevent foreign matter from entering the hose and pipe, cover the open ends of them with a clean cloth.

INSTALLATION





1) Temporarily tighten the two bolts fixing pipe C and D. (bolt A)

NOTE: Visually check that the hose between tank and pipe D is free from bending or twisting.

1) Connect the pipe D to oil tank.
2) Using a new gasket, connect the pipe C to oil pump.
Tightening torque: 39 Nm (4.0 kgf-m, 28.9 ft. lbs.)
3) Tighten the two bolts fixing pipe C and D. (bolt A)
Tightening torque: 13 Nm (1.3 kgf-m, 9.4 ft. lbs.)





2) Temporarily connect the pipe C and D to gear box.





3) Temporarily install the clamp E on pipes C and D.

NOTE: Ensure the letter "8" on each clamp are diagonally opposite each other as shown in the figure.

4) Tighten the clamp E firmly.
Tightening torque: 7.4 Nm (0. 75 kgf-m, 5.4 ft. lbs.)
5) Tighten the joint nut.
Tightening torque: 15 Nm (1.5 kgf-m, 10.8 ft. lbs.)





6) Connect the pipes A and B to four pipe joints of gearbox. Connect the upper pipe B first, and lower pipe A second.
Tightening torque: 13 Nm (1.3 kgf-m, 9.4 ft. lbs.)
7) Install the jack-up plate.
8) Install the air intake duct, air cleaner upper cover and air intake boot.
9) Connect the battery ground cable to battery.





10) Feed the specified fluid.

CAUTION: Never start the engine before feeding the fluid; otherwise vane pump might be seized up.

11) Finally check clearance between pipes and/or hoses, as shown above.
Pipe-to-crossmember clearance: 10 mm (0.39 inch) or more.
If cruise control actuator-to-power steering hose clearance is less than 10 mm (0.39 inch), move the portion (A) secured by clamp to other portion, or bend portion (B) to adjust.

INSPECTION
Check all disassembled parts for wear, damage or other abnormalities Repair or replace faulty parts as required.





CAUTION: Although the surface layer materials of rubber hoses have excellent weathering resistance, heat resistance and resistance for low temperature brittleness, they are likely to be damaged chemically by brake fluid, battery electrolyte, engine oil and automatic transmission fluid and their service lives are to be very shortened. It is very important to keep the hoses free from before mentioned fluids and to wipe out immediately when the hoses are adhered with the fluids.

Since the resistances for heat or low temperature brittleness are gradually declining according to time accumulation of hot or cold conditions for the hoses and their service lives are shortening accordingly, it is necessary to perform the careful inspection frequently when the vehicle is used in hot weather areas, cold weather area and a driving condition in which many steering operations are required in short time.

Particularly, continuous work of relief valve over 5 seconds causes to reduce service lives of the hoses, the oil pump, the fluid, etc. due to over heat.





NOTE: It is likely that although one judges fluid leakage, there is actually no leakage. This is because the fluid spilt during the last maintenance was not completely wiped off. Be sure to wipe off spilt fluid thoroughly after maintenance.