Operation CHARM: Car repair manuals for everyone.
Manuals through 2025 now available!

Our trusted friends have launched a new website named LEMON, which has newer manuals. It also contains all the CHARM manuals.

LEMON is the spiritual successor to CHARM, I recommend you try it!

Link: lemon-manuals.la or lemon-manuals.org.ua

(Some people have issue connecting. LEMON is investigating. For now, use Firefox or change your DNS server)

Or, hide this message: temporarily or permanently

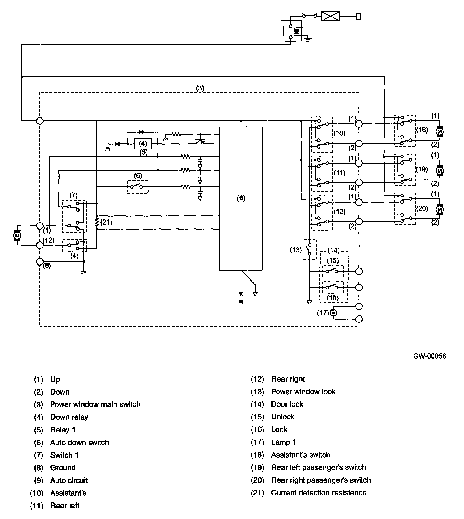
Windows: Description and Operation

Power Window

CONSTRUCTION


- The power window system consists of regulator motors and switches for individual doors, relays and a circuit breaker unit.
- Each door window opens/closes by pushing down/pulling up the switch.
- Only the driver's door window switch has a 2-stage mechanism:
- When the switch is pushed lightly and held in the pushed position, the window continues to lower until the switch is released.
- When the switch is pushed down fully, the window lowers to the end position automatically.

NOTE: For the sake of safety, the power window system is designed to operate only when the ignition switch is in the ON position.

Circuit Diagram:




CIRCUIT DIAGRAM