Operation CHARM: Car repair manuals for everyone.
Manuals through 2025 now available!

Our trusted friends have launched a new website named LEMON, which has newer manuals. It also contains all the CHARM manuals.

LEMON is the spiritual successor to CHARM, I recommend you try it!

Link: lemon-manuals.la or lemon-manuals.org.ua

(Some people have issue connecting. LEMON is investigating. For now, use Firefox or change your DNS server)

Or, hide this message: temporarily or permanently

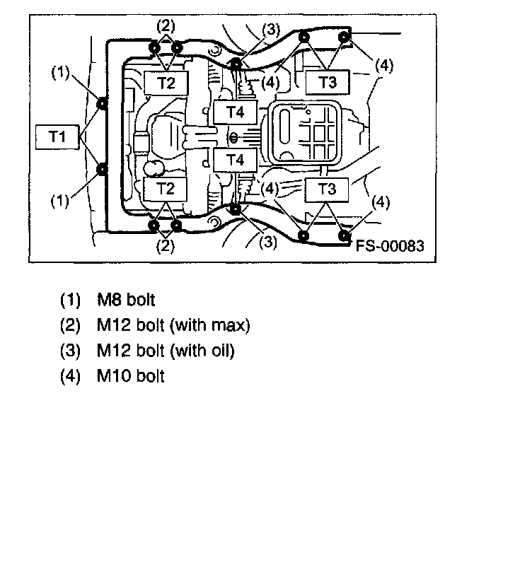
Sub Frame

Sub Frame

REMOVAL
1. Lift-up the vehicle.
2. Remove the under cover.





3. Remove the bolt cover.





4. Remove the clip.





5. Remove the sub frame.

NOTE: Loosen bolt (1) and leave a few threads caught, then remove the bolts in the order of (2), (3), (4), (5), and (6).

INSTALLATION





Install in the reverse order of removal.

NOTE: Replace the M12 bolt with a new one.

Tightening torque:
T1: 34 Nm (3.5 kgf-m, 25 ft. lbs.)
T2: 55 Nm (5.6 kgf-m, 41 ft. lbs.)
T3: 71 Nm (7.2 kgf-m, 52 ft. lbs.)
T4: 105 Nm (10.7 kgf-m, 77 ft. lbs.)

INSPECTION
1. Check that there is no damage and distortion at the sub frame.
2. Check that the bolts are tightened with the specified torque. If there is looseness, tighten to the specified torque.

NOTE: The tightening torque differs by the color for bolt (3). Always verify the bolt color before checking tightening torque.





Tightening torque:
T1: 34 Nm (3.5 kgf-m, 25 ft. lbs.)
T2: 55 Nm (5.6 kgf-m, 41 ft. lbs.)
T3: 71 Nm (7.2 kgf-m, 52 ft. lbs.)
T4: Dark green bolt 105 Nm (10.7 kgf-m, 77 ft. lbs.)
T4: Except dark green bolt 55 Nm (5.6 kgf-m, 41 ft. lbs.)